Siirry sisaltoon
在4200

Paineenalennusventtiili AT 4200, 4201, 4205, 4206

paineenalenusventtiili valurautaa, toisiopaineelle 1,5-6 bar, laipoin PN16。Paineenalentamiseen vedelle, ilmalle ja muille neutraaleille kaasuille sekä nesteille kunnallisissa ja teolisissa putkistoissa。Soveltuu myös suurille ilma määrille。

Nimelliskoot Dn 50 - 200
PN 16/25
Lampotila-alue max + 70°C
Materiaali Valurauta / pallograf.valurauta

Tuotetiedot

Kayttokohteet

我很高兴见到你。

Laadunvarmistus

CE-merkinta
Direktiivin mukaan 97/23/EC ja AFS 1999:4 8§venttiileitä ei tarvitse CE-merkintä。

Kaytto sallittu:
- vesille ja muille nesteille ryhmä
- ilmalle ja muille kaasuille ryhmä 2 pätee:
paine (bar) x DN = 1000。

Esim。
10bar x DN 100≤1000,
eli ilmalle 10 bar DN100-venttiili on hyväksytty。

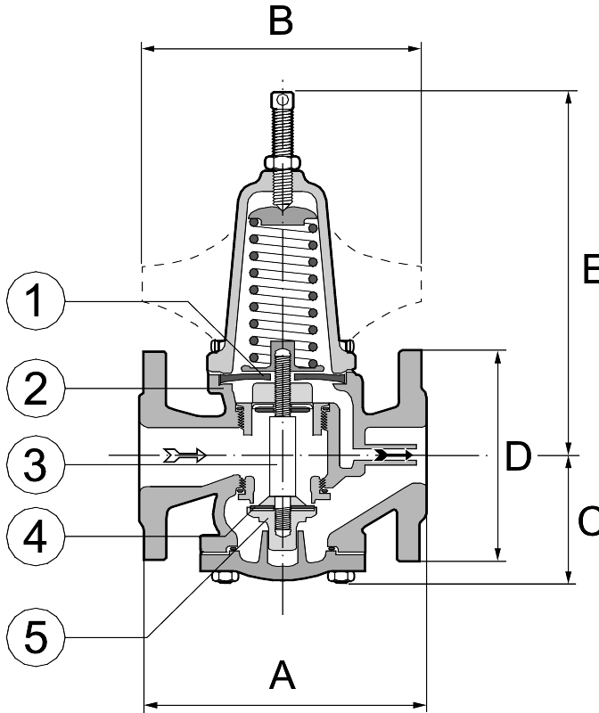
Osaluettelo

在4200年,4201年 在4205年,4206年
1 Pesa valurauta EN-JL 1040 pallograf。valurauta EN-JL 1030
2 Lautanen DN 50 messinki CuZn39Pb3 messinki CuZn39Pb3
Lautanen DN 65 - 200 valurauta EN-GLJ 200 valurauta EN-GJL 200
3. Lautasen tiiviste nitriilikumi NBR nitriilikumi NBR
4 Kalvo 三元乙丙橡胶 三元乙丙橡胶
5 喀拉海 畸胎圣50.1 畸胎St50.1

Mitat ja painot

DN 50 65 80 One hundred. 125 150 200
一个 230 290 310 350 400 480 600
B马克斯 在4200年,4205年 330 370 400 470 580 660 1340
在4201年,4206年 330 410 450 550 650 750 1430
C 106 126 154 183 210 248 305
D 在4201年,4206年 192 260 295 410 440 510 780
E 在4200年,4201年 165 185 200 220 250 285 340
在4205年,4206年 165 185 200 235 270 300 375
非我意 在4200年,4205年 16日,2 28日,2 41岁的5 67 103 150 408
在4201年,4206年 21 37 54 87年,5 135 196 580
米特毫米,帕诺公斤。

Toiminta ja rakenne

Lautanen在keventy, joka takaa vakaan toisiopaineen myös tulopaineen vaihdellessa。Ventiili pysyy tiiviinä ja toisiopaine vakiona myös virtauksen lakatessa。Ventiilin rungossa on kaksi toisiopaineen mittausliitäntää (DN50: G1/8" ja DN65-200 G½")。Sopiva painemittari AT4258, tilattava erikseen。

Tekniset tiedot

潘恩ja lampotila
在4200 在4201 在4205 在4206
Tulopaine max。酒吧g 16 16 25 25
Lahtopaine min.-max。酒吧g 1, 5 - 8 0, 2 - 2 1, 5 - 8 0, 2 - 2
Alennussuhde max。 10:1 20:1 10:1 20:1
Tulo- ja lähtöpaineen tarvittava minimipaine-ero酒吧 1、5 1 1、5 1
Lampotila max。°C 70 70 70 70

Mitoitus

Venttiilikoon valintaan pätee seuraavat:
Useimmissa tapauksissa on sopivinta valita venttiili putkikoon mukaan (olettaen, että se on oikean kokoinen)。Sopiva venttiilikoko saadaan oheisesta käyrästöstä。Harmaat alueet väleillä 1-2 ja 10-20米/秒kuvaa väliaineen sopivia virtausnopeuksia putkistossa。Ilmalle tilavuus ilmoitettu käyttöpaineessa。

Tarvittaessa kapasiteetti saadaan normikuutioina (Nm³)kertomalla käyrän arvo toisiopuolen paineella (bar a)。
Kapasiteettikäyrästö在vedelle ja ilmalle上。
Mitoittamiseen ilman putkikokoa voidan käyttää seuravia arvoja:

Lisavarusteet ja vaihtoehdot

Painemittari享年4258岁。

Huolto ja varaosat

文蒂里尔saatavana varaosina korjaussarja ja kalvo

Merkinat

Valmistaja, koko, paineluokka, materiaali ja virtaussuunta。

Tilauskoodi

Esim: 4200 - 50
在4200 -50年
在不。 DN
节。Tekniset tiedot

Yhteyshenkilo

Reijo Haikio

Myyntijohtaja, teolisuus -行业高级销售总监

+ 358 400 415034
reijo.haikio (at) armatec.com

阿基Siitari

Aluepäällikkö, teolisuus, Itä-Suomi -东芬兰工业区域销售经理

+358 40 727 2997
aki.siitari (at) armatec.com

罗伊Lansilahti

Aluepäällikkö, teolisuus, Etelä-Suomi -南芬兰工业区域销售经理

+358 40 750 5233
roy.lansilahti (at) armatec.com