Lämmitysveden, kuumaveden, jäähdytysveden, petrolituotteiden, neutralaliennesteiden ja höyryn mekaaninen puhdistaminen。
| Nimelliskoot | Dn 15 - 400 |
|---|---|
| PN | 10/16/25 |
| Lampotila-alue | -10°c - 350°c |
| Materiaali | ValurautaPallografiittivalurauta |
| 在4028 b | 在4029 b | |
|---|---|---|
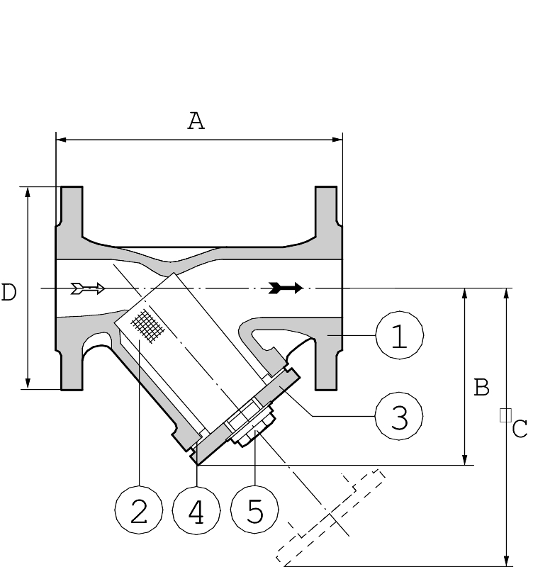
| 1 Pesa | valurauta en - gjl - 250 | pallografiittivalurauta en 400 - 18 - lt -数次 |
| 2 Suodatinelementti | haponkestava畸胎 | haponkestava畸胎 |
| X5CrNi18-10 (1.4301) | X5CrNi18-10 (1.4301) | |
| 3 Kansi | valurauta en - gjl - 250 | pallografiittivalurauta en 400 - 18 - lp -数次 |
| 4 Kannen tiiviste | grafiitti | grafiitti CrNiSt |
5 Tyhjennystulppa / paine-eron mittaus |
畸胎C35E | 畸胎C35E |
| DN | 15 | 20. | 25 | 32 | 40 | 50 | 65 | 80 | One hundred. | 125 | 150 | 200 | 250 | 300 | 350 | 400 | ||||||||||||||||||
|---|---|---|---|---|---|---|---|---|---|---|---|---|---|---|---|---|---|---|---|---|---|---|---|---|---|---|---|---|---|---|---|---|---|---|
| 一个 | 130 | 150 | 160 | 180 | 200 | 230 | 290 | 310 | 350 | 400 | 480 | 600 | 730 | 850 | 980 | 1100 |
||||||||||||||||||
| B | 90 | One hundred. | 115 | 135 | 150 | 155 | 175 | 205 | 235 | 280 | 320 | 405 | 540 | 680 | 755 | 835 | ||||||||||||||||||
| C | 135 | 150 | 180 | 215 | 240 | 250 | 285 | 330 | 365 | 425 | 480 | 610 | 915 | 1110 | 1200 | 1320 | ||||||||||||||||||
| D 4028 b | 95 | 105 | 115 | 140 | 150 | 165 | 185 | 200 | 220 | 250 | 285 | 340 | 405 | 460 | 520 | 580 | ||||||||||||||||||
| D 4029 b | 95 | 105 | 115 | 140 | 150 | 165 | 185 | 200 | 220 | 250 | 285 | 340 | 405 | 460 | - | - | ||||||||||||||||||
| Tyhjennystulpan可可 | G3/8 | G3/8 | G3/4 | G3/4 | G1 | G1 | G1 | G1 | G1/2 | G1/2 | G1/2 | G1/2 | G1/2 | G1/2 | G1 | G1 | ||||||||||||||||||
| Paine-eron mittaus | G1/4 | G1/4 | G1/4 | G1/4 | G3/8 | G3/8 | G3/8 | G3/8 | G3/8 | G3/8 | G3/8 | G3/8 | G3/8 | G3/8 | G3/8 | G3/8 | ||||||||||||||||||
| Suodatinelementin korkeus | 56 | 68 | 82 | 98 | 114 | 119 | 134 | 149 | 169 | 199 | 224 | 284 | 434 | 555 | 640 | 695 | ||||||||||||||||||
| Suodatinelementin halkaisija | 23 | 28 | 36 | 42 | 50 | 61年,5 | 78年,5 | 89年,5 | 110 | 138 | 160 | 210 | 258 | 308 | 365 | 415 | ||||||||||||||||||
| Kannen tiiviste Dy | 46 | 46 | 56 | 68 | 79 | 87 | 102 | 122 | 151 | 186 | 206 | 300 | 300 | 375 | 425 | 475 | ||||||||||||||||||
| Kannen tiiviste,迪 | 36 | 36 | 46 | 56 | 68 | 75 | 90 | 110 | 135 | 170 | 190 | 275 | 275 | 350 | 390 | 440 | ||||||||||||||||||
| 在4028 b非我意 | 2,6 | 3, 0 | 4、3 | 6、8 | 8、8 | 11日0 | 14日,6 | 18日,6 | 34岁,0 | 42岁的5 | 56岁的0 | 110 | 165 | 285 | 373 | 461 | ||||||||||||||||||
| 在4029 b非我意 | 2,6 | 3, 0 | 4、3 | 6、8 | 9日0 | 11日0 | 14日,6 | 18日,6 | 32岁,5 | 39岁,2 | 52岁的2 | 102年,7 | 165 | 285 | - | - | ||||||||||||||||||
| 米特毫米,帕诺公斤。 | ||||||||||||||||||||||||||||||||||
| DN | 15 | 20. | 25 | 32 | 40 | 50 | 65 | 80 | One hundred. | 125 | 150 | 200 | 250 | 300 | 350 | 400 | ||||||||||||||||||
|---|---|---|---|---|---|---|---|---|---|---|---|---|---|---|---|---|---|---|---|---|---|---|---|---|---|---|---|---|---|---|---|---|---|---|
| 一个 | 130 | 150 | 160 | 180 | 200 | 230 | 290 | 310 | 350 | 400 | 480 | 600 | 730 | 850 | 980 | 1100 |
||||||||||||||||||
| B | 90 | One hundred. | 115 | 135 | 150 | 160 | 180 | 215 | 275 | 325 | 397 | 535 | 670 | 680 | 755 | 835 | ||||||||||||||||||
| C | 135 | 150 | 180 | 215 | 240 | 250 | 285 | 330 | 365 | 425 | 480 | 610 | 915 | 1110 | 1200 | 1320 | ||||||||||||||||||
| D 4028 b | 95 | 105 | 115 | 140 | 150 | 165 | 185 | 200 | 220 | 250 | 285 | 340 | 405 | 460 | 520 | 580 | ||||||||||||||||||
| D 4029 b | 95 | 105 | 115 | 140 | 150 | 165 | 185 | 200 | 220 | 250 | 285 | 340 | 405 | - | - | - | ||||||||||||||||||
| Tyhjennystulpan可可 | G3/8 | G3/8 | G3/8 | G3/8 | G3/8 | G3/8 | G1/2 | G1/2 | G11/2 | G11/2 | G11/2 | G11/2 | G11/2 | G11/2 | G11/2 | G11/2 | ||||||||||||||||||
| Paine-eron mittaus | G1/4 | G1/4 | G1/4 | G1/4 | G3/8 | G3/8 | G3/8 | G3/8 | G3/8 | G3/8 | G3/8 | G3/8 | G3/8 | G3/8 | G3/8 | G3/8 | ||||||||||||||||||
| Suodatinelementin korkeus | 56 | 68 | 82 | 98 | 114 | 119 | 134 | 149 | 169 | 199 | 224 | 284 | 434 | 555 | 640 | 695 | ||||||||||||||||||
| Suodatinelementin halkaisija | 23 | 28 | 36 | 42 | 50 | 62 | 79 | 90 | 109年,5 | 137年,5 | 160 | 210 | 258 | 308 | 365 | 415 | ||||||||||||||||||
| Kannen tiiviste Dy | 46 | 46 | 56 | 68 | 79 | 87 | 112 | 122 | 135 | 170 | 195 | 300/270 * | 300 | 375 | 425 | 475 | ||||||||||||||||||
| Kannen tiiviste,迪 | 36 | 36 | 46 | 56 | 68 | 75 | One hundred. | 110 | 120 | 170 | 175 | 275/245 * | 275 | 350 | 390 | 440 | ||||||||||||||||||
| 在4028 b非我意 | 2,6 | 3, 0 | 4、3 | 6、8 | 8、8 | 11日0 | 16日8 | 19日,5 | 27日0 | 38岁的5 | 54岁的5 | 110 | 165 | 285 | 373 | 461 | ||||||||||||||||||
| 在4029 b非我意 | 2,6 | 3, 0 | 4、3 | 6、8 | 9日0 | 10、7 | 16日,1 | 18日,2 | 27日0 | 38岁的5 | 54岁的5 | 102年,7 | 165 | 285 | - | - | ||||||||||||||||||
| 米特毫米,帕诺公斤。 | ||||||||||||||||||||||||||||||||||
| 潘恩ja lampotila DIN EN 1092- 2:20 97 mukaan seuraavat maksimiarvot: |
||||||
| 在4028b, pn 16 | 在4029b, pn 25* | |||||
| 最小/最大kayttolampotila | Max。kayttopaine | 最小/最大kayttolampotila | Max。kayttopaine | |||
|---|---|---|---|---|---|---|
| °C | 酒吧 | °C | 酒吧 | |||
| -10 | 16 | -10 | 25 | |||
| 120 | 16 | 120 | 25 | |||
| 150 | 14日4 | 150 | 24日,3 | |||
| 180 | 13、4 | |||||
| 200 | 12日8 | 200 | 23 | |||
| 230 | 11日8 | |||||
| 250 | 11日,2 | 250 | 21日8 | |||
| 300 | 9日,6 | 300 | 20. | |||
| 350 | 17日,5 | |||||
| *) Huom !在4029b pn 16, dn 65-300 | ||||||
Vakiona silmäkoko 0.6毫米。Voidaan myös toimittaa seuravia silmäkokoja 0,1/0,25/0,5/1,0/1,5/2,0/3,0/5,0 ja 8,0 mm。Voidaan varustaa kestomagneetilla。
Painehäviön mittaamiseen kokoluokissa DN 15-32 on G 1/4 liitäntä ja suurremmissa G 3/8 liitäntä。节。在1812年。Jäähdytysjärjestelmiin asennettavat mudanerottimet voidan ruostesuojata AT 1012 menetelmällä。
Voimakkaasti noussut painehäviö osoittaa suodatinelemin puhditustarpeen。
Suodatinelementti AT 4028AF ja kannentiiviste AT 4028AL varaosina。
DN, PN, valmistaja sekä virtaussuuntaa osoittava nuoli。
Valussa oleva merkinta:
-在4028b, jl 1040
-第4029b号,js1030
| b50 Esimerkki: 4028 | ||
| DN | AT-numero | |
|---|---|---|
| 15 | 4028年去往b15 | |
| 20. | 4028年b20 | |
| 25 | 4028年b25 | |
| 32 | 4028 b32 | |
| 40 | 4028年3 | |
| 50 | 4028年b50 | |
| 65 | 4028年b65 | |
| 80 | 4028年b80 | |
| One hundred. | 4028年b100 | |
| 125 | 4028年b125 | |
| 150 | 4028年b150 | |
| 200 | 4028年b200 | |
| 250 | 4028年b250 | |
| 300 | 4028年计算机 |
Aluepäällikkö, teolisuus, Itä-Suomi -东芬兰工业区域销售经理
Aluepäällikkö, teolisuus, Etelä-Suomi -南芬兰工业区域销售经理