Sihi Flertrinspumper Er Horisontale Centrifugugalpumper Med Sektionstrins设计,Sommøderdekniskeforeskrifter i ISO 5199 / EN 25199.PumperneER Modulopbyggede在Reducere Antallet AF ReserveDelPåforskelligeStørrelser。Disse Pumper Egner Til enrækkeforskellige加工器som f。eks .:fødevand,trykstigning,højtryksvask&kondensat m.m.
| 尺寸område. | 最大450m³/ h |
|---|---|
| PN. | 40 |
| 温度råde | -10到+180ºC |
| 草本子 | støbejern,sejjern&rustfrit |
Sihi Flertrinspumper Er Horisontale Centrifugugalpumper Med Sektionstrins设计,Sommøderdekniskeforeskrifter i ISO 5199 / EN 25199.PumperneER Modulopbyggede在Reducere Antallet AF ReserveDelPåforskelligeStørrelser。Disse Pumper Egner Til enrækkeforskellige加工器som f。eks .:fødevand,trykstigning,højtryksvask&kondensat m.m.
pumperne er cemærketiht。MaskIndirektivet.
| størelse. | DN2. | DN1. | F | TS. | 一个 | H1. | H2. | B. | S. | M2 | M3 | n1. | N2. | D2 | I6 | D1 | I1 | T. | 你 |
|---|---|---|---|---|---|---|---|---|---|---|---|---|---|---|---|---|---|---|---|
| 32. | 32. | 80 | 410. | 24. | 165. | 175. | 70 | 20. | 30. | 45. | 335. | 300 | 14. | 380. | 28. | 60. | 31. | 8. | |
| 50. | 50. | 100. | 415. | 36. | 185. | 200. | 70 | 20. | 30. | 45. | 335. | 300 | 14. | 385. | 28. | 60. | 31. | 8. | |
| 65. | 65. | 125. | 510. | 38. | 39. | 230. | 250. | 88. | 25. | 35. | 60. | 380. | 320. | 19. | 490. | 40 | 110. | 43. | 12. |
| 100. | 100. | 150. | 520. | 37. | 33. | 285. | 320. | 88. | 25. | 35. | 60. | 380. | 320. | 19. | 485. | 40 | 110. | 43. | 12. |
| 125. | 125. | 150. | 649. | 51,5. | 320. | 365. | 97. | 30. | 40 | 75. | 410. | 350. | 24. | 609. | 70 | 166. | 74,5. | 20. | |
| 150. | 150. | 200. | 660. | 39. | 365. | 450. | 115. | 30. | 70 | 110. | 490. | 410. | 30. | 660. | 55. | 167. | 59. | 16. |
| størelse. | 32. | 第1列 | 50. | 第2栏 | 65. | 第3栏 | 100. | 第4栏 | 125. | 柱5. | 150. |
第6栏 |
|---|---|---|---|---|---|---|---|---|---|---|---|---|
| tr | 一种 | M4 | 一种 | M4 | 一种 | M4 | 一种 | M4 | 一种 | M4 | 一种 | M4 |
| 2 | 150. | 120. | 175. | 135. | 260. | 180. | 305. | 225. | 380. | 340. | 380. | 270. |
| 3. | 195 | 165. | 230. | 190 | 330. | 250. | 390. | 310. | 490. | 450. | 505. | 395. |
| 4. | 240. | 210. | 285. | 245. | 400. | 320. | 475. | 395. | 600 | 560. | 630. | 520. |
| 5. | 285. | 255. | 340. | 300 | 470. | 390. | 560. | 480. | 710. | 670. | 755. | 645. |
| 6. | 330. | 300 | 395. | 355. | 540. | 460. | 645. | 565. | 820. | 780. | 880. | 770. |
| 7. | 375. | 345. | 450. | 410. | 610. | 530. | 730. | 650. | 930. | 890. | 1005. | 895. |
| 8. | 420. | 390. | 505. | 465. | 680. | 600 | 815. | 735. | 1040. | 1000 | 1130. | 1020. |
| 9. | 465. | 435. | 560. | 520. | 750. | 670. | 900 | 820. | 1150. | 1110. | 1255. | 1145. |
| 10. | 510. | 480. | 615. | 575. | 820. | 740. | 985. | 905. | 1260. | 1220. | ||
| 11. | 555. | 525. | 670. | 630. | 890. | 810. | 1070. | 990 | 1370. | 1330. | ||
| 12. | 600 | 570. | 725. | 685. | 960. | 880. | 1155. | 1075. | 1480. | 1440. | ||
| 13. | 645. | 615. | 780. | 740. | 1030. | 950. | 1240. | 1160. | ||||
| 14. | 690 | 660. | 835. | 795. | ||||||||
| 15. | 735. | 705. | 890. | 850. |
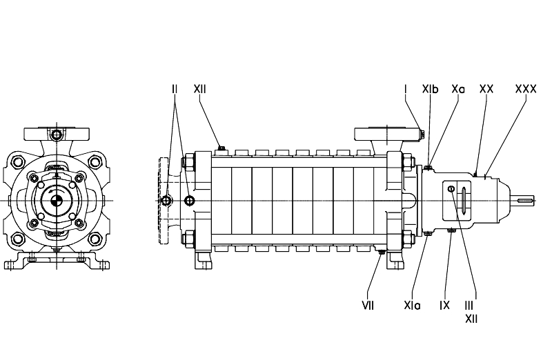
| p | Tilslutning. | 32/50 |
65/100. |
|---|---|---|---|
| 一世 | trykmåler* | G 1/2 | G 1/2 |
| II | trykmåler* | G 1/2 | G 1/2 |
| III | 通风 * | G 1/4 | G 1/4 |
| vii. | Dræn* | G 1/4 | G 1/2 |
| IX. | Dræn* | G 3/8 | G 3/4 |
| XA. | 刺激 | G 1/4 | G 1/4 |
| xia. | KölingTætningIndløb. | G 3/8 | G 1/2 |
| XIB. | kølingtætningudløb. | G 3/8 | G 1/2 |
| XII. | 楔形 | G 1/4 | G 1/4 |
| XX. | Smørrenipel. | M6 | M6 |
| XXX. | 振动(HVIS monteret) | ||
| * gevind. |