Säkerhetsventil med höglyftande karaktäristik。Flansade anslutningar。Av segjärn eller stål。Metalliskt tatande kagla。DN20/40-200/300 PN16-40。
| Dimensionsomrade | DN 20-200. |
|---|---|
| PN | 40 |
| Temperaturomrade | -85°C至+450°C |
| 材料 | Segjarn,“斯太尔 |
| Artikelnummer | Husmaterial | DN. | PN | Öppningstryck(Barg) | Antal | ||
|---|---|---|---|---|---|---|---|
| 在4550 | “斯太尔 | 20-200 | 40/25 | 0,1-40(25) | Forfragan | Forfragan | 优惠 |
Sakerhetsventil anga种族。
ejlämpligsomÖverströmningsventil。
DN125 och DN150 tillverkas ej i segjärn。Välj stål eller AT4541 med tät fjäderkåpa (se separat producktblad)。
巴黎圣日耳曼。11 Sakerhetsventil
SäkerhetsventilFörÅnga在4550,DN ...,Höglyftande,PN40。
Öppningstryck:...酒吧。
Typ-Och KapacitetsProvad AVTÜVoch eTT Flertal Andra器官。
Uppfyller krav enlight ISO 4126。
INTYG ENGIGT EN 10204,典型2 och 3。
Typ av intyg ange vid beställning。
CE-Märkning.
Ventilen upppfyller kraven i AFS 2016:1 (direktivet för tryckbärande anordningar) samt 2014/68/EU(压力设备指令),enlight kategori IV, fluidgroup 1 och 2。
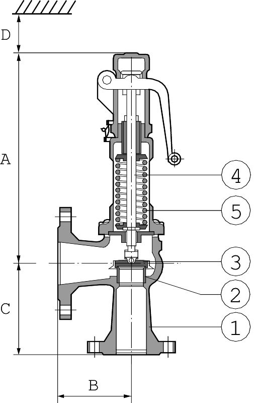
| 1 | Ventilhus | 0.7043 / GR.60-40-18 /SEGJÄRNresp。1.0619 / SA 216 WCB /Stål |
| 2 | Säte. | 1.4404/316 l |
| 3. | Kagla | 1.4122 /härdatrostfrittstål |
| 4. | 斯宾德尔 | 1.4021/420 |
| 5. | Fjader | 1.1200, 1.8159, 1.7102 / kolstal |
| 5. | fjäder(vid temp> 200grc) | 1.4310 / rostfritt“斯太尔 |
| 6. | 斯特塞克里亚 | 1.4104 tenifer / kromstal tenifer |
| 7. | Fjaderkapa | 0.7040,0.7043,1.0619 /segjärngr.60-40-18,SA 216 WCB /Stål |
| 8. | Fjadertallrik 2圣 | 1.0718 /“斯太尔 |
| 9. | Ställskruv. | 1.4104 PTFE /KROMSTÅLPTFE |
| 10 | kula. | 1.3541 / hardat rostfritt“斯太尔 |
| 11 | Lattverk (3) | 1.0718, 0.7043/12L13 eller Gr.60-40-18 |
| dn inlopp. | 20. | 25 | 32 | 40 | 50 | 65 | 80 | One hundred. | 125 | 150 | 200. | |||||||||||
| DN Utlopp | 40 | 40 | 50 | 65 | 80 | One hundred. | 125 | 150 | 200. | 250 | 300 | |||||||||||
| Satesdiameter | 18 | 23 | 29 | 37 | 46 | 60 | 74 | 92 | 98 | 125 | 165 | |||||||||||
| 一种 | 219 | 234 | 331 | 372 | 419. | 529. | 606. | 663. | 663. | 798. | 1090. | |||||||||||
| * medveckbälg | 252 | 273 | 373 | 410. | 465 | 599 | 665. | 719. | 719. | 856. | 1090. | |||||||||||
| B. | 95 | One hundred. | 110 | 115 | 120 | 140 | 160 | 180 | 200. | 225 | 300 | |||||||||||
| C | 85 | 105 | 115 | 140 | 150 | 170 | 195 | 220 | 250 | 285 | 290 | |||||||||||
| D. | 150 | 150 | 200. | 250 | 300 | 350 | 400 | 450 | 450 | 450 | 700 | |||||||||||
| Vikt | 9. | 9. | 12 | 16 | 22 | 32 | 56 | 75 | 85 | 131 | 285 | |||||||||||
| * Vikt地中海veckbalg | 9日4 | 10 | 13 | 17 | 24 | 36 | 60 | 83 | 93 | 142 | 289 | |||||||||||
| Mått i mm och vikt i kg * För veckbälgsförsedda ventiler med slutna fjäderkåpor se separat producktblad AT4547, 4548 |
||||||||||||||||||||||
Höglyftande, direktverkande fjäderbelastad säkerhetsventil vid ånga。
EJLÄMPLIGFÖRVÄTSKORoch GARERPGAÖPPENFJÄDERKÅPA,VARS UPPGIFT att Att Ventilera och KylaFjädernFjädernFrånHetaÅngan。
StorAvblåsningskapacitetGenomAttKäglanÄRFörsedddMedLyftkrage。
MedÖppetLättverkFörManuellPrunning。
MetallisktTätandeKägla。
Tryckstegring
Säkerhetsventilen är full öppen vid ett tryck som överstiger öppningstrycket med max 5%, vid ånga。
För öppningstryck lägre än 1,0 bar gäller tryckstegring, öppningstryck +0,1 bar。
Vid krav på lägre tryckstegring kontakta Armatec。
| Anga种族: | 最多10%VidÖppningtryckfr o m 3,0 bar | |
| Max 0,3 BarVidÖppningStryckLägreÄn3,0酒吧 | ||
| Vid KravPåLägreNedblåsningKontaktaArmatec。 | ||
| 在4550ggg(Segjärn) | 在4550年(“斯太尔) | |||||||||||
|---|---|---|---|---|---|---|---|---|---|---|---|---|
| Oppningstryck max。 | Temp。 | Oppningstryck max。 | Temp。 | |||||||||
| DN. | 酒吧 | -60°C到+ 350°C | 酒吧 | -85°C直到+ 450°C | ||||||||
| 20. | 29 | 32 | ||||||||||
| 25 | 29 | 32 | ||||||||||
| 32 | 29 | 32 | ||||||||||
| 40 | 29 | 32 | ||||||||||
| 50 | 29 | 32 | ||||||||||
| 65 | 29 | 32 | ||||||||||
| 80 | 29 | 32 | ||||||||||
| One hundred. | 29 | 32 | ||||||||||
| 125 | 16 | 28 | ||||||||||
| 150 | 16 | 17 (25) | ||||||||||
| 200. | 20(25) | 20(25) | ||||||||||
FördelikaVentilmaterialenGällertryck- ochcemperaturgränserennigtgällandenarmer |
||||||||||||
| AT4550ÄRMetallisktTätande。 FörMjuktätandeVentilVälj在4542/4545/4581。 se seconat produktblad。 |
量纲后给出förutsättningar översändes på begäran。
Uppge Kapacitet / Effekt,温度(VidÖverhettadÅnga)OchÖppningStryck。
FörandrabluiderÄnÅngaSeseconat produktblad AT4541-Serien。
Med bar menas bar övertryck。
Detta likställs med bar(ö), barg, bar(e), atö eller kg/cm2Om Inget Annat Anges。
Kapacitetskoefficient ånga/gas αd D/G
0,7.
Kapacitetskoefdiodvätskorαdf
0,45
Satesdiameter, semåttoch vikt.
| DN. | 20. | 25 | 32 | 40 | 50 | 65 | 80 | One hundred. | ||||||||||||||||||||||||||||||||||||||||||||||
|---|---|---|---|---|---|---|---|---|---|---|---|---|---|---|---|---|---|---|---|---|---|---|---|---|---|---|---|---|---|---|---|---|---|---|---|---|---|---|---|---|---|---|---|---|---|---|---|---|---|---|---|---|---|---|
| Säte. | 18毫米 | 23毫米 | 29毫米 | 37毫米 | 46毫米 | 60毫米 | 74毫米 | 92毫米 | ||||||||||||||||||||||||||||||||||||||||||||||
| 阿宝 | ||||||||||||||||||||||||||||||||||||||||||||||||||||||
酒吧 |
Anga种族 | Anga种族 | Anga种族 | Anga种族 | Anga种族 | Anga种族 | Anga种族 | Anga种族 | ||||||||||||||||||||||||||||||||||||||||||||||
| 0,2 | 93 | 152 | 241 | 393 | 608. | 1033. | 1567 | 2422. | ||||||||||||||||||||||||||||||||||||||||||||||
| 0,5 | 144 | 236 | 374 | 610. | 943. | 1600 | 2433 | 3767 | ||||||||||||||||||||||||||||||||||||||||||||||
| 1 | 210 | 342 | 544. | 887. | 1367 | 2322 | 3544. | 5478 | ||||||||||||||||||||||||||||||||||||||||||||||
| 2 | 336 | 548. | 870. | 1411 | 2189. | 3722 | 5667 | 8756 | ||||||||||||||||||||||||||||||||||||||||||||||
| 3. | 451 | 737. | 1167. | 1900 | 2944 | 5011 | 7622 | 11778 | ||||||||||||||||||||||||||||||||||||||||||||||
| 4. | 563. | 919. | 1456. | 2378 | 3667 | 6244 | 9511 | 14667 | ||||||||||||||||||||||||||||||||||||||||||||||
| 5. | 674. | 1100 | 1744 | 2844 | 4400. | 7489 | 11333. | 17556 | ||||||||||||||||||||||||||||||||||||||||||||||
| 6. | 784. | 1278. | 2033. | 3311 | 5122 | 8711. | 13222 | 20444. | ||||||||||||||||||||||||||||||||||||||||||||||
| 7. | 896. | 1456. | 2322 | 3778 | 5844. | 9944 | 15111 | 23333 | ||||||||||||||||||||||||||||||||||||||||||||||
| 8. | 1006. | 1633 | 2600 | 4244 | 6567 | 11111. | 16889 | 26222 | ||||||||||||||||||||||||||||||||||||||||||||||
| 9. | 1111. | 1811 | 2889 | 4711 | 7278 | 12333 | 18778 | 29111 | ||||||||||||||||||||||||||||||||||||||||||||||
| 10 | 1222. | 2000年 | 3178 | 5178 | 8000 | 13556 | 20667年 | 32000. | ||||||||||||||||||||||||||||||||||||||||||||||
| 12 | 1440 | 2356. | 3744 | 6100 | 9433 | 16000 | 24333 | 37667 | ||||||||||||||||||||||||||||||||||||||||||||||
| 14 | 1656 | 2711 | 4322 | 7033 | 10867 | 18444年 | 28111 | 43444 | ||||||||||||||||||||||||||||||||||||||||||||||
| 16 | 1878 | 3078 | 4889. | 7967 | 12222 | 20889 | 31778 | 49222 | ||||||||||||||||||||||||||||||||||||||||||||||
| 18 | 2100. | 3433. | 5456 | 8889 | 13667 | 23333 | 35556. | 55000. | ||||||||||||||||||||||||||||||||||||||||||||||
| 20. | 2322 | 3789 | 6033 | 9822 | 15111 | 25778 | 39222 | 60667 | ||||||||||||||||||||||||||||||||||||||||||||||
| 22 | 2544 | 4156 | 6611. | 10756. | 16556 | 28222 | 43000. | 66556 | ||||||||||||||||||||||||||||||||||||||||||||||
| 24 | 2767 | 4522 | 7189 | 11667. | 18000. | 30778 | 46778 | 72333 | ||||||||||||||||||||||||||||||||||||||||||||||
| 26 | 2989 | 4878 | 7767. | 12556. | 19444年 | 33222 | 50556 | 78222 | ||||||||||||||||||||||||||||||||||||||||||||||
| 28 | 3211 | 5244 | 8344 | 13556 | 21000. | 35667 | 54333 | 84000 | ||||||||||||||||||||||||||||||||||||||||||||||
| 30. | 3433. | 5611 | 8922 | 14444 | 22444 | 38222 | 58111 | 89889. | ||||||||||||||||||||||||||||||||||||||||||||||
| 32 | 3656. | 5978 | 9511 | 15444 | 23889 | 40667 | 61889 | 95778 | ||||||||||||||||||||||||||||||||||||||||||||||
| pö=Öppningstryck。 EngigtGällande常规EN ISO 4126-1 SKALL I TABELLEN ANGIVNAVärdenuldplicerasmedsäkerhetsfaktorn0,9。 Mättad ånga i kg/h。 Kapaciteterna gäller vid en tryckstegring av 10% av öppningstrycket。 Kontakta Armatec för dimensionering av andra fluider等。 |
||||||||||||||||||||||||||||||||||||||||||||||||||||||
| DN. | 125 | 150 | 200. | |||||
| Säte. | 98毫米 | 125毫米 | 165毫米 | |||||
| 阿宝 | ||||||||
| 酒吧 | Anga种族 | Anga种族 | Anga种族 | |||||
| 0,2 | 2756 | 4478 | 7811. | |||||
| 0,5 | 4278 | 6956 | 12111 | |||||
| 1 | 6211 | 10111. | 17555 | |||||
| 2 | 9933 | 16111 | 28111 | |||||
| 3. | 13333 | 21667 | 37889 | |||||
| 4. | 16667 | 27111 | 47222 | |||||
| 5. | 19889年 | 32444 | 56555. | |||||
| 6. | 23222 | 37778 | 65889. | |||||
| 7. | 26444 | 43111 | 75222 | |||||
| 8. | 29778 | 48444 | 84444 | |||||
| 9. | 33000. | 53778 | 93667 | |||||
| 10 | 36222 | 59000 | 102889. | |||||
| 12 | 42778 | 69667 | 121111 | |||||
| 14 | 49333 | 80222 | 138889. | |||||
| 16 | 55889. | 90889 | 157778 | |||||
| 18 | 62333 | 101556. | 176667 | |||||
| 20. | 68889. | 111111. | 195555. | |||||
| 22 | 75444. | 123333 | 214444 | |||||
| 24 | 82111 | 133333 | 232222 | |||||
| pö=Öppningstryck。 EngigtGällande常规EN ISO 4126-1 SKALL I TABELLEN ANGIVNAVärdenuldplicerasmedsäkerhetsfaktorn0,9。 Mättad ånga i kg/h。 Kapaciteterna gäller vid en tryckstegring av 10% av öppningstrycket, Kontakta Armatec för dimensionering av andra fluider等。 FÖRSTÖRREVENTINDIMENSINGEROCH /ELLERSTÖRREKAPACITETER,SE SEPTUP PRODUKTBLAD 在4543 - 4580,DN 200-400。 |
||||||||
Låsskruv(“Test Gag”)För阻滞Av Spindel。
Lyftbegränsning。
ANSI-flansar。
mottyckskompenserande veckbälg -se producktblad AT 4547-serien。
Sluten fjäderkåpa, mjuktätande kägla, rostfritt utförande -se producktblad AT 4541-serien。
Grajarnsutforande。
Tillsatsbelastning(Se Produktblad AT4505)
| anslutnicyar. | Armaturflansar borrade enligt | |
|---|---|---|
| 在4550ggg(Segjärn) | ||
| Inlopp / utlopp | DN25-80:PN40 / 16 | |
| dn100 - 150: PN16/16 | ||
| DN200: PN25/10 | ||
| se bruksanvisning。SäkerhetsventilenmonterasLodrättMedFjäderkåpanRaktUppåt。 | ||
| anslutnicyar. | Armaturflansar borrade enligt | |
|---|---|---|
| 在4550年(“斯太尔) | ||
| Inlopp / utlopp | DN20-150:PN40 / 16 | |
| DN200: PN25/16 | ||
| se bruksanvisning。SäkerhetsventilenmonterasLodrättMedFjäderkåpanRaktUppåt。 | ||
se bruksanvisning。
Fabrikat, at - number, DN, PN, CE-märke,材料samt pil visande flödesriktning。
Dessutom FinnsPåVentilhusetTüvsGodkännandeskyl,Med Tillverkarens Figur Nr。442。
ÖppningstrycketÄrinstansatpåutloppsflänsenochpåtüvstypgodkännandeskylt。
| Metalltätande säkerhetsventil med öppen fjäderkåpa | |||
| Exempel:4550-3-18,0-25 | |||
| 在4550 | -3 | -18,0. | -25年 |
| Fig. nr。 | Utforande | Öppningstryck(酒吧) | DN. |
| 在4550 ggg = segjarn | 3 = oppet lattverk | ||
V3=öppet lättverk och veckbälg |
|||
| 4550 =stål | -2 =kåpa(ejlättverk) | ||
| V2=kåpa (ej lättverk) och veckbälg |
Elektriskt flervarvsmanöverdon för kilslidsventiler, skjutspjäll, kägelventiler eller där flervarvsrörelse…
välj.
Kulventil Med Reducerat Tenomlopp AV RostfrittStål/ CPTFE MedSvetsändaralt。inv。Gängorochfästfläns...
välj.
HögVentilhals,Fullt Genomlopp,PN 10,Presspex Kopplingar OchStålhandtag。Kulventil AvAvzinkningshärdig...
välj.
Friblåsande säkerhetsventil (utan utlop sanslutning) av mässing。Mjuktatad kagla(氟橡胶)。Inlopp utvandig……
välj.
ElektrisktManöverdonFör开/关Eller Reglering Av Kulventiler,Vridspjällellerdär90°Vridning ...
välj.
Hög hals,全基因组lopp, invändig gänga och stålhandtag。Viridi kulventil i Avzinkningshärdig blyfri…
välj.
Smutsfilter AVGrajärnMedFlänsar,PN 16. Silinsats Av RostfrittStål,MaskVidd 0.6毫米。seconat silkorg ......
välj.
Högkvalitativt heltätande vridspjäll med disk i duplex, fastvulkaniserat gummifoder i EPDM。Semi-LUG……
välj.
气动产品manöverdon för on-off och reglering av kulventiler, vridspjäll eller där 90°vridning erfordras。
välj.
Kulventil av rostfritt stål/PTFE med svetsändar alt. inv. gängor och fästfläns för manöverdon。Lamplig……
välj.
SäkerhetsventilFörSlutnaVarmvattenanläggningarSom Pannor OchVärmeväxlare。SäkerhetsventilÄven...
välj.