Hoppa TillInnehåll.
普林西普för tillsatsbelastad säkerhetsventil Leser.

Säkerhetsventil在4505年

Tillsatsbelastadesäkerhetsventiler

Dimensionsomrade 25 - 400
PN. 10 - 400
温度råde
材料

变体

artikelnummer. DN. PN. Oppningstryck(巴格) AVS.DATUM Bruttopris. antal.
在4505年 25 - 400 10 - 400 Förfrågh. Förfrågh. Offert

Produktinformation

Användningsområde.

FörFevspallOMKräverGegenskaperSoM Inte Kan Tillgodoses AV Enbart Direktverkande,FjäderbelastadeSäkerhetsventiler:

- VID Uppgradering AV BefintligaAnläggnidentar。
- Bättre utnyttjande av det tillåtnasystemtrycket,inorom processindustri。
- FörAnläggningarMedEffekttoppar Eller OreegelbundenEnergitillförsel。
- FörAnläggningarMedObestämteller varierande mottryckPåsäkerhetsventilensutloppssida。
- FörAnläggningarMedExempelvisÖverhettningavsäkring,därÖverhettningsventilenalltidskallÖppnaförst。
- Föratundvikamiljöpåverkanfrånempelviskemianläggningar。
- Begränsa avblåsningstiden och avblåsningsbuller。
- FörAnläggningardärdyrbaraFörlusterAV Energi Och FluidMåsteundvikas。

Kvalitetssakring

TypgodkändAvTüvIngigtGodkänandeNRTÜVSV... 768,SAMT AV Inspecta(FD SAQ / DNV),SAMT ETT FLETTAL ANDRA Organ。

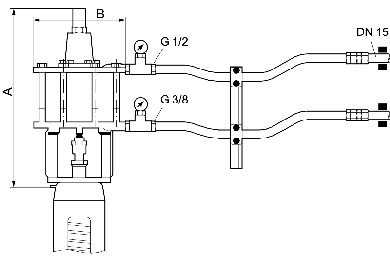
Mått och vikt, manöverdon

StälldonetsNominella Storlek. 1 1 2 2 3. 3. 3S
anslutningsstorlek. 一世 2 2 3 3 4 4
Max。spindelslaglangd 毫米 7. 12. 12. 22,5 22,5 50. 74
Hojd一 毫米 330. 330. 420 420 660 660 795
直径B 毫米 150. 150. 220. 220. 330. 330. 330.
Kolvdiameter. 毫米 100. 100. 160. 160. 250. 250. 250.
Effektiv Kolvarea cm² 70 70 188 188 457. 457. 457.
* tillsatskraft. N 2100. 2100. 5640 5640 13710. 13710. 12710.
Stalldonets vikt 公斤 9. 9. 19. 19. 68 68 75
* Vid differenstryck 3 bar (kan ställas om)
FörmåttSäkerhetsventiler,Se Seperat Produktblad,BL.A AT4598-Serien

Funktion och konstruktion

Säkerhetsventilen är försedd med ett pneumatiskt manöverdon, vilket har till upppgift at ge extra kraft i stängande och öppnande riktning。
Manöverdonet styrs med tryckluft från en styrenhet via styrledningar。Styrenheten är försedd med tre压力计med pneumatiska brytarkontakter。
斯特伦肾军Får阻动者通过Tre Fluidledande脉冲训练。
OM Trycket I ImpulslyingenÖverskrider德国洛尔德拉Trycket,BryterTryckbrytarnaFörstyrningsventilernaoch de Efterkoppleadle Styrventerna。
Styrventernagåriavluftningsläge,毒素enväxelventilpåverkassom我犯罪in tur peatast avlastar belastningsluften imanöverdonet。
När lyftluften är aktiverad öppnar ventilen helt, oberoende av mottrycket。
När trycket sjunker under det inställda öppningstrycket, läggs belastningsluften åter på och ventilen stängs。
VentilenStängerMedAcerandeVerkan,DVS.Med MindreStängningStryckÄnVidKonventionellaventiler。
Vid Luftbortfall Fungerarsäkerhetsventilen索姆·赫格利斯特兰特(Fjäderbealstadsäkerhetsventil)。
En eller flera säkerhetsventiler kan styras från samma styrskåp。

För info om säkerhetsventiler, se separata producktblad t.ex AT4598-serien。

选项

VarianterPåStyrningAvSäkerhetsventiler
StyrskåpetKanAktiveraSäkerhetsventernaPålikaSättVadGällerÖppningochstängning。Vid Bortfall Av Matningsluften直到Styrskåpetfungerarsäkerhetsventernasom vanligafjäderbelastadesäkerhetsventiler。De Tre Tre VanligasteInkplingArnaFörHur斯特鲁尔斯·康anlutasÄr;
Beskriving funktion.

选项1: Båda säkerhetsventilerna styrs med belastningsluft och lyftluft。

När öppningstrycket uppnås bortfaller belastningsluften på båda säkerhetventilerna och lyftluften tillser att båda ventilerna snabbt öppnar。之后blåsning tillser belastningsluften att båda ventilerna snabbt kommer直到stängt läge。

选项2: Säkerhetsventilen med det högre öppningstrycket styrs med belastningsluft och lyftluft。Säkerhets ventilen med det lägre öppningstrycket styrs med enbart belastningslft。 När öppningstrycket uppnås bortfaller belastningsluften på båda säkerhetsventilerna men lyftluften aktiverar enbart säkerhetsventilen med det högre öppningstrycket。Säkerhetsventilen med det lägre öppningstrycket öppnar beroende av inställt fjädertryck。
选项3.:SäkerhetsventilenMeddetLägreöppningstrycket(T.exVentilenFörhettaren)Styrs Med Belastningsluft Och Lyftluft。SäkerhetsventilenMeddetHhögreöppnningStrycket(T.exVentilenFörngdomen)Styrs Enbart Av BelastningsLuft。 NärÖppningStrycketUppnåsBortfallerBelastningsluftenPåBådaSäkerhetsventernaMen Lyftluften Aktiverar EnbartSäkerhetsventilenMeddetLägreÖppningStrycket。SäkerhetsventilenMeddetHögreöppningStrycketÖppnarBeroendeAvInställtFjädertryck。

TillsbelastadeSäkerhetsventilerAnvändsytaimerymedÅngdomochÖverhettare。

Pångdomenkan en enler flerasäkerhetsventilervara monterade。PåverhettarenÄRDETTASTZH(1)Säkerhetsventil。

VID Dessa安装程序SkallÅngdddomensventil / -er kunnaavsäkraminst 75%av efoderlig Kapacitet(MCR =最大连续评分,T.ex T / H Eller Kg / H),OCHTAST SkerHärLeveransMed Inkpling Engigt选项3。

标准喷墨är enlight选项3。

För mer information hänvisar vi till vår handbok Tryckavsäkring (utgåva 1.2005)。

Tekniska数据

Extremtt LitenNedblåsningoch kortblåsningstidmedförliten fill-ochtryckförlust。
Arbetstrycket kan vara alldeles inpå öppningtrycket, varvid hög verkningsgrad i anläggningen erhålls。
Säkerhetsventilerna och tillsatsbelastningen kan kontroleras och motioneras genom ett knapptryck。
Gynnar miljön (utläpp, ljud) pga lägre energiförluster och kortare blåsningstid, bättre än traditionella säkerhetsventiler

FörMaximalaTastck,温度奥赫卡普酸盐塞Hänvisas至SextedataProduktbladFörSäkerhetsventiler,T.ex AT4598-Serien。

标准SkyDDSKLASSÄRIP54。kanerhållasiutförande“box-in-box”Varmed skyddsklass ip65erhålls。

Kompendie med完全了解Armatec的情况。

Dimensionering

För尺寸och val av ventiler,Manöverdonochstyrskåp,kontakta armatecföreletkomethettförslag。

Tillbehor och变体

Leser TillsbelastningKanÄven苹果公司På和弗里克特AvSäkerhetsventiler,OmdeÄrKonstrueradeSåTrodLeser'sManöverdonKanMonters

en styrenhet kan styra flera通风机påsammaavsäkringsobjekt。

标准SkyddsklassförstyrskåpetÄrip54,男士kanerhållasiutförande“box-in-box”,Varmed skyddsklass ip65erhålls。

AT4505(= Leser 7121)StyrskåpÄrPneumatiskt。KanÄvenerhållasElektropneumatiskt,AT4505EP(= Leser 7122)

安装

我公司的仪器设备。
De StyrlowningarSomärFörbundnaMedStälldonetMåsteHaen en Minsta Genomloppsdiameter AV 15毫米。
Tryckluftsnätet skall hålla minst 4 och högst 10 bar。
Ytterligare信息återfinns i bruksanvisningen。

Underhall och reservdelar

Funktionen provas minst en gång per år。
Här ingår kontroll av säkerhetsventilen, dess funktion med och utan styrenhet, och kontroll av att huvudventil och styrenhet är korrekt inställda。

Armatec erbjuder sig att utföra erforderliga kontroll- och underhållsarbeten inom ramen för ett servicetal。Därutöver rekommenderas en regelbunden okulärbesiktning från företagets egna专家。

Bestallningsnyckel

AT4505 komplett utrustning med tillsatsbelastade säkerhetsventiler, bestående av:

X st säkerhetsventil AT xxxxx (se separat producktblad t.ex AT4598-serien), med påmonterat pneumatiskt manöverdon。

1 StStyrskåpFörovanståendeSäkerhetsventil( -

愤怒:
Öppningtryck.
arbetstryck.
Kapacitet.
Drifttemperatur,Blåstemperatur(VidÖverhettadÅnga)
StatiskHöjdFrån斯特塞克·埃尔斯卡普直到InloppSäkerhetsventil
分钟,och max。-tryck på inkommande tryckluft

Relaterade produkter

NYA Artiklar.

Elektriskt manöverdon AT 3950 (30-500 Nm)

ElektrisktFlervarvsmanöverdonförkilslidsventiler,Skjutspjäll,kägelventilerellerdärflervarvsrörelse...

Valj

Kulventil在3500,3520

Kulventil Med Reducerat Tenomlopp AV RostfrittStål/ CPTFE MedSvetsändaralt。inv。Gängorochfästfläns...

Valj

Kulventil AT 3712 VIRIDI

Hög ventilhals, full genomlopp, PN 10, presspex kopplingar och stålhandtag。Kulventil av avzinkningshardig……

Valj

在4698 b Sakerhetsventil

Friblåsande säkerhetsventil (utan utlop sanslutning) av mässing。Mjuktatad kagla(氟橡胶)。Inlopp utvandig……

Valj

昆斯克省

kunskapsguidetryckavsäkring.

en snabbuideförpombehövervägledningomavsäkringavtryckbärandeanordning。dufåranvisningarom vilken typ avsäkerhetsventilsombehövsförenvissic tyw av安装。likasårådom her男子skaberäknaerforderligkapacitetförnsäkerhetsventil。dessutom behandlasljuddämpare。

Ta RedaPåmer

verktyg.

Det Kan VaraSvårtattat veta vad manbehövertänkapå,våravaltabeller ochformulärhjälperpattväljarättutfötttutförandeoch尺寸。

hitta dittverktyg.

服务

vi tar hand om alla ventiler sombehöver服务,oavsett fabrikat eller Storlek。

Läs mer om vårt serviceerbjudande

kontaktpersoner.

米娅然而

Innesäljare.

031 - 89年01 86
mia.sepp@armatec.se.se.

可Sellersjo

Ventiler & Automation

031-89 01 40.
torbjorn.sellersjo@armatec.se

MiaHöök.

Ventiler & Automation

031 - 89年02 38
mia.hook@armatec.se.se.

Marie-Louise EK

Innesäljare.

031 - 89年01 62
marie-louise.ek@armatec.se

Susanne Noring.

Innesäljare.

031 - 89年02 17
susanne.noring@armatec.se.se.

mer omvårakoncept

泛汰尔&自动化

En bra anläggning ska gå att styra tillförlitligt, dag ut och dag in。我们可以在håller utifrån medietyp, tryck, temperatur, normer och lagkrav上安装现代设备。

läsmer.