Hoppa直到innehall
在1149年

Klaffbackventil在1149

KlaffbackVentil Av RostfrittStål,PN16MedGänga。För玛罗奥赫Saltlösningar,LösningsmedelOch Alkoholler,媒体恩格特SSG 1650 Samt PetroleumProdukter。

Dimensionsomrade DN15到dn50
PN. 16
温度råde -30°C至+180°C
材料 Rostfritt syrafast“斯太尔

变体

artikelnummer. Husmaterial DN PN. 温度(°C) byggvarubedömningen. SundaHus AVS.DATUM Bruttopris antal.
在1149 - 15RSK 4960822 Rostfritt syrafast“斯太尔 15 16 -30-180 accepteras. B 2021-07-28 1 730 SEK.我啤酒
在1149 - 20RSK 4960823 Rostfritt syrafast“斯太尔 20. 16 -30-180 accepteras. B 2021-07-28 150瑞典克朗Färreän10我的啤酒
在1149 - 25RSK 4960824 Rostfritt syrafast“斯太尔 25 16 -30-180 accepteras. B 2021-07-28 970瑞典克朗我啤酒
在1149 - 32 Rostfritt syrafast“斯太尔 32 16 -30-180 accepteras. B 2021-07-28 350瑞典克朗Färreän10我的啤酒
在1149 - 40RSK 4960825 Rostfritt syrafast“斯太尔 40 16 -30-180 accepteras. B 2021-07-28 600瑞典克朗Färreän10我的啤酒
在1149 - 50RSK 4960826 Rostfritt syrafast“斯太尔 50 16 -30-180 accepteras. B 2021-07-28 200瑞典克朗我啤酒

Produktinformation

Anvandningsomrade

Klaffbackventil为
- 萨尔罗奥赫萨里尼尔
- Lösningsmedel och alkoholer
-媒体enlight SSG 1650
——Petroleumprodukter

AMA-text

PSE.31 Backventiler IVätskesystem
klffbackventil AT 1149, G…i rostfritt syrafast stål, metalliskt tätande, med snedställd klaff, PN 16。

Kvalitetssakring

证明sker en照明SS-ISO 5208, läckageklass 1 gäller för通风。
Intyg enlight SS-EN 10204, 2.2, ange vid beställning。

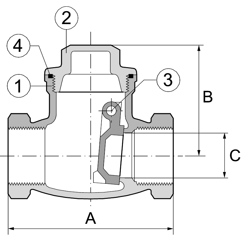
Detaljforteckning

Pos Komponent 材料
1 Ventilhus Rostfritt syrafast stål 1.4408
2 Overdel Rostfritt syrafast stål 1.4408
3. Klaff. Rostfritt syrafast stål 1.4408
4 Lockpackning PTFE.

马特och vikt

Ansl。 G 1/2 G 3/4 G 1 G 1 1/2 G 1 1/2 G 2
一个 65 80 90 105. 120 140
B 44 53 58 62 73 78
C 15 20. 25 32 40 50
Vikt 0,4. 0,5 0,8 1日00 1,6 2,3
mått我mm,vikt i kg。

Funktion och konstruktion

文特伦är metalliskt tätande, med fullgenomlopp och snedställd klaff。

Tekniska数据

Tryck och温
Max Tryck. vid温
16条 100ºC
14条 150ºC
10条 180ºC

安装

Invändig rörgänga, enlight DIN259。
Installeras i horisontell ledning eller vertikal ledning med flödesriktning uppåt。Pil på ventilhus visar flödesriktning。

Markning

ansl Fabrikat (Art.nr)。, PN (psi),材料och flödespil。

Bestallningsnyckel

Exempel: 1149 - 20
在1149年 -20
nr。 DN RSK-nr。
15 4960822
20. 4960823
25 4960824
32 -
40 4960825
50 4960826

Reasterade Produkter.

那artiklar

Elektriskt manöverdon AT 3950 (30-500 Nm)

ElektrisktFlervarvsmanöverdonförkilslidsventiler,Skjutspjäll,kägelventilerellerdärflervarvsrörelse...

Valj

库文提尔3500美元,3520美元

Kulventil med reducerat genomlopp av rostfritt stål/CPTFE med svetsändar alt. inv. gängor och fästfläns…

Valj

Kulventil AT 3712 VIRIDI

Hög ventilhals, full genomlopp, PN 10, presspex kopplingar och stålhandtag。Kulventil av avzinkningshardig……

Valj

在4698 b Sakerhetsventil

Friblåsande säkerhetsventil (utan utlop sanslutning) av mässing。Mjuktatad kagla(氟橡胶)。Inlopp utvandig……

Valj

昆斯克省

Kunskapsguide Tryckavsakring

En snabbguide för dig som behöver vägledning om avsäkring av tryckbärande anorning。Du får anvisningar om vilken av säkerhetsventil som behövs för en visp av安装。Likaså råd om hur man ska beräkna erforderlig kapacitet för en säkerhetsventil。Dessutom behandlas ljuddampare。

Ta RedaPåmer

Verktyg

Det kan vara svårt att veta vad man behöver tänka på, våra valtabeller och formulär hjälper dig att välja rätt utförande och dimension。

hitta dittverktyg.

服务

Vi tar hand om真主安拉ventiler som behöver service, oavsett fabrikat eller storlek。

läsmeromvårtserviceerbjudande

kontaktpersoner.

马格努斯林德伯格

Innesaljare

031 - 89年01 81
magnus.lindberg@armatec.se

桑德拉Sjoberg

Innesaljare

031 - 89年01 79
sandra.sjoberg@armatec.se

MIA SEPP.

Innesaljare

031 - 89年01 86
mia.sepp@armatec.se

MiaHöök.

Ventiler och Automation公司

031 - 89年02 38
mia.hook@armatec.se

维克多•汉森

Teknisk Saljare, Entreprenad

031 - 89年02 39
viktor.hansson@armatec.se

玛丽埃克

Innesaljare

031 - 89年01 62
marie-louise.ek@armatec.se

苏珊没有戒指

Innesaljare

031 - 89年02 17
susanne.noring@armatec.se

这是våra概念

通风机和自动化

ZhaAnläggningSkaGåAtt斯托拉Tillförlitligt,DAG UT OCH DAG。VI GER DIG EN现代安装SOMHÅllerUTIFROÅNMETIETYP,TRYCK,TEMPEDATUR,NERMER OCH LAGKRAV。

拉斯维加斯mer