SirirrySisältöön.
AT 1150

Kalvotakaiskuventtiilit在1150,1152

Kalvotakaiskuventtiilipääasiassapaineilmalle,neutraaleille kaasuille JA nesteille,muuttuva virtauspumpuille JAväliaineillejoilla上korkeataajuuksinensykkivävirtaus

nimelliskoot.

G 3/8 - 克3-

DN 40 - 200

PN. 16.
lämpötila-alue -10 - 60ºC
materiaali. Valurauta

Tuotetiedot.

Käyttökohteet.

Kalvotakaiskunkäyttökohteet:
- paineilma
- neutraalit kaasut JA nesteet
- muuttuvavirtauksiset pumput JAväliaineetjoilla korkeataajuuksinensykkivävirtaus

Laadunvarmistus

CEtyyppihyväksyntä97/23 / CE mukaan

Osaluettelo

1 Runkotiiviste
AT 1150 epdm.
AT 1152 NBR(Nitriili)
2 PESA
在1150 G 3/8 Alumiini
AT 1150 G 1/2 - 克3- Valurauta + EPOXI EN-GJL-250
AT 1152 DN 40-200 Valurauta + EPOXI EN-GJL-250
3. Reikälevy
在1150 G 3/8 Alumiini EN AW-AlCu7MgSi
AT 1150 G 1/2 - 克3- 丽绚päällystetty捷拉斯
AT 1152 DN 40-200 丽绚päällystetty捷拉斯
4. Pidin
在1150 G 3/8 Alumiini EN AW-AlCu7MgSi
AT 1150克1- / 2克2- ruostumatonteräs. X6Cr17
AT 1152 DN 40-65 ruostumatonteräs. X6Cr17
AT 1150 G 3,AT 1152 DN 80-200 普通 CUZN39PB3.
5. Kalvo Nitriili
6. Ruuvit JA mutterit ruostumatonteräs. X5Cr-Ni18-10

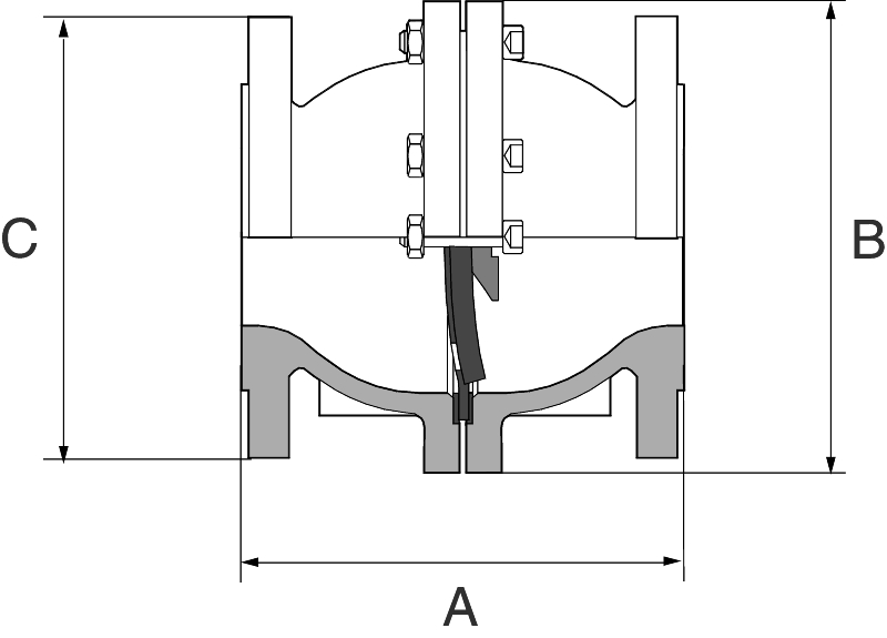
Mitat JA painot

AT 1150
Liitäntä 一种 B. C 潘奥奥
G 3/8 71,5 60. 12/17 0,16.
G 1/2 88,5. 103. 15/21 0,75.
G 3/4 88,5. 103. 20/27 0,75.
G 1 98. 110. 26/34 1
克1-四分之一 102. 122. 33/42 1,3
G 1 1/2 135. 139. 49分之40 2,5
克2- 175. 164. 50/60. 4,2
克2- 1/2 200. 176. 76分之66 6.
±3 237. 212. 80/90 14.
Mitat我毫米。painot公斤。

Mitat JA painot AT1152

AT 1152
DN. 一种 B. C 潘奥奥
40 151. 140. 150. 7,2
50. 160. 160. 165. 9,1.
65. 178. 170. 185. 10,8
80 199. 212. 200. 16,0.
100. 214. 234. 220. 25.
125. 230. 250. 250. 30.30.
150. 270. 324. 285. 44,0
200. 443. 426. 340. 75.
Mitat毫米。painot公斤。

Toiminta JA rakenne

Joustava kalvo(paksu kumilevy),城下上kiinnitetty venttiilin keskelle,tiivistyyreikälevyävasten。对大人kuin putkella Vapaa virtauspinta-ALA。Reikälevy上muodoltaan kupera(poistopuolelta katsottuna),siksi venttiili上tiivismyöserittäinpienillävirtauksilla asennusasennosta riippumatta。

- Pienipainehäviö
- Äänetön,EI aiheuta paineiskuja
- Voidaan asentaa vapaavalintaiseen asentoon

Tekniset Tiedot.

Yhtenäinenviivapainehäviökäyrässäkuvaatäysinavointaventtiiliä。

LisävarusteetJA vaihtoehdot

Kalvotakaiskuventtiili在1150 JA AT 1152 saatavana tarvittaessa: Tilauskoodi *
AT1152分之1150(FKM)氟橡胶kalvolla JAtiivisteillä
最大限度。lämpötila140/100ºC。Aggressiivisille nesteille JA hiilivedyille 1150-XXV泰1152-XXV
AT 1152 laipoin PN 25,DN 40-150 1152 xxPN25
*)-xx = DN科科

LisävarusteetJA vaihtoehdot

Varaosat:
AT 1152:Runkotiiviste JA kalvo saatavana varaosina。

Asennus.

Kalvotakaiskuventtiilit上asennettava virtausnuolen suuntaisesti。Venttiili voidaan asentaa SEKA pysty,ETTA vaakaputkeen。

Liitäntätavat:
AT 1150:Sisäkierre
AT 1152:Laipoin DIN2501 / BS4504,PN10。

Merkinnät

Valmistaja,DN,PN,materiaali JA virtaussuunta。

Tilauskoodi

ESIM:AT 1150-25V
AT 1150 -25 V.
AT没有。 DN. Optiot
AT 1150 =kierreliitännät DN 25-65 V =氟橡胶
AT 1152 = laipoin DN 50-350 PN25 = paineluokka PN 25
(白白AT 1152)

yhteyshenkilö.

ReijoHäikiö

Myyntijohtaja,Teollisuus - 高级销售总监,行业

+358 400 415034
reijo.haikio(AT)armatec.com

亚希Siitari

Aluepäällikkö,Teollisuus,ITA-芬兰语 - 区域销售经理,实业,东芬兰

+358 40 727 2997
aki.siitari(AT)armatec.com

罗伊Länsilahti

Aluepäällikkö,Teollisuus,Etelä-芬兰语 - 区域销售经理,行业,芬兰南部

358 40 750 5233
roy.lansilahti(AT)armatec.com