Kaksoisläppätakaiskuventtiili vaativiin olosuhteisiin nesteille ja kaasuille esim。Kaivoksissa, terästehtaissa, metsäteollisuudessa, voimalaitoksissa, jalostamoissa, petrokemian teollisuudessa ja offshoressa。
| Nimelliskoot | DN 50 - 1200 |
|---|---|
| PN | 6/63 |
| Lampotila-alue | -200 - 450ºc |
| Materiaali | Valurauta, Teräs, Haponkestävä teräs |
Kaksoisläppätakaiskuventtiili vaativiin olosuhteisiin nesteille ja kaasuille esim。Kaivoksissa, terästehtaissa, metsäteollisuudessa, voimalaitoksissa
Ja jalostamoissa sekä petrokemiateolisuudessa Ja offshoressa。
Ei suositella sykkivälle virtaukselle esim。Mäntäpumppujen ja kompressoreiden yhteteen。
Testaukset suoritettu ISO 5208 mukaan。Tiiveysluokka 1 metallivisteisille ja
Tiiveysluokka 3 pehmeätiivisteisille venttiileille。
Materiaalitodistus EN 10204 3.1 sekä useimat luokituslaitokset。Mainittava tilattaessa。
CE-merkinta
Täyttävät vaatimuksen AFS 1999:4 (PED) seuraavasti:
| AT-numero | 在2650 | 在2652 | |
|---|---|---|---|
| 1 | Pesa | Valurauta GG 25 | Hiiliteräs C22.8 tai GS-C25 |
| 2 | Lapat | Pronssi CC483K | HiiliterasC22.8 tai GS-C25 |
| 3. | Akseli | Haponkestava畸胎X6CrNiMoTi17.122 | Haponkestava畸胎X6CrNiMoTi17.122 |
| 4 | Jouset | Haponkestava畸胎X6CrNiMoTi17.122 | Haponkestava畸胎X6CrNiMoTi17.122 |
| AT-numero | 在2654 | 在2656 | |
| 1 | Pesa | Haponkestava畸胎X5CrNi18.10 / G-X6CrNi18.9 | Haponkestava畸胎X6CrNiMoTi17.122 / G-X5CrNiMoN618.10 |
| 2 | Lapat | Haponkestava畸胎X5CrNi18.10 / G-X6CrNi18.9 | Haponkestava畸胎X6CrNiMoTi17.122 / G-X5CrNiMoN618.10 |
| 3. | Akseli | Haponkestava畸胎X5CrNi18.10 | Haponkestava畸胎X6CrNiMoTi17.122 / G-X5CrNiMoN618.10 |
| 4 | Jouset | Haponkestava畸胎X6CrNiMoTi17.122 | Haponkestava畸胎X6CrNiMoTi17.122 / G-X5CrNiMoN618.10 |
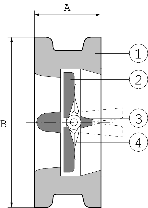
| DN | One hundred. | 125 | 150 | 200 | 250 | 300 | 350 | 400 | 500 | 600 | ||||||||||
|---|---|---|---|---|---|---|---|---|---|---|---|---|---|---|---|---|---|---|---|---|
| 一个 | 64 | 70 | 76 | 89 | 114 | 114 | 127 | 140 | 152 | 178 | ||||||||||
| B PN 6 | 152 | 183 | 208 | 262 | 317 | 376 | 426 | 476 | 581 | 682 | ||||||||||
| B PN 10 | 165 | 195 | 221 | 276 | 331 | 381 | 411 | 492 | 597 | 699 | ||||||||||
| B PN 16 | 165 | 195 | 221 | 276 | 332 | 387 | 447 | 499 | 621 | 738 | ||||||||||
| B PN 25 | 171 | 197 | 227 | 287 | 344 | 404 | 461 | 518 | 628 | 735 | ||||||||||
| B PN 40 | 171 | 197 | 227 | 294 | 356 | 421 | 478 | 550 | 632 | 751 | ||||||||||
| 非我意PN 6 | 8 | 12 | 13、5 | 21 | 36 | 48 | 69 | 88 | 154 | 241 | ||||||||||
| 非我意PN 10 | 8、5 | 12、5 | 15 | 22 | 38 | 50 | 74 | 94 | 163 | 252 | ||||||||||
| 非我意PN 16 | 8、5 | 12、5 | 15 | 22 | 38 | 52 | 76 | 97 | 175 | 284 | ||||||||||
| 非我意PN 25 | 9 | 12、5 | 15、5 | 23 | 41 | 56 | 80 | 104 | 178 | 282 | ||||||||||
| 非我意PN 40 | 9 | 12、5 | 15、5 | 25 | 45 | 60 | 86 | 118 | 181 | 294 | ||||||||||
| 米特毫米,帕诺公斤。DN 50-802, 450 ja 700-1200 pyydettäessä。 | ||||||||||||||||||||
- sulkeutuu enen kuin väliaineen virtaus vaihtaa suunta
- erittäin alhainen painehäviö
——suuri tiiveys
——laaja lampotila-alue
——kestava rakenne
——suuri kayttovarmuus
- erilaiset materiaaliyhdistelmät mahdollisia
| Asennustapa | Vaakasuora | Pystysuora ylospain | Pystysuora ylospain |
|---|---|---|---|
| DN | jousella | jousella | ilman jousta |
| 50 - 65 | 0015年 | 0025年 | 0010年 |
| 80 - 100 | 0015年 | 0030年 | 0015年 |
| 125 - 250 | 0015年 | 0035年 | 0020年 |
| 300 - 400 | 0015年 | 0045年 | 0030年 |
| 450 - 500 | 0015年 | 0055年 | 0040年 |
| 600 - 800 | 0015年 | 0075年 | 0060年 |
| 900 - 1200 | 0015年 | 0085年 | 0070年 |
| DN | One hundred. | 125 | 150 | 200 | 250 | 300 | 350 | 400 | 500 | 600 |
|---|---|---|---|---|---|---|---|---|---|---|
| Kvs | 285 | 460 | 740 | 1500 | 2400 | 3700 | 5100 | 6700 | 12000 | 16000 |
| 丁腈橡胶 | -30 + 90°C |
| 三元乙丙橡胶 | -50 + 150°C |
| FPM(氟橡胶®) | -25 + 200°C |
| 聚四氟乙烯 | -190 + 200°C |
- o-rengastiiviste EPDM (merkintä E), NBR (merkintä N), PTFE (merkintä T
氟橡胶®(merkinta V)
- merivesikäyttöön kumioitu pesä AT2350G
- lietteelle kumioitu pesä ja läppä
- koot DN 50-80, 450 ja 700 - 1200
-你真是太好了
- venttiilit ANSI Class 125-900 mukaan ja rakennepituus API 594 mukaan
- laippojen väliin PN-luokan mukaan
- voidan asentaa vaakasuoriin ja pystysuoriin pukitistoihin,
joissa virtaus onylospain
- vaakasuoraan putkistoon asennettaessa akseli tulee olla pystysuorsa
- venttiilissä oleva nuoli osoittaa virtaussuunnan
- DN200 ja suuremmat venttiilit varustettu nostosilmukalla
| Esimerkki:在2652 e - 16 - 300 | ||||
| Takaiskuventtiili terästä EPDM-tiivisteellä, PN16, dn300 | ||||
| Venttiili | Materiaali | Tiiviste | Paineluokka | DN |
|---|---|---|---|---|
| 2650 | Valurauta / pronssi | - = metalli | 10 = pn 10 | 300 |
| 2652 | 畸胎 | E =三元乙丙橡胶 | 16 = pn 16 | |
| 2654 | Haponkestava畸胎 | N = NBR | 25 = pn 25 | |
| 2656 | Haponkestava畸胎 | T =聚四氟乙烯 | pn 40 | |
| V =氟橡胶® | n = pn |
Aluepäällikkö, teolisuus, Itä-Suomi -东芬兰工业区域销售经理
Aluepäällikkö, teolisuus, Etelä-Suomi -南芬兰工业区域销售经理