Siirry sisaltoon
在2419摄氏度

Kiilaluistiventtiili teräs AT 2419C, 2429C, 2444C

Kiilaluistiventtiili laipoin。Ulkopuolinen karakierre。Sulkuventtiiliksi höyrylle, vesille ja petrokemian tuotteille。Ei suositella saatokayttoon。

Nimelliskoot DN 50 - 600
PN 16-40
Lampotila-alue Max 400ºC
Materiaali 畸胎

Tuotetiedot

Kayttokohteet

Sulkuventtiilina
——hoyrylle
- lämpimälle ja kuumalle vedelle
——oljytuotteille

Laadunvarmistus

Testaukset suoritettu ISO 5208 mukaan。Tiiveysluokka 1。
Materiaalitodistus EN-10204 3.1B tarvittaessa。Mainittava tilattaessa。

CE-merkinta
Täyttävät vaatimuksen AFS 1999:4, kategoria III, ryhmä 1 ja 2 vaciona。

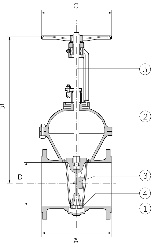
Osaluettelo

1 Runko 畸胎1.0619
2 Kansi 畸胎1.0619
3. Luisti 畸胎1.0619
4 Tiivistepinnat luisti 1.4027 haponkestava畸胎
pesa 1.4027 haponkestava畸胎
5 喀拉海 1.4021 haponkestava畸胎

Mitat ja painot

DN

50

65 80 One hundred. 125 150 200 250 300 350 400 500 600
在2419摄氏度
一个 270 280 300 325 350 400 450 500 550 600 700 800
B 410 415 585 590 670 810 920 1110 1265 1385 1715 2120
C 225 225 250 360 400 400 450 450 500 600 760 760
非我意 31日,5 34、5 49岁,5 70年,5 94 136 231 364 394 560 860 1210
在2429摄氏度
一个 270 280 300 325 350 400 450 500 550 600 700 800
B 410 415 585 590 670 810 920 1110 1265 1385 1715 2120
C 225 225 250 360 400 400 450 450 500 600 760 760
非我意 31日,5 34、5 50 74年,5 101 143年,5 240 363年,5 394 560 900 1210
在2444摄氏度
一个 250 290 310 350 400 450 550 650 750 850 950 1150
B 340 410 415 485 590 670 815 965 1155 1244 1417 1719
C 200 225 225 250 360 400 400 450 500 500 630 710
非我意 22日5 33 36 53岁,5 77年,5 103 172年,5 284年,5 444 700 910 1448
是的,我是。

Toiminta ja rakenne

Taysiaukkoinen。尤斯塔瓦·路易斯蒂,容卡·约蒂特·龙戈萨。Nousevalla karalla, jossa
ulkopuolinen karakierre。Laakeroitu nousematon kasipyora。
Upotettu kansitiiviste。Venttiili在täysin auki asennossa takatiivis, jolin
tiivistepoksi paineeton。

Suuret nimelliskoot ja是käyttöpaineet vaativat venttiilille ohitusventtiilin paine-eron tasaamiseksi (kts。真主安拉oleva taulukko) tai käsivaihteen käytön。

Tekniset tiedot

标准DIN 2401 mukaan。

潘恩ja lampotila

AT-numero Kayttolampotila
马克斯°C
Kayttopaine
马克斯酒吧
在2419摄氏度 200 14
300 11
400 8
在2429摄氏度 200 22
300 17
400 13
在2444摄氏度 200 35
300 28
400 21

Painehavio

Painehäviön laskmiseen käytetään seuravia arvoja:

Kvs-arvot

DN 50 65 80 One hundred. 125 150 200 250 300 350 400 500
Kvs 204 400 535 836 1370 1974 3700 5950 8830 12400 16780 27200

Ohitusventtiili

真主安拉mainittujen paine-erojen ylittyessä tulee venttiili varustaa ohitusventtiilillä, jotta venttiiliä voidan käyttää normalilla vääntömomentilla。

Paine-ero

DN 250 300 350 400 500
在2419摄氏度 - - 16 15 8
在2429摄氏度 - - 20. 15 8
在2444摄氏度 35 28 20. 15 8

Lisavarusteet ja vaihtoehdot

Sähköinen- tai pneumatinen toilaite varusteineen。
Mekaaninen tai elektroninen asennonosoitin。
Jatkokara, ketjupyörä, lukittava käsipyörä ja ohitusventtiili。
Venttiili voidan toimtaa myös ANSI paineluokissa CL150, 300, 600。

Asennus

AT-numero Liitannat
在2419摄氏度 Laipat din2501 - pn16
在2429摄氏度 Laipat DIN 2501 - pn25
在2444摄氏度 Laipat DIN 2501 - pn40

Linja

Vaakalinja:展。60°kallistettu。
Pystylinja: ei rajoituksia

Huolto ja varaosat

Poksitiivisteen tiiveys tulee tarkistaa heti käyttöönoton jälkeen ja kiristää tarvittaessa。
Karamutteri on varustettu voitelunipalla, josta sitä voidan rasvata tarvittaessa。

Merkinta

Valmistaja, DN, PN, materiaali。

Tilausavain

c100 Esim: 2419
在2419摄氏度 One hundred.
AT-numero DN
在2419摄氏度 DN 65 - 600
在2429摄氏度 DN 65 - 600
在2444摄氏度 DN 50 - 500

Yhteyshenkilo

Reijo Haikio

Myyntijohtaja, teolliusus -高级销售总监,工业

+ 358 400 415034
reijo.haikio (at) armatec.com

罗伊Lansilahti

Aluepäällikkö, teolisuus, Etelä-Suomi -区域销售经理,工业,南芬兰

+358 40 750 5233
roy.lansilahti (at) armatec.com

阿基Siitari

Aluepäällikkö, teolisuus, Itä-Suomi -东芬兰工业区域销售经理

+358 40 727 2997
aki.siitari (at) armatec.com