SirirrySisältöön.
在1040c

Istukkaventtiili在1040C.

istukkaventtiili,runko gs-c25,lipoin pn40。UlkopuolisellaKarakierteelläJANousevalla Karalla。LautasessaPoksin Takatiivistys Auki-Asennossa。Pauletta Tasaava JA Avautumista Helpottava Lautasrakenne DN125 -DN150Venttiileissä。SulkuventtiiliksiHöyrylle,Lauhteelle Ja Kuumalle Vedelle。

nimelliskoot. DN 15-250
PN. 40.
lämpötila-alue 最多400ºC.
materiaali. Teräs.

Tuotetiedot.

Käyttökohteet.

Sulkuventtiilinä:
- Höyrylle.
- Kuumalle Vedelle.
- Lauhteelle.

Laadunvarmistus.

Suoritettu Iso 5208 Mukaan的Testaukset。tiiveysluokka 1。
materiaalitodistukset en 10204 3.1 Tarvittaessa。Mainittava Tilattaessa。

CE-Merkintä.

Vaattimuksen AFS 1999:4(Ped),Ryhmä1JA2,Kategoria III。

XXX.

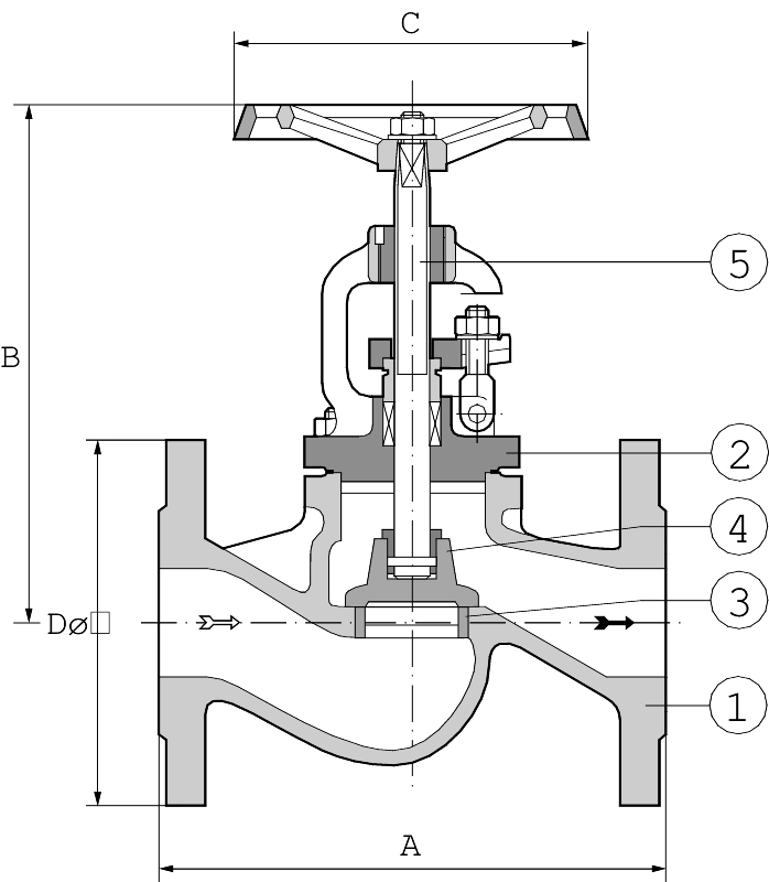
osaluettelo.

1 runko. Teräs1.0619
2 坎西 Teräs1.0619
3. istukka. ruostumatonteräs1.4021 *
4. Lautanen. ruostumatonteräs1.4021 *
5. 卡拉 ruostumatonteräs1.4021 *
*lämpötilanollesa yli 350 c suoselaananstellittiä

威廉·贾帕诺

DN. 15. 20. 25. 32. 40. 50. 65. 80 100. 125. 150. 200. 250.
一种 130. 150. 160. 180. 200. 230. 290. 310. 350. 400 480. 600 730.
B. 185. 185. 210. 210. 235. 240. 290. 305. 370. 400 470. 570. 625.
C 120. 120. 140. 140. 160. 160. 180. 200. 225. 225. 300 400 400
D. 95. 105. 115. 140. 150. 165. 185. 200. 235. 270. 300 375. 450.
潘奥奥 3,9. 4,6 6,3 7,5 10,5 14. 21,5 26. 51. 63,5. 105. 175. 323.
MITAT MM,PAILO KG。

Toiminta Ja Rakenne.

Nouseva,Ulkokierteinen Kara。suorat tiivistepinnat。

LautasessaPoksin Takatiivistys Auki-Asennossa。Pauletta Tasaava Ja Avautumista Helpottava Lautasrakenne DN125 - DN250 KokoluokanVenttiileä。

Tekniset Tiedot.

PaineenJaLämmönKesto

DIN 2401 Mukaiset Maksimarvot:

PAILEJALÄMPÖTTILA

käyttöpaine.
最大限度。酒吧
käyttöpaine.
最大限度。°C.
35. 200.
28. 300
21. 400

PAILEHÄVIÖ.

PAILEHÄVIÖNLASKEMISEKSIKÄYTETÄÄNSEURAAVIAARVOJA:

kvs.

DN. 15. 20. 25. 32. 40. 50. 65. 80 100. 125. 150. 200. 250.
K.vs. 4,2 7,4. 12. 19. 31. 47. 77. 120. 188. 288. 410. 725. 1145.

差异试用

Max Paine-Ero

潘恩ero

DN. 125. 150. 200. 250.
潘恩ero 25. 17. 10. 6.

LisävarusteetJaVaihtoehdot.

乌拉巴飞素。Saatavanamyöspn16。

Liitännät.

at-numero. DN. 拉普拉斯 Hitsausliitännät.
在1040c 15 - 250 PN 40. DIN 3239形式D.

Asennus.

Asennusasento VAPAA。Poikkeus:KäsipyöräAlaspäin

Verkosto HuhdeltavaEnnenKäyttönottoa。

DN15 - DN100 KOKOLUOKANVENTTILESÄVIRTAUSSUUNTA ALHAALTAYLÖSLAUTASENALAPUOLOLTA。

DN125 - DN250 KOKOLUOKANVENTTILESÄPÄINVASTAINENSUUNTA,ELIYLHÄÄLTÄALAS,

Johtuen Erilaisesta Lautasrakenteesta。

Virtaussuunta在Aina Merkitty Nuolella Venttiiliin。

Huolto Ja Varaosat

PoksinJälkikiristystarvittaessa。

Merkinnät.

Valmistaja,DN,Pn,MateriaaliSekävestaussuuntaaOsoittava Nuoli。

tilauskoodi.

ESIM:1040C50SV
在1040c 50. SV.
at-numero. DN. Hitsauspäät.

yhteyshenkilö.

reijohäikiö.

Myyntijohtaja,Teollisuus - 行业高级销售总监

+358 400 415034
reijo.haikio(at)armatec.com

aki siitari.

Aluepällikkö,Teollisuus,Itä-苏米 - 地区销售经理,East Filland

+358 40 727 2997
aki.siitari(at)armatec.com

RoyLänsilahti.

Aluepällikkö,Teollisuus,Etelä-Suomi - 地区销售经理,工业,南芬兰

+358 40 750 5233
roy.lansilahti(at)armatec.com