SirirrySisältöön.

Tasaussäiliö在8525A.

Jäähdytysjärjestelmäntasaussäilö。

nimelliskoot. 300 L - 4000 L.
PN. 6.
lämpötila-alue -10ºC - 65ºC
materiaali. Teräs.

Tuotetiedot.

käyttöalue.

Jäähdytysjärjestelmäntasaussäilö。MaksimiKäytöpaine/Lämpöttala6酒吧/ 65°C。

Laadunvarmistus.

TäyttääVaatimukset2016:1§8贾纳琳奥尔伦托纳州艾奥·梅尔克丁雅。

本人大理

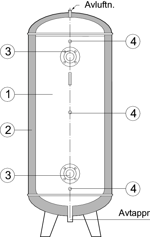
1 Säiliö. Teräsen 1.0045.
2 eriste. Pur + Pelti.
3. Liitännät. 2kplyhdettä(拉皮/吉尔厄尔)
4. LiitännätLämpömittarille. 3kpllämpömittariyhdettä.

威廉·贾帕诺

蒂尔瓜劳斯(L) Korkeus(mm) leveys(mm) 潘诺(kg)
在8525A300. 300 2050. 640. 120.
在8525A500. 500. 2050. 800 170.
在8525A750. 750. 2050. 950. 190
在8525A1000 1000 2100. 1050. 260.
在8525A1500. 1500 2150. 1250. 320.
在8525A2000 2000年 2300 1400. 450.
在8525A3000 3000. 1450. 1600 550.
在8525A4000 4000. 2500 1800 690

Toiminta Ja Rakenne.

eristys pur 100 + maalattu galvanoitu pelti tair allox solukumiere。SuoseteltavaVähimmäislämpöttila+ 4°C。

DN40 - DN150 Laipat Ovat PN16 JA Laipat DN200 - DN300VälilläPN10。

Tekniset Tiedot.

在/ ut. TM值 Liitännät.
在8525A300. G 2 G 1/2 G1.
在8525A500. G 2 G 1/2 G1.
在8525A750. DN 80. G 1/2 G1.
在8525A1000 DN 100. G 1/2 G1.
在8525A1500. DN 100. G 1/2 G1.
在8525A2000 DN 100. G 1/2 G1.
在8525A3000 DN 100. G 1/2 G1.
在8525A4000 DN 100. G 1/2 G1.

弥撒

Mitoituksen Suhteen OlethanYhteydessäSuoraan Myyjiimme。

//www.cryotechno.com/fi/yhteystiedot/#Block-32507.

Lisävarusteet.

Lisävarusteet:


- Lämpömittari在8526T15-200RF。0 + 120°C. Halkaisija 65毫米NikkelöityAlumiini。Anturiputken Pituus 200 mm ruostumatontaterästä。

- Välilevyt.

- Armaflex Solukumieristys 9 mm,13毫米,19毫米,25 mm tai 32 mm


Muut Paineueet PN 3,4 Tai 10 Bar。

Asennus.

Säiliötulee asentaa tasaiselle pinnalle。

Huolto Ja Varaosat

JOSVaraajasäiliöon AsennettuEikäIikäakäytetä,SE在HuhdeltavaVedelläKerranViikossa上。Huoltovapaa的Muuten Tuote。

näintilaat

蒂尔瓜劳斯(L)
300 8525A300.
500. 8525A500.
750. 8525A750.
1000 8525A1000
1500 8525A1500.
2000年 8525A2000
3000. 8525A3000
4000. 8525A4000

yhteyshenkilö.

Marko Lindfors.

Myyntipäällikkö&Aluepäällikkö:Lvi-Myynti,Länsi-Suomi - 芬兰西部地区经理

+358 50 590 2854
marko.lindfors(at)armatec.com

Jarmo Uljanoff.

Aluepällikkö:LVI-Myynti,Itä-Suomi - East Finland地区经理

+358 40 455 1165
Jarmo.uljanoff(at)armatec.com

RaunoKotajärvi.

Aluepäällikkö:LVI-Myynti,Pohjois-Suomi - 芬兰北部地区经理

+358 40 828 6482
Rauno.Kotajarvi(at)armatec.com

ossi Kosunen.

Aluepäällikkö:Lvi-Myynti,Etelä-Suomi - 芬兰南部地区经理

+358 40 779 5651
ossi.kosunen(at)armatec.com