SirirrySisältöön.

PinnankOrkeudenosoitin在4950年

PinnankOrkeuden Osoittamiseen Avoimissa JaSuljetuissaJärjestelmissä。Visuaalinestai Elektroninen Ilmaisin。

nimelliskoot.

DN 15-50

PN. 6-320.
lämpötila-alue -50 - +400ºC
materiaali. Haponkestäväteräs.

Tuotetiedot.

Käyttökohteet.

PinnankOrkeuden Osoittamiseen Avoimissa JaSuljetuissaJärjestelmissä。Visuaalinen Tai Elektroninen Ilmaisin。

Laadunvarmistus.

Materiaalitoditukset EN 50049 3.1,PTB / EX,X射线DIN 54 111,第1部分,渗透DIN 54 152 NACE,TRD,TÜV。

CE-Merkintä.
PainelaitedirektiivinAlainen Painelaite,CE-Merkitty。

osaluettelo.

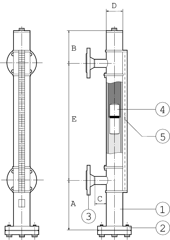
1 Putki. 316 TI.
2 Pohjalaippa,DN 25 316 TI.
3. Liitäntälaippa 316 TI TAI C22.8
4. Uimuri. 316 TI.
5. osoitinrullat. Makrolon,AlumiiniTaihonkestäväteräs

延长诗·贾巴托特

一种 240.
B. 130.
C 40
D. 60,3x2
E. ilmoitettava tilattaessa
MITAT MM

Toiminta Ja Rakenne.

Pinnankorkeudenosoitin Nesteille,SoveltuuMyösVaarallisilleTaiTulenaroilleVäliaineille。UimurinJaäyttörullienMagneTTINENYhteysTakaaVärähtelemättömännäytön。Soveltuusekäavoimiinettäsuljettuihinjärjestelmiin。Rakenne在Helppohuoltoinen JaKestävä。HälytinkytkimetVoidaan Asentaa Vapaavalintaiselle Korkeudelle。Pinnankorkeudenosoitin Voidaan Varustaa Mitta-Asteikolla Osoittamaan Korkeutta Tai Tilavu​​utta。Uimuri Toimii PaineEletomana AlkaenTiheydestä350kg / m3。MaksimiKäytöpaine在SuljetussaJärjestelmässä220bar上。KorkeillaPaineillaTäytyyUimuriPaceistaa(Ei SovelluTiivistyvilleVäliaineille)。

LisävarusteetJaVaihtoehdot.

Digitaalinen Osoitin
ErillinenNäyttö(Vain Reed-KytkimilläVarustettuna))
Lähetinsarjaväylille(Profibus,Foundation FieldbusSekäHart)

4950-3 / -6 / -7-DN-L
Väliaineenkanssa koskethuksissa olevat osathaponkestäväääätästä
PAILELUOKAT PN 16 - 64
DIN-泰安斯 - 莱普林
Maksiminäyttö12米(Kahdessa奥斯萨)
Vaihtoehtoisia Materiaaleja:Titaani,Hastelloy C4,Inconel 625,1.4539,PTFE Vuorattu(PN16)
Lisävarusteet:ilmaus- ja tyhjennyslaippa,sulkuventtiilit,supistuksety。
Teräslaipat.

tilauskoodi.

ESIM:4950-6-32-1000
MagneTTinen Pinnakorkeudenosoitin,PN 40,DN32,Pituus C / C 1000 mm
tyyppi. PN. DN. 拉皮 tyyppi. PN. DN. 拉皮
3. 16. 15-32 316ti 11. 160. 15-50 316ti
4. 16. 50-80 316ti 12. 250. 15-50 316ti
5. 16. R1 / 2-R1 316ti 13. 320. 15-50 316ti
6. 40 15-32 316ti 30. 16. 15-32 C22.8
8. 6. 15-32 316ti 60. 40 15-32 C22.8
10. 100. 15-50 316ti
Väliaine,PaineJaLämpötilailmoitettava Tilattaessa。

yhteyshenkilö.

reijohäikiö.

Myyntijohtaja,Teollisuus - 行业高级销售总监

+358 400 415034
reijo.haikio(at)armatec.com

aki siitari.

Aluepällikkö,Teollisuus,Itä-苏米 - 地区销售经理,East Filland

+358 40 727 2997
aki.siitari(at)armatec.com

RoyLänsilahti.

Aluepällikkö,Teollisuus,Etelä-Suomi - 地区销售经理,工业,南芬兰

+358 40 750 5233
roy.lansilahti(at)armatec.com