Siirry sisaltoon
在4046年一个

Mudanerotin在4046

Mudanerotin haponkestävää terästä laipoin。Suodatinelementti haponkestavaa terasta。Silmakoko 0、6 - 1、2毫米。Saatavana myös muita silmäkokoja。pn40 (dn 15-50), pn16 (dn 65-250)。Jäähdytysjärjestelmiin, merivedelle, agressiivisille nesteille ja kaasuille。

Nimelliskoot DN 15 - 250
PN 16/40
Lampotila-alue -60 - 300°c
Materiaali Haponkestava畸胎

Tuotetiedot

Kayttokohteet

Kylmäaineiden, meriveden, aggressive, nesteiden ja kaasujen mekaaninen puhdistus。

Laadunvarmistus

CE-merkinta

Mudanerottimet täyttävät vaatimukset AFS 1999:4 (PED),类别III, tiiveysluokka 1 ja 2。

Osaluettelo

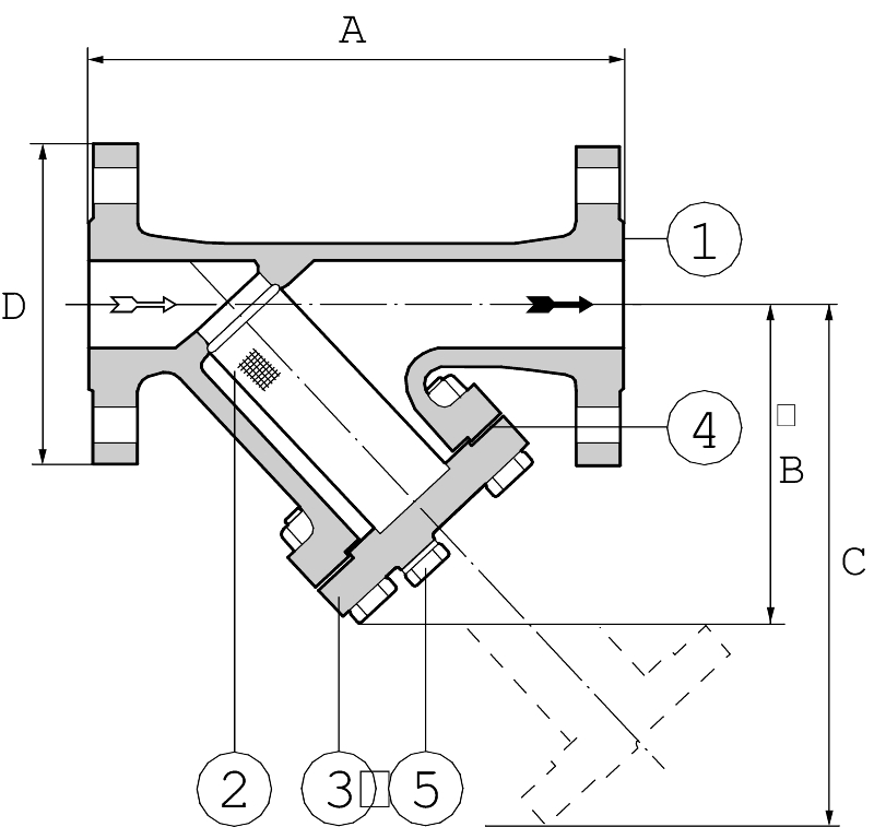
1 Runko haponkestava畸胎 W.nr。1.4408
2 Suodatinelementti haponkestava畸胎 W.nr。1.4401
3. Kansi haponkestava畸胎 W.nr。1.4408
4 Kannen tiiviste grafiitti
5 Tyhjennystulppa haponkestava畸胎 1.4401

Painot ja mitat

DN 15 20. 25 32 40 50 65 80 One hundred. 125 150 200
一个 130 150 160 180 200 230 290 310 350 400 480 600
B 70 78 85 One hundred. 125 135 170 190 230 260 325 430
C 89 110 115 135 170 190 260 275 320 365 460 600
D 95 105 115 140 150 165 185 200 220 250 285 340
Tyhjennystulpan可可 G 3/8 G 3/8 G 3/8 G 3/8 G 1/2 G 1/2 G 1/2 G 1/2 G 3/4 G 3/4 G 3/4 G 3/4
Suodatinelementin korkeus 46 57 62 71 92 105 140 155 167 192 261 318
Suodatinelementin halkaisija 21 25 31 38 44 54 71 86 97 125 142 189
非我意 2、8 3,8 4、8 7、3 8、5 11日0 15日0 21日,5 30日0 41岁的0 64年0 124年,5
PN 40 40 40 40 40 40 16 16 16 16 16 16
是的,我是。

Toiminta ja rakenne

Poistaa läpivirtaavasta väliaineesta tehokkaasti silmäkokoa suuremman epäpuhtaudet。

Tekniset tiedot

Käyrä vedelle kun suodatin on puhdas ja silmäkoko vakio。

Painehäviön laskemiseksi muille väliaineille käytä真主安拉olevia lukuja。

潘恩ja lampotila

潘恩ja lampotila
Kayttopaine Kayttolampotila
AT-numero Liitanta max。酒吧 最小/最大。°C
在4046年一个 DN 15-50 32 -60°C / + 120°C
25 -60°C / + 200°C
21 -60°C / + 300°C
DN 65 - 200 13 -60°C / + 100°C
10 -60°C / + 200°C
8、5 -60°C / + 300°C

Lisavarusteet ja vaihtoehdot

Reikäkoko 0,6, 0,8 tai 1,2 mm koosta riippuen。voidan toimtaa myös 0,6/0,8/1,2/2,0 ja 10,0mm reikäkoolla ja varustaa kestomagneetilla。

Asennus

Asennetaan ensisijaisesti vaakasuoraan kansi alaspäin。Näin taataan mudanerottimen paras mahdollinen tominta ja suodatinelementti helppo puhdista。Huomioi virtauksen suunta。

Puhdistuksen helpottamisesksi voidan puhdistuulpan tilalle asentaa palloventtiili, esim。在3535年。

Huolto ja varaosat

Painehäviön nousu on merkki suodatinelementin puhdistustarpeesta。

这句话的意思是:“我的朋友们都很喜欢我。”

Merkinta

DN, PN, valmistaja sekä virtausnuoli。

Tilausavain

Esimerkki: 4046 a50股指
DN AT-numero
15 4046年a15
20. 4046年的样子
25 4046年25
32 4046年a32
40 4046钠
50 4046年a50股指
65 4046年a65
80 4046年a80
One hundred. 4046年a100
125 4046年a125
150 4046年a150
200 4046年a200

Yhteyshenkilo

Reijo Haikio

Myyntijohtaja, teolliusus -高级销售总监,工业

+ 358 400 415034
reijo.haikio (at) armatec.com

阿基Siitari

Aluepäällikkö, teolisuus, Itä-Suomi -东芬兰工业区域销售经理

+358 40 727 2997
aki.siitari (at) armatec.com

罗伊Lansilahti

Aluepäällikkö, teolisuus, Etelä-Suomi -区域销售经理,工业,南芬兰

+358 40 750 5233
roy.lansilahti (at) armatec.com