ei alivorliivisten nesteiden,Kuumaveden,Petrolituotteiden,Ilman,KaasujenJahöyrynMekaaninenPuhdistus。
| nimelliskoot. | DN 15-250 |
|---|---|
| PN. | 40 |
| lämpötila-alue | -10 - 400°C |
| materiaali. | Teräs. |
CE-Merkintä.
TäyttääVaatimuksenAFS 1999:4(PED),Kategoria III,TiiveySluokka 1 JA 2。
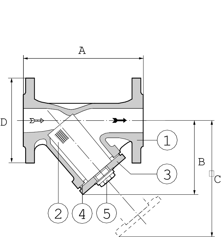
| 1 | 比萨 | Teräs. | GS-C25N. | w.nr.0.6025 |
| 2 | suodatinelementti. | Haponkestäväteräs. | x5crni18.10 | w.nr.1.4301 |
| 3. | 坎西 | Teräs. | GS-C25N. | w.nr.0.6025 |
| 4. | 顾客挺世 | 格拉菲特 | - | |
| 5. | TyhjennyStulppa / Pultit. | Teräs. | C 35. | w.nr.1.0501. |
| DN. | 15. | 20. | 25. | 32. | 40 | 50. | 65. | 80 | 100. | 125. | 150. | 200. | 250. | |||||||||||||||||||||||||
|---|---|---|---|---|---|---|---|---|---|---|---|---|---|---|---|---|---|---|---|---|---|---|---|---|---|---|---|---|---|---|---|---|---|---|---|---|---|---|
| 一种 | 130. | 150. | 160. | 180. | 200. | 230. | 290. | 310. | 350. | 400. | 480. | 600 | 730. | |||||||||||||||||||||||||
| B. | 70 | 80 | 88. | 100. | 125. | 140. | 170. | 190 | 225. | 260. | 320. | 420. | 495. | |||||||||||||||||||||||||
| C | 90. | 110. | 120. | 135. | 165. | 195 | 255. | 285. | 325. | 380. | 490. | 620. | 720. | |||||||||||||||||||||||||
| D. | 95. | 105. | 115. | 140. | 150. | 165. | 185. | 200. | 255. | 270. | 300 | 375. | 450. | |||||||||||||||||||||||||
| TyhjennyStulpan Koko | - | - | - | - | G 1/2 | G 1/2 | G 1/2 | G 1/2 | G 3/4 | G 3/4 | G 3/4 | G 3/4 | G 3/4 | |||||||||||||||||||||||||
| 太极素素质Korkeus. | 45. | 54,5. | 61. | 72. | 92. | 104. | 140. | 155. | 167. | 195 | 261. | 317. | 390. | |||||||||||||||||||||||||
| SuodatineLementin Halkaisija DY. | 21. | 24. | 31. | 38. | 45. | 55. | 71. | 86. | 97. | 125. | 142. | 188. | 245. | |||||||||||||||||||||||||
| 潘奥奥 | 2,7. | 3,6 | 4,5 | 6,3 | 8,7. | 11. | 15. | 22. | 31,5 | 46. | 71. | 134,5 | 210. | |||||||||||||||||||||||||
| MITAT MM,PAILO KG。 | 。 | |||||||||||||||||||||||||||||||||||||
KäyräVedelleKunSudatin在Puhdas JaSilmäkoko0.8毫米。
PainehäviönLaskemiseksiMuilleVäliaineilleKäytäAlla Olevia Lukuja。
| at-numero. | 拉贝皮克斯特 | |
|---|---|---|
| 在4042B. | DN 15-250 | DIN 2401,PN 40 Mukaan |
Painehäviönnousu在Merkki Suodatinelementin Puhdistustarpeesta。
Varaosana Saatavana SuodatineLementti在4022BF。
| Esimerkki:4042B50 | ||
| DN. | at-numero. | |
|---|---|---|
| 15. | 4042B15 | |
| 20. | 4042B20. | |
| 25. | 4042B25 | |
| 32. | 4042B32. | |
| 40 | 4042B40. | |
| 50. | 4042B50. | |
| 65. | 4042B65. | |
| 80 | 4042B80. | |
| 100. | 4042B100. | |
| 125. | 4042B125. | |
| 150. | 4042B150. | |
| 200. | 4042B200. | |
| 250. | 4042B250 |
Aluepällikkö,Teollisuus,Etelä-Suomi - 地区销售经理,工业,南芬兰
Aluepällikkö,Teollisuus,Itä-苏米 - 地区销售经理,East Filland