西里·西斯滕(Siiry sisältön)

4488摄氏度、4497摄氏度、4498摄氏度、4499摄氏度时的劳顿泊松素

劳顿·波西丁·凯利塞勒·哈伊雷尔,科尔凯勒·帕内尔·卡帕西泰尔,萨利·苏里亚·帕内瓦伊泰利塔·埃西姆。Korkeapaeineisin höyrynlinjoihin ja lämmönvaihtimille。

尼美利斯库特 DN 15-50型
零件号 63-160
兰帕蒂拉 -60°C-+550°C
材料 Lämmönkestäväteräs,1.5415,1.7335

托特提多特

科伊特

劳顿·波西丁·凯莱塞·贾图利斯特图勒·赫里尔,科尔凯勒·帕内尔·贾苏里尔·卡帕西泰尔。莎莉·苏里亚·帕内瓦·泰鲁塔。

埃西姆。Korkeapaeineisin höyrynlinjoihin ja lämmönvaihtimille。

拉杜瓦米斯图斯

材料名称:EN-10204 2.2 tai 3.1 tarvittaessa。米尼塔瓦·蒂拉塔萨。


塞默金特
Täyttävaatimukset AFS 1999:4,(PED)模数H。

奥萨卢泰洛

销售时点情报系统 奥萨 AT4497C(ARI 86.631) AT4498C(ARI 87.631) AT4499C(ARI 87.631) AT4488C(ARI 88.631)
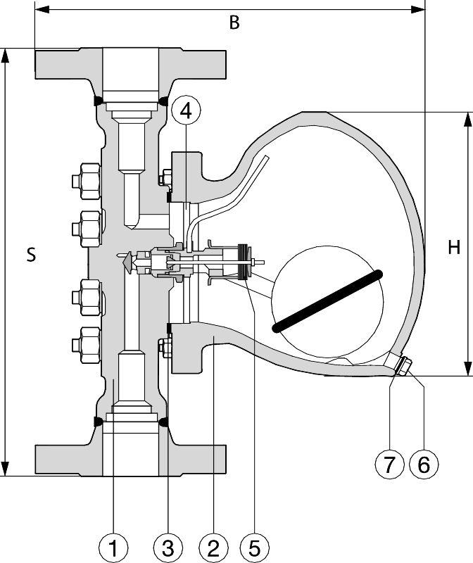
1. 佩斯 拉芒克。泰尔斯,1.5415 拉芒克。泰尔斯,1.5415 拉芒克。泰尔斯,1.7335

拉芒克。泰尔斯,1.7335

2. 堪萨斯语 拉芒克。泰尔斯,1.7357 拉芒克。泰尔斯,1.7357 拉芒克。泰尔斯,1.7357 拉芒克。泰尔斯,1.7357
3. 提维斯特 CrNi laminoitu grafiitti公司 CrNi laminoitu grafiitti公司 CrNi laminoitu grafiitti公司 CrNi laminoitu grafiitti公司
4. 蒂维斯特伦加斯 哈庞克。泰尔斯,1.4541 哈庞克。泰尔斯,1.4541 哈庞克。泰尔斯,1.4541

哈庞克。泰尔斯,1.4541

5. Sätöyksikkö 双金属,TB 102/85 双金属,TB 102/85 双金属,TB 102/85 双金属,TB 102/85
7. Tulpan tiiviste公司 拉芒克。泰尔斯,1.7709 拉芒克。泰尔斯,1.7709 拉芒克。泰尔斯,1.7709 拉芒克。泰尔斯,1.7709
8. 索他丁 哈庞克。泰尔斯,1.4301 哈庞克。泰尔斯,1.4301 哈庞克。泰尔斯,1.4301 哈庞克。泰尔斯,1.4301

米塔贾帕诺

AT4497C-4499C、4488C 莱平(F) 点击率(BW)
DN公司 15 25 40 50 15 20 25 40 50
编号:AT4497C-4499C 300 300 420 416 216 216 216 240 250
序号:AT4488C 400 415 -- 440 335 -- 335 -- 335
小时: 280 280 280 280 280 280 280 280 280
B:AT4497C-4499C 302 302 302 302 302 302 302 302 302
乙:AT4488C 302 302 -- 302 302 -- 302 -- 302
Paino:ATAT4497C-4499C 30 34 38 42 26 26 26 26 28
帕诺:AT4488C 46 49 -- 56 38 -- 41 -- 53
米塔特毫米,帕诺公斤。

Toiminta ja rakenne酒店

梅卡宁·劳赫丁·波西丁。托明塔·佩鲁斯图·内斯滕(劳赫德)贾·卡松(höyry)瓦利辛·蒂希斯隆。

波斯塔·劳赫丁·基尔·伊森·伊林·兰普蒂拉萨(Poistaa lauhteen kylläisenhöyryn lämpötilassa)。苏韦尔图·瓦伊泰莱维因·佩恩·贾·卡帕西蒂埃托洛苏泰斯林。

Suuri Lauhteenpoistoky käyntiinajoissa。这是一个很好的选择。
Sissänrakennettu suodatin ja takaisku。

Tekniset铁点

AT4497C PN63型 AT4498C PN100 AT4499C PN100 AT4488C PN160型
最大käyttöpaine(barg) 56 50 45 64 50 80 60 30 110 80 35
最大käyttölämpötila(°C) 300 350 450 400 450 480 510 525 506 519 550
最大压力(巴) 50 50 50 64 50 80 64 50 110 80 80
最低温度(°C) -60 -60 -60 -60 -60 -60 -60 -60 -60 -60 -60

瓦鲁斯特宫

Liitännät ANSI laipoin,NPT sisäkiertein tai SW(承插焊)Hitsauslitännöillä。
-AT4488C PN160萨塔瓦纳迈尔斯库马马利塞纳

阿森努斯

Vakiona vaaka Asennuksee,mutta sisäosat käntämällä,voidaan asenta pystylinjaan。乌伊穆里·托米伊·瓦恩·皮斯蒂苏纳萨。

霍尔托·贾·瓦拉奥萨特

他是一个很有前途的人。
瓦拉奥萨特:Sisäosat ja tiiviste vaihdettava tarvittatassa。

梅尔金塔

CE merkki、PN、DN、materiaali、valmistaja VIRTAUSUNNAN osoittava nuoli公司。

蒂劳萨温

Esimerkki:4497C15-50F
AT4497摄氏度 -15 -50 F
第一名 DN公司 最大压力(巴) Liitännät F=莱帕,BW=希萨塔瓦
4497摄氏度 15-50 50 F、 体重
4498摄氏度 15-50 64, 50 F、 体重
4499摄氏度 15-50 80, 64, 50 F、 体重
4488摄氏度 15-25 110, 80 F、 体重
Vakiona vaaka asennettava,Pystyasennus merkitän lisäkirjaimella(-V)

Yhteyshenkilö

瑞乔·海基奥

Myyntijohtaja,Teollisuus-行业高级销售总监

+358 400 415034
reijo.haikio(网址)armatec.com

阿基西塔里

Aluepällikkö,Teollisuus,ItäSuomi-东芬兰工业区销售经理

+358 40 727 2997
aki.siitari(网址)armatec.com

罗伊·Länsilahti

Aluepällikkö,Teollisuus,Etelä-Suomi-南芬兰工业区销售经理

+358 40 750 5233
roy.lansilahti(网址)armatec.com