Pneumaattinen Toimileaite AsennettunaeuraverveLäppäventtiiliin在2310年,在2311年,在2313年。
| nimelliskoot. | DN 50-350. |
|---|---|
| PN. | 10-16 |
| lämpötila-alue | -30 - 120ºC |
| materiaali. | 瓦尔豪塔 |
Sulku- JaSäätökäyttöönTeollisuusProsesehinNesteille Ja Kaasuille。
KylmälleJAKuumalleVedelle,Raakavesijärjestelmiin,Pumppaamoihin,Laivojen Lastivesille,Jäähdytysjärjestelmiin,Jauheen Ja Lietteensiirtoon,Sprinkler- JaPalovesijärjestelmiin,VedenkäsittelyJA-Puhdistusjärjestelmiin,aliphaineLame,Paceeilmalle,Paleilmalle,aliphainle。
Nitriili-Kumi(NBR):KylmälleVedelle,Jauheille,Hiilivetyyhdisteille(Pitoisuus Max。30%,+ 20°C),Ilma,Neutraalit Kaasut。
EPDM-Kumi:Laimmin Vesi,Ilma,Neutraalit Kaasut,Laimennetut Orgaaniset Hapot,AlkoHolit(最大30%)
Viton-Kumi:Hiilivety-Yhdisteet,Öljyt,Kuuma Ilma(最多+ 200°C)
Testaukset Suoritettu ISO 5208 Mukaan。Tiiveysluokka 3。
Materiaalitodistus en-10204 2.2 Tarvittaessa。Mainittava Tilattaessa。
CE-Merkintä.
2310Täyttääääääääääääääääqaten999:4,§8vakiona。
在2311/2312 /2313/2313TäytävätVaatimuksenAFS 1999:4,Kategoria I,Ryhmä1JA2 Vakiona。
Tyyppihyväksynnät:Det Norske Veritas(DNV),德国斯科特劳埃德(GL),Lloyd的运费登记。
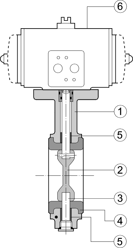
| 不。 | OSA. | 在2310年 | 在2311年 | 在2313年 |
|---|---|---|---|---|
| 1 | 比萨 | 瓦尔豪塔 | 瓦尔豪塔 | 瓦尔豪塔 |
| 2 | Läppä. | ruostumatonteräs. | ruostumatonteräs. | Haponkestäväteräs. |
| 3. | akselit. | ruostumatonteräs. | ruostumatonteräs. | Haponkestäväteräs. |
| 4. | Vuoraus. | NBR. | epdm. | epdm. |
| 5. | 莱克特 | Teräs/ PTFE. | Teräs/ PTFE. | Teräs/ PTFE. |
| 6. | ToimiLaite. | alumiini | alumiini | alumiini |
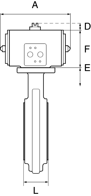
| DN. | 一种 | B. | C | C* | D. | E. | F | L. | 潘奥奥 | |||||||||
|---|---|---|---|---|---|---|---|---|---|---|---|---|---|---|---|---|---|---|
| 50. | 180. |
96. | 231. | 265. | 20. | 0. | 93. | 43. | 4,8 | |||||||||
| 65. | 180. | 96. | 239. | 273. | 20. | 0. | 93. | 46. | 5,3 | |||||||||
| 80 | 180. | 96. | 246. | 284. | 20. | 0. | 93. | 46. | 6,8 | |||||||||
| 100. | 180. | 96. | 260. | 302. | 20. | 0. | 93. | 52. | 7,8 | |||||||||
| 125. | 221. | 117. | 298. | 340. | 20. | 0. | 118. | 56. | 11,1. | |||||||||
| 150. | 221. | 117. | 318. | 362. | 20. | 0. | 118. | 56. | 13,1. | |||||||||
| 200. | 283. | 137. | 367. | 411. | 20. | 0. | 143. | 60. | 19,8 | |||||||||
| 250. | 387. | 182. | 461. | 20. | 15. | 181. | 68. | 34,4 | ||||||||||
| 300 | 477. | 217. | 535. | 30. | 15. | 220. | 78. | 47,4. | ||||||||||
350. |
477. | 217. | 580. | 30. | 15. | 220. | 78. | 54,4. | ||||||||||
C * -Mitta在2310-11 Korkea Karakaulus。DN 50-200。 |
||||||||||||||||||
| DN. | 一种 | B. | C | C* | D. | E. | F | L. | 潘奥奥 | |||||||||
|---|---|---|---|---|---|---|---|---|---|---|---|---|---|---|---|---|---|---|
| 50. | 180. |
96. | 231. | 265. | 20. | 0. | 93. | 43. | 5,4 | |||||||||
| 65. | 180. | 96. | 239. | 273. | 20. | 0. | 93. | 46. | 5,9. | |||||||||
| 80 | 180. | 96. | 246. | 284. | 20. | 0. | 93. | 46. | 7,4. | |||||||||
| 100. | 221. | 117. | 285. | 327. | 20. | 0. | 118. | 52. | 10,6 | |||||||||
| 125. | 283. | 137. | 323. | 365. | 20. | 0. | 143. | 56. | 17,1 | |||||||||
| 150. | 283. | 137. | 343. | 387. | 20. | 0. | 143. | 56. | 19,1 | |||||||||
| 200. | 387. | 182. | 420. | 464. | 20. | 15. | 181. | 60. | 30,9. | |||||||||
| 250. | 477. | 217. | 510. | 30. | 15. | 220. | 68. | 51,6. | ||||||||||
| 300 | 517. | 242. | 559. | 30. | 0. | 259. | 78. | 66,6. | ||||||||||
350. |
517. | 242. | 604. | 30. | 0. | 259. | 78. | 73,6. | ||||||||||
C * -Mitta在2310-11 Korkea Karakaulus。DN 50-200。 |
||||||||||||||||||
TäysinTiivisHuoltovapaaLäppäventtiili,JossaKeskitettyLäppäJALaakeroItuAkseli。
yhtenäinenvalettu runko vulkanoidula kumivuoraukella,joka suojaa venttiilin奔跑赛斯蒂奥斯·克罗索奥蒂奥塔·塞克维斯·托维斯·雷维斯蒂维斯汀。
Rakennepituus Standardien ISO 5752,Lyhyt Sarja,Mukaisesti。Verttiili在Varustettu Pneumaattisella Toimilaitteella,Jossa LineaarinenMomenttikäyrä。Laskettu的Momentti 20-30%Varmuuskertoimella 6 Barin Ohjausilman Paceeella JAΔP= 10bar Paine-Erolla。托米尔塔蒂索斯在专利文具·艾恩·霍斯,JokaEstääJumiutumisen。Venttiili在Tiivis Riippumatta Virtaussuunnasta。
| PAILEJALÄMPÖTTILA | |||
| 在没有。 | DN. | käyttöpaine | Käytölämpötila |
|---|---|---|---|
| 最大酒吧 | 最大°C. | ||
| AT2310 | 50-200 | 16. | 90. |
| AT2311 | 50-200 | 16. | 120. |
| AT2313 | 50-300 | 16. | 120. |
| AT2310 | 250-350. | 10. | 90. |
| AT2311 | 250-350. | 10. | 120. |
| AT2313 | 350. | 10. | 120. |
| 潘德: | Normaali / Mitoitus 6 Bar Ja Max.8 Bar。 |
| Käytölämpötila: | -30°C - + 80°C。MuitaLämpötta-alueita saatavana。 |
| Käyttö: | Ilma Tai Muu Inertti Kaasu,PuhtausVähintään50μm。 |
| ei vaadi sumuvoitelua。 |
LisätietojaFastaavistaesitteistäat2310 ja at3810 / 3811。
- Katso Erilliset Asennus-,Käyttö-ja huolto-ohjeet at2310 ja at3810 / 3811
- Huoltosarjasisältäääätoimilaittenkaikkivaihdettavat tiivisteet
- Kohdista Toimilaite Tarkasti Venttiilin Akselin Linjaan
- Toimilaitteen MahdollisetSähkö-japaineilmakytkennät在Inritettava Ennen Toimilaitten IrroittamistaVenttiilistä。
venttiili.
Valmistaja,DN,Pn,Materiaali,ISO 5209.M Mukaan
ToimiLaite.
Tyyppinumero,Sarjanumero,Max Ohjaupaine,Valmistaja
| ESIM。AT2310DA200 | ||||
| Läppäventtiili,NBR-Vuoraus,RuostumatonLäppä,2-Toimisella Pneumaattella Toimilaittella。 | ||||
| venttiili. | Kumivuoraus /Läppä. | ToimiLaite. | Liitäntäkoko. | |
|---|---|---|---|---|
| 231. | 0.= nbr / ruostumatonteräs | 达= 2-toiminen | 200.= DN. | |
| 1 =EPDM / RoostumatonTeräs | SR.= 1-toiminen | |||
| 3.= epdm /haponkestäväteräs |
Aluepällikkö,Teollisuus,Etelä-Suomi - 地区销售经理,工业,南芬兰