gåtil indold.

Armatec Snavssamler AT4046DK PN40

Varianter.

artikelnummer. antal.
AT4046DK PN40

produktinformation

anvendelse.

所有圆形蛇斯曼勒为Mekanisk Rensning AF Vand,Damp,Olie,Og Kurosive Medier。

kvalitetssikring.

ce-mærkning:ventilerne er ce-mærketiht。ped。Testet Iht。EN12266。

Tekniske数据

物质人员: AT4046DK:RustfritStålSS316(1.4408)
Nominelt Tryk. AT4046DK:PN40(Tryk /Cemperaturgrænseriht。EN1092)
Arbejdsgrænser. 40 barg / 100°C,33,7 barg / 200°C,27,4 barg / 400°C
产量Si. rustfritstål1.4401
maskevide. DN15-20:0,6mm,DN25-DN65:0,8mm,DN80-300mm:1,2mm
安装 Horisontalt(Ved Damp,Med Filtret Ud Til Siden)

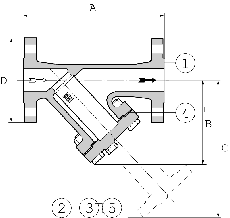
Funktion og Konstruktion.

Snavssamler Med UdskifteligSkråstilletSiOg FlangetilsLutning。si af stryfritstål。Byggelængdeefter din 3202. MedietStrømmeriGennem Sien Indefra Og Udefter,Hvilket Betyder在Snavs / Partikler Samler Sig I Sien Og Ikke I Huset。Foretage en Simpel Men Effektiv Rensning AF Snavssamleren的DetteGørDecmuligt。Snavssamleren er forsynet med relyprop fra dn50

målogvægtss316 pn40(at4046dk)

DN. 15. 20. 25. 32. 40. 50. 65. 80 100. 125. 150.
A. 130. 150. 160. 180. 200. 230. 290. 310. 350. 400 480.
B. 70 78. 85. 100. 125. 135. 170. 190 230. 280. 340.
C. 89. 110. 115. 135. 170. 190 235. 280. 320. 410. 480.
D. 95. 105. 115. 140. 150. 165. 185. 200. 235. 270. 300
Størrelserelyprop. G 1/2 G 1/2 G 1/2 G 3/4 G 3/4 G 3/4
vægt. 2,8 3,8 4,8 7,3 8,5 11,0. 16. 22,5 33,5. 60,5. 91,5
mål我mm,vægtikg。

kvsværdier

DN. 15. 20. 25. 32. 40. 50. 65. 80 100. 125. 150. 200. 250.
kVs(m3 / h) 5,6 10,7. 17,6 29,1. 46,1. 71,6. 119,5 173,5 217,5. 364,4. 537. 820. 1260.
Zetaværdi. 2,5 2,2 2,0. 1,9 1,9 1,9 2,0. 2,2 3,4. 2,9. 2,8 3,8 3,9.
gældende标准si。

Tilbehørog Varianter

- Si-dækselMedKugleventilforUdblæsning
- Si Med Anden Maskevide
- Med Ansi Flanger
- DN200 / 250 I PN25UDFØRSEL(OP TIL DN150 ER PN25 / 40 ENS)。

kontaktpersoner.

肯尼斯霍尔曼

MarkedSchef Industri / Manager工业销售/ B.SC.mech.enginering.

+ 45 46 96 00 78
kh@armatec.dk.

KåreLarsen.

Salgschef - Maskiningeniør/销售经理

+ 45 40 54 95 00
kl@armatec.dk.

Mogens Mouritzen.

实习生Salg - Indkøb/内部销售 - 采购

+ 45 46 96 00 75
mm@armatec.dk.

Peter Eriksen.

实习生Salg - Teknisk支持/实习生。销售 - 技术。支持

+ 45 46 96 00 80
pe@armatec.dk.

雅各布Hemicke.

Maskinmester / Btechman&Mareng - Produktchef /产品经理

+45 40 74 95 93
jah@armatec.dk.

约翰尼霍德勒

Produktchef /产品管理器自动化

+ 45 46 96 00 79
jo@armatec.dk.

Daniel Sigsgaard.

SalgsingeniørIndusti/工业销售工程师

+ 45 46 96 00 96 / + 45 51 77 95 74
ds@armatec.dk.

每个Thomsen.

Maskinmester / Btech&Mareng

+ 45 46 96 00 73
pt@armatec.dk.

Bruno Pedersen.

Salgsingeniør/销售工程师

+ 45 40 93 40 91
bp@armatec.dk.