gåtil indold.

Armatec Snavssamler AT4046DK PN16

Armatec Snavssamler i rustfritstålmed flanger og udskifteligskråtstilletsi。Kan Leveres MedSkellige SiStørrelser。对于vand,潮湿,olie,燃气og korrosive medier。

尺寸område. DN15-300.
PN. PN16
温度råde -20°C直到400°C
莱特勒 RestfritStålSS316.

Varianter.

artikelnummer. antal.
AT4046DK PN16

produktinformation

anvendelse.

所有圆形蛇斯曼勒为Mekanisk Rensning AF Vand,Damp,Olie,Og Kurosive Medier。

kvalitetssikring.

ce-mærkning:ventilerne er ce-mærketiht。ped。Testet Iht。EN12266。

Tekniske数据

物质人员: AT4046DK:RustfritStålSS316(1.4408)
Nominelt Tryk. AT4046DK:PN16(Tryk /CemperaturgrænserIHT。EN1092)
Arbejdsgrænser. 16 BARG / 100°C,13,4 BARG / 200°C,11,8 BARG / 300°C
产量Si. rustfritstål1.4401
maskevide. DN15-DN32:1,5 mm,DN40-DN300:2,0mm
安装 Horisontalt(Ved Damp,Med Filtret Ud Til Siden)
FlangetilsLutning. IHT。EN1092,DN15-150:PN10 / 16,DN200-300 PN10 EL。PN16 Demainers Ved Overre

Funktion og Konstruktion.

Snavssamler Med UdskifteligSkråstilletSiOg FlangetilsLutning。si af stryfritstål。Byggelængdeefter din 3202. MedietStrømmeriGennem Sien Indefra Og Udefter,Hvilket Betyder在Snavs / Partikler Samler Sig I Sien Og Ikke I Huset。Foretage en Simpel Men Effektiv Rensning AF Snavssamleren的DetteGørDecmuligt。Snavssamleren er forsynet med relyprop fra dn50

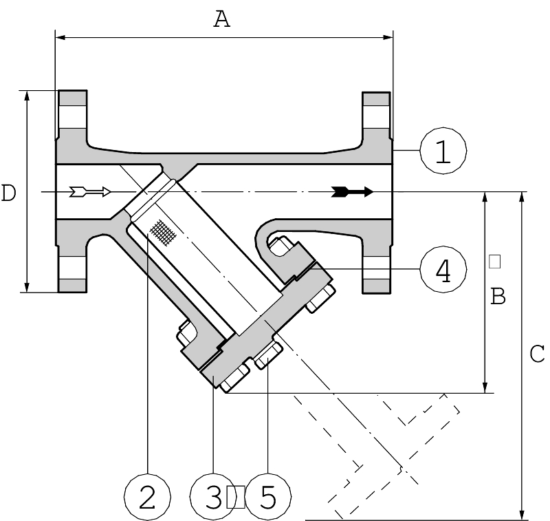
Målogvægtss316 pn16(at4046dk)

DN. 15. 20. 25. 32. 40. 50. 65. 80 100. 125. 150. 200. 250. 300
A. 130. 150. 160. 180. 200. 230. 290. 310. 350. 400 480. 600 730. 850.
B. 85. 85. 114. 114. 135. 155. 189. 200. 232. 274. 276. 377. 512. 564.
C. 89. 110. 115. 135. 170. 190 235. 280. 320. 410. 480. 580. 680. 820.
D. 95. 105. 115. 140. 150. 165. 185. 200. 235. 270. 300 340. 405. 460.
Størrelserelyprop. G 1/2 G 1/2 G 1/2 G 1/2 G1 / 2. G1 / 2. G1 / 2. G1 / 2. G1 / 2.
vægt. 2,3 2,8 3,9. 5,2 6,2 8,2 12. 15. 21. 39. 43. 73. 128. 184.
mål我mm,vægtikg mål我mm,vægtikg。

kvsværdier

DN. 20. 25. 32. 40. 50. 65. 80 100. 125. 150. 200. 250. 300
kVs(m3 / h) 8,8 16,9. 25. 38. 56. 89. 127. 200. 332. 494. 675. 860. 1735.
Zetaværdi. 3,2 2,1. 2,5 2,8 3,1. 3,5. 4. 3,9. 3,5. 3,2 5,5. 3,8 4,3
gældende标准si。

Tilbehørog Varianter

- Si-dækselMedKugleventilforUdblæsning
- Si Med Anden Maskevide(鳍SI 0,25mm)

kontaktpersoner.

肯尼斯霍尔曼

MarkedSchef Industri / Manager工业销售/ B.SC.mech.enginering.

+ 45 46 96 00 78
kh@armatec.dk.

KåreLarsen.

Salgschef - Maskiningeniør/销售经理

+ 45 40 54 95 00
kl@armatec.dk.

Mogens Mouritzen.

实习生Salg - Indkøb/内部销售 - 采购

+ 45 46 96 00 75
mm@armatec.dk.

Peter Eriksen.

实习生Salg - Teknisk支持/实习生。销售 - 技术。支持

+ 45 46 96 00 80
pe@armatec.dk.

雅各布Hemicke.

MaskinMester / Btechman&Mareng - Produktchef /产品经理

+45 40 74 95 93
jah@armatec.dk.

约翰尼霍德勒

Produktchef /产品管理器自动化

+ 45 46 96 00 79
jo@armatec.dk.

Daniel Sigsgaard.

SalgsingeniørIndusti/工业销售工程师

+ 45 46 96 00 96 / + 45 51 77 95 74
ds@armatec.dk.

每个Thomsen.

Maskinmester / Btech&Mareng

+ 45 46 96 00 73
pt@armatec.dk.

Bruno Pedersen.

Salgsingeniør/销售工程师

+ 45 40 93 40 91
bp@armatec.dk.