Ga直到indhold

Armatec Snavssamler AT4042DK

变体

Artikelnummer Antal
在AT4042DK

Produktinformation

Anvendelse

到处都是毒气,潮湿的,油品。

Kvalitetssikring

ce ærkning: ventlerne er ce ærket iht。PED。Testet《国际先驱论坛报》。EN12266。

Tekniske数据

材料: AT4042DK:“斯太尔GSC25
Nominelt tryk AT4042DK: PN40 (tryk/temperaturområde iht.)EN1092)
Arbejdsgræ西里诺克斯 37barg/100°C, 35 barg/150°C, 33 barg/200°C, 30 barg/250°C, 27 barg/300°C, 25 barg/350°C, 23 barg/400°C
炉硅 Rustfrit“斯太尔1.4301
Maskevide DN15-20: 0,6mm, DN25-DN65: 0,8mm, DN80-300mm: 1,2mm
安装 水平喷水(湿的,湿的,湿的)

Funktion og konstruktion

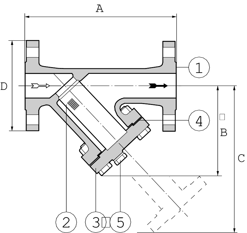
Snavssamler med udskiftelig skråstillet si og flanetilslutning。Si af rustfrit stål 1.4301。在din3202之后。如果您想在您的房子里居住,您可以在您的房子里居住。Dette gør det muligt at foretage en simektiv rensning af avssamleren。耐药链球菌DN50

Mål og vægt Stål PN40 (AT4042DK)

DN 15 20. 25 32 40 50 65 80 One hundred. 125 150 200
一个 130 150 160 180 200 230 290 310 350 400 480 600
B 70 80 88 One hundred. 125 140 170 190 225 260 320 420
C 90 110 120 135 165 195 255 285 325 380 490 620
D 95 105 115 140 150 165 185 200 235 270 300 375
圣ørrelse renseprop G 1/2 G 1/2 G 1/2 G 3/4 G 3/4 G 3/4 G 3/4
Vægt 2、7 3、6 4、5 6、3 8、7 11日0 15 22 31日,5 46 71 135
Mål i mm, vægt i kg。

变电站værdier

DN 15 20. 25 32 40 50 65 80 One hundred. 125 150 200 250 300
变电站(立方米/小时) 5,6 10、7 17日,6 29日,1 46岁,1 71年,6 119年,5 173年,5 217年,5 364年,4 537 820 1260 1735
ζværdi 2,5 2,2 2、0 1、9 1、9 1、9 2、0 2,2 3、4 2、9 2、8 3、8 3、9 4、3
g æ lende表示标准si。

Tilbehør og变体

- Si-dæksel med kugleventil for udblæsning
- Si med anden maskevide
- med ANSI法兰
- dn200 / 250i PN25 udførsel (op til DN150 er PN25/40 ens)。

Kontaktpersoner

肯尼斯小岛

工业/工业销售经理/机械学士。工程

+ 45 46 96 00 78
kh@armatec.dk

凯尔拉森

Salgschef - Maskiningeniør /销售经理

+ 45 40 54 95 00
kl@armatec.dk

Mogens Mouritzen

实习Salg - Indkøb /内部销售-采购

+ 45 46 96 00 75
mm@armatec.dk

每Thomsen

Maskinmester / BTech & MarEng

+ 45 46 96 00 73
pt@armatec.dk

彼得森布鲁诺

Salgsingeniør /销售工程师

+ 45 40 93 40 91
bp@armatec.dk

丹尼尔Sigsgaard

Salgsingeniør Industri /工业销售工程师

+45 46 96 00 96 / +45 51 77 95 74
ds@armatec.dk

彼得•埃里克森

实习生Salg - Teknisk支持/实习生。销售-技术支持

+ 45 46 96 00 80
pe@armatec.dk

雅各Hemicke

Maskinmester / BTechMan & MarEng - producktchef /产品经理

+45 40 74 95 93
jah@armatec.dk

约翰尼Heidler

产品部经理/产品经理自动化

+ 45 46 96 00 79
jo@armatec.dk