Ga直到indhold

Armatec bælgsædeventil AT1028B

Vedligeholdelsesfri bælgsædeventil med flangetilslutning。Ventilen er med rustfri stålbælg, spindel og ættende Ventilen er med rustfri stålbælg, spindel og ættende ventilation。

Dimensionsomrade DN 15 - 300
PN 25
Temperaturomrade -10到250°C
Sejjern GGG

Produktinformation

Anvendelse

Vedligeholdelsesfri bælgsædeventil med flangetilslutning。Ventilen er med rustfri stålbælg, spindel og ættende Ventilen er med rustfri stålbælg, spindel og ættende ventilation。

Kvalitetssikring

DIN 3230标准。

Funktion og konstruktion

我们可以去看医生,我们可以去看医生,我们可以去看医生。Mediet kommer således ikkke i kontakt med sikkerhedspakdåsen hvilket gør ventilen 100% vedligeholdelsesfri。文特伦·贝特延斯·埃贝斯·埃尔特勒斯·åben静止。Stålbælg og ventilspindel er udført i rustfri stål。

文堤伦·坎安装vilkårlig stilling。

Tekniske数据

Tilslutning: 法兰:DN15 - DN300 (DIN 2501)
安装: Horisontalt og vertikalt
Nominelt tryk: PN25
Arbejdsomrade EN1092

-10°C/25巴罗,200°C/23巴罗,300°C/20巴罗

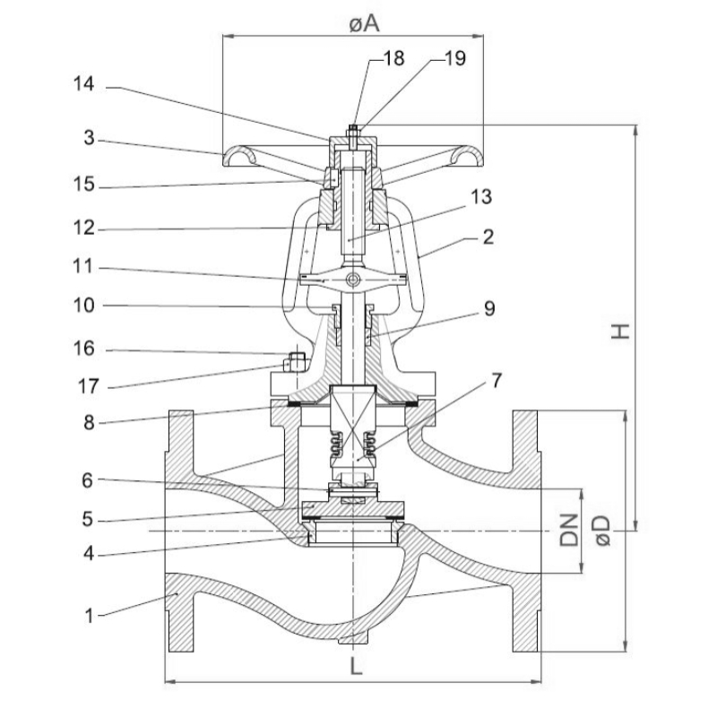
材料

1 溶血性尿毒综合征 Sejjern GGG40.3 (EN-JS1049)
2 Overdel GGG40.3
3. Handhjul GG25 / ST37 malet
4 年代æ德 Rustfrit“斯太尔1.4021/1.4057
5 Kegle Rustfrit“斯太尔1.4021
6 Kegle stift Rustfrit“斯太尔1.4021
7 Bælg Rustfrit“斯太尔1.4571/1.4541
8 Pakning Grafit, asbestfrit
10 Fø环 ST37 malet
11 Indikator “斯太尔GP240GH / GSC25
12 斯宾德尔米ødtrik “斯太尔St37
13 斯宾德尔 Rustfrit“斯太尔1.4301/1.4021
14 “斯太尔ST37
15 凯乐 Rustfrit“斯太尔1.4301
16 Bolte拍摄 “斯太尔CK35
17 Møtrikker “斯太尔TS1026/2
18 Møtrik “斯太尔CK35
19 Skrue “斯太尔TS1026/2

Mål, værdi

法兰在DIN 2534之后
DN 15 20. 25 32 40 50 65 80 One hundred. 125 150 200 250
l 130 150 160 180 200 230 290 310 350 400 480 600 730
H 230 230 248 248 268 268 312 366 400 462 488 559 701
ø一 120 120 160 160 200 195 195 250 325 360 360 525 525
øD 95 105 115 140 150 165 185 200 235 250 285 340 395
Vægt 4、6 5,4 7日0 9日4 12日,2 14日4 19日0 34 49 73 91 156 258
变电站 5,4 9日,6 15 24 37 57 95 141 218 316 430 723 1077
罗依 4、7 4、6 4、7 4、6 4,8 4、7 4,8 5 4、9 4、9 4、9 5、2 5,4
Mål i mm, vægt i kg, kvs i m3/h, Ro (modstandstallet)

Kontaktpersoner

肯尼斯小岛

工业/工业销售经理/机械学士。工程

+ 45 46 96 00 78
kh@armatec.dk

凯尔拉森

Salgschef - Maskiningeniør /销售经理

+ 45 40 54 95 00
kl@armatec.dk

Mogens Mouritzen

实习Salg - Indkøb /内部销售-采购

+ 45 46 96 00 75
mm@armatec.dk

丹尼尔Sigsgaard

Salgsingeniør Industri /工业销售工程师

+45 46 96 00 96 / +45 51 77 95 74
ds@armatec.dk

彼得•埃里克森

实习生Salg - Teknisk支持/实习生。销售-技术支持

+ 45 46 96 00 80
pe@armatec.dk

雅各Hemicke

Maskinmester / BTechMan & MarEng - producktchef /产品经理

+45 40 74 95 93
jah@armatec.dk

约翰尼Heidler

产品部经理/产品经理自动化

+ 45 46 96 00 79
jo@armatec.dk

每Thomsen

Maskinmester / BTech & MarEng

+ 45 46 96 00 73
pt@armatec.dk

彼得森布鲁诺

Salgsingeniør /销售工程师

+ 45 40 93 40 91
bp@armatec.dk