Tvåklafffjäderbelastadbackventil i rostfrittstålförkrävandedriftförlanden,lämpligförvätskoroch gourer Inom T.ex.Gruvor,Stålverk,skogsindustri,kraftproduktion,raffinaderier,Petrokemi och海上。
| Dimensionsomrade | dn100到dn600 |
|---|---|
| PN. | 10/16/25/40 |
| Temperaturomrade | -200°C至+400°C |
| 材料 | Rostfritt“斯太尔 |
| Artikelnummer | Husmaterial | DN. | PN. | 温度(°C) | Antal | ||
|---|---|---|---|---|---|---|---|
| 在2654年 | Rostfritt“斯太尔 | 100 - 600 | 10/16/25/40 | -200-400. | Forfragan | Forfragan | 优惠 |
Tvåklaff fjäderbelastad backventil för krävande driftförhållanden, lämplig för vätskor och gaser inom t.ex。Gruvor,Stålverk,skogsindustri,kraftproduktion,raffinaderier,Petrokemi och海上。
TVåklaff-backventiler rekommenderas ej vidflödemedhögpulseringsfrekvens,t.ex.我Samband Med Kolvpumpar eller Kompressorer。
PSE.31 Backventiler IVätskesystem
Tvåklaff-backventil at26 ..,dn .....,fjäderbelastad,med hus av .......... samt klaffar av ..........förvishänningmellanflänsar。
Proving Sker Envigt SS-ISO 5208,Läckageklass1GällerFörMetallisktTätandeVentilerLäckageklass3GällerFörVentilerMedMjuktätning。
Intyg SS-EN 10204, 2.2 och 3.1, och av de flesta klassningssällskapen。Typ av önskat intyg anges vid beställning。
CE-Märkning.
vendorna uppfyller kraven i AFS 2016:1, direktivet för tryckbärande anordningar, enlit följande。(Endast högsta nivå变化。)
| Kategori. | |||||||||
| 8§ | 一世 | II | 3 | ||||||
| Fluidgrupp. | |||||||||
| 在nr | 维 | 1 | 2 | 1 | 2 | 1 | 2 | 1 | 2 |
| 在2650年 | DN 100-600. | X | |||||||
| 在2652年 | DN 100. | X | X | ||||||
| 在2654年 | DN 100. | X | X | ||||||
| 在2656年 | DN 100. | X | X | ||||||
| 在2652年 | DN 125-600. | X | X | ||||||
| 在2654年 | DN 125-600. | X | X | ||||||
| 在2656年 | DN 125-600. | X | X |
| p | Komponent | 在2650年 | 在2652年 |
|---|---|---|---|
| 1 | Ventilhus | Segjärn GGG40 EN-GJS 400-15 | KOLSTÅL1.0460 / 1.0619 |
| 2 | Klaffar | 布朗CC483K. | DN50-150: Rostfritt stål 1.4408 |
| DN200 - ...:KOLSTÅL1.0460 | |||
| 3. | 阿克塞尔 | rostfritt syrafaststål1.4571 | rostfritt syrafaststål1.4571 |
| 4. | FJÄDER. | rostfritt syrafaststål1.4571 | rostfritt syrafaststål1.4571 |
| p | Komponent | 在2654年 | 在2656年 |
|---|---|---|---|
| 1 | Ventilhus | rostfrittstål1.4301 / 1.4308 | rostfritt syrafaststål1.4404 / 1.4408 |
| 2 | Klaffar | rostfrittstål1.4301 / 1.4308 | rostfritt syrafaststål1.4404 / 1.4408 |
| 3. | 阿克塞尔 | rostfrittstål1.4301 | rostfritt syrafaststål1.4404 / 1.4408 |
| 4. | FJÄDER. | rostfritt syrafaststål1.4571 | rostfritt syrafaststål1.4571 |
| DN. | 100. | 125. | 150 | 200. | 250 | 300 | 350. | 400 | 500. | 600 | ||||||||||
|---|---|---|---|---|---|---|---|---|---|---|---|---|---|---|---|---|---|---|---|---|
| 一种 | 64 | 70 | 76 | 89 | 114. | 114. | 127. | 140 | 152 | 178 | ||||||||||
| B PN 6. | 152 | 183 | 208. | 262 | 317. | 376 | 426. | 476. | 581. | 682. | ||||||||||
| B PN 10. | 165 | 195 | 221. | 276 | 331. | 381 | 411. | 492 | 597. | 699. | ||||||||||
| B PN 16. | 165 | 195 | 221. | 276 | 332. | 387 | 447. | 499 | 621. | 738. | ||||||||||
| B PN 25. | 171 | 197 | 227. | 287 | 344. | 404. | 461. | 518. | 628. | 735. | ||||||||||
| B PN 40. | 171 | 197 | 227. | 294 | 356. | 421. | 478. | 550. | 632. | 751. | ||||||||||
| Vikt PN 6 | 8. | 12. | 13、5 | 21. | 36 | 48 | 69 | 88 | 154 | 241. | ||||||||||
| Vikt PN 10 | 8、5 | 12、5 | 15. | 22. | 38 | 50 | 74 | 94 | 163 | 252 | ||||||||||
| Vikt PN 16 | 8、5 | 12、5 | 15. | 22. | 38 | 52 | 76 | 97 | 175 | 284 | ||||||||||
| VIKT PN 25. | 9. | 12、5 | 15、5 | 23 | 41 | 56 | 80 | 104. | 178 | 282 | ||||||||||
| VIKT PN 40. | 9. | 12、5 | 15、5 | 25 | 45 | 60 | 86 | 118. | 181 | 294 | ||||||||||
| mått我mm,vikt i kg。UppGifterFördn50-80,450 och 700-1200pågagäran。 | ||||||||||||||||||||
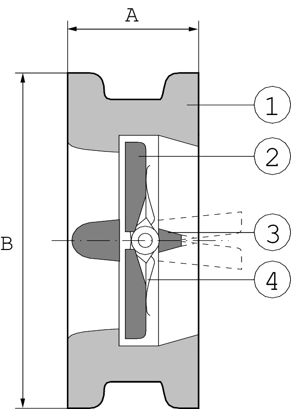
TVåklaff-backventilerkännetecknasav:
- StängernnanmedströmmenVänder
- mycketlågttryckfall
- HögTäthet.
——stort temperaturomrade
——健壮konstruktion
- StorDriftsäkerhet.
- Möjlighet直到奥里卡素质表达
| 临时 | Tryck | 临时 | Tryck | ||
|---|---|---|---|---|---|
| °C. | PN. | °C. | PN. | ||
| 在2650年 | 20. | 16. | 在2652年 | -10年 | 40 |
| 150 | 14. | 200. | 38 | ||
| 250 | 11. | 300 | 32 | ||
| 300 | 10. | 400 | 22. | ||
| 在2654年 | -200年 | 40 | 在2656年 | -200年 | 40 |
| -10年 | 40 | -10年 | 40 | ||
| 200. | 23 | 200. | 29 | ||
| 300 | 20. | 300 | 26 | ||
| 400 | 17. | 400 | 24 |
| 放置 | Horisontell. | vertikal Upp. | vertikal Upp. |
|---|---|---|---|
| DN. | 地中海fjader | 地中海fjader | Utanfjäder. |
| 50-65 | 0,015 | 0,025 | 0,010 |
| 80 - 100 | 0,015 | 0,030 | 0,015 |
| 125 - 250 | 0,015 | 0,035 | 0,020 |
| 300-450. | 0,015 | 0,045 | 0,030 |
| 500. | 0,015 | 0,055 | 0,040 |
| 600 - 700 | 0,015 | 0,075 | 0,060 |
| 800-1200 | 0,015 | 0,085 | 0,070 |
| DN. | 100. | 125. | 150 | 200. | 250 | 300 | 350. | 400 | 500. | 600 |
|---|---|---|---|---|---|---|---|---|---|---|
| K.vs | 285 | 460. | 740. | 1500 | 2400 | 3700 | 5100. | 6700 | 12000 | 16000 |
| NBR. | -25 - + 90°C |
| 三元乙丙橡胶 | -45 - + 130°C |
| FPM(氟橡胶®) | -15 - + 200°C |
| PTFE. | -200 - + 250°C |
- O-RingstätningarAV EPDM(Tillägge),NBR(Tilläggn),PTFE(Tilläggt)EllerViton®(Tilläggv)
- MarintUtförande在2350g MedInvändigtGummeratVentilhus
- förslurry meddenvändigtgummerat hus och gummerade klaffar
- Ventiler i DN 50-80, 450 och 700-1200
- Andra materialvalitter och tryckklasser
- För温度över 300°C, används Inconelfjäder
- Ventiler enlight ANSI Class 125-900 och bygglängd enlight API 594
- FörVishnnningMellanFlänsar
-通风设备安装我的水平和vertikala ledningar med flöde uppåt。
- VID蒙特林I HorisontellRörledningSkallVentilenPlaceras MedLodrätAxel。
-太平på通风huset visar flödesriktning。
- ventilerfråndn200ÄRFörseddaMedLyftögla。
Fabrikat,Pn,DN,材料ochflödespil。
| Exempel:2652E-16-300 | ||||
| Backventil av stål med EPDM-tätning, PN16, dn300 | ||||
| vontil. | 材料 | Tätning. | tryckklass. | DN. |
|---|---|---|---|---|
| 2650 | Grajärn/布朗 | - = Metalliskt. | 10 = PN 10 | 300 |
| 2652 | “斯太尔 | E =三元乙丙橡胶 | 16 = PN 16 | |
| 2654 | Rostfritt“斯太尔 | n = nbr. | pn 25 = pn | |
| 2656 | Syrafast“斯太尔 | t = ptfe. | 40 = PN 40 | |
| V =氟橡胶® | pn 63 = pn |
Elektriskt flervarvsmanöverdon för kilslidsventiler, skjutspjäll, kägelventiler eller där flervarvsrörelse…
välj.
Kulventil Med Reducerat Tenomlopp AV RostfrittStål/ CPTFE MedSvetsändarAlt。inv。Gängorochfästfläns...
välj.
HögVentilhals,Fullt Genomlopp,PN 10,Presspex Kopplingar OchStålhandtag。Kulventil AvAvzinkningshärdig...
välj.
Friblåsande säkerhetsventil (utan utloppsanslutning) av mässing。Mjuktatad kagla(氟橡胶)。Inlopp utvandig……
välj.
ElektrisktManöverdonFör开/关Eller Reglering Av Kulventiler,Vridspjällellerdär90°Vridning ...
välj.
HögHals,Fullt Genomlopp,InvändigGängaochStålhandtag。Viridi Kulventil我avzinkningshärdigblyfri ...
välj.
Smutsfilter AVGrajärnMedFlänsar,PN 16. Silinsats Av RostfrittStål,MaskVidd 0.6毫米。seconat silkorg ......
välj.
Högkvalitativt heltätande vridspjäll med disk i duplex, fastvulkaniserat gummifooder i EPDM。Semi-LUG……
välj.
Kulventil av rostfritt stål/PTFE med svetsändar alt. inv. gängor och fästfläns för manöverdon。Lamplig……
välj.
SäkerhetsventilFörSlutnaVarmvattenanläggningarSom Pannor OchVärmeväxlare。Säkerhetsventiläven...
välj.
Smutsfilter Med Unik Konstruktion Som Ger EttLågttryckfall ochlångaunderhållsintervall。我stål......
välj.