Hoppa TillInnehåll.
在8314

Nivåvakt在8314

IntegeradSäkerhetsutrustningFörpanna> 100 kW,Komplett MedNivåvakt。

Effektområde. Över100kw.
PN. 16.
maxtemperatur 110°C.
浮起 varfvatten.

Varianter.

artikelnummer. DN. PN. maxttemperatur(°C) anslutnings维度 AVS.DATUM Bruttopris. antal.
在8314A25 25. 16. 110. G 1 2021-07-28 13 300 SEK.Färreän10我的啤酒

produktinformation

Användningsområde.

Skall I enpannanläggningautomatiskt avbrytaEnergitillförselnto to PannanVidÅngbildnialningEllerLågVattennivå。

ama-text.

PSG.2Säkerhetsdon.
Nivåvakt在8314-25。FörövervakningAV en Panna Ent。AFS 2002:1 OCH VVA 1993。

kvalitetssäkring.

Engigt AFS 2002:1 OCH VVA 1993 Skall Pannan I SlutenVärmeanläggning,SOMÄRAvseddFör纪骑兵·瓦拉乌斯特拉德MedNivåvakt。
enhetenÄrGodkändIn。AFS 1994:4 Kategori IV OCHÄRCE-Märkt。

detaljförteckning

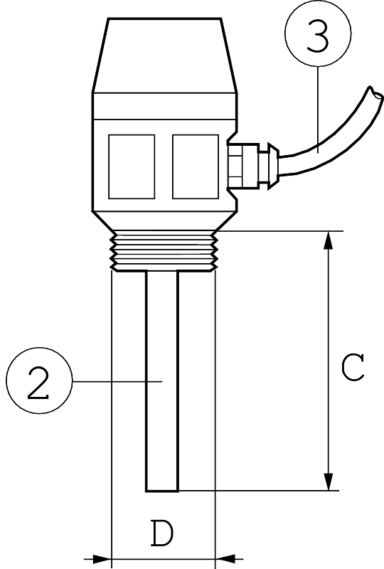
1 Elektronikenhet. Kapslingsklass IP54
2 Elektrod. rostfrittstål,avisolerat med ptfe
3. kabel. Värmebeständigvsk 2x0,75 mm

måttoch vikt.

一种 105.
B. 166.
C 105.
D. G 1
vikt. 3,2

Funktion Och Konstruktion.

Genom Att Utnyttja Pannvattnets Konduktivitet,Skickas enelströmfrånElektronikförstärkaren威克斯·斯卡伦(Elekärmade)elektrodkabeln至Elektroden。Nivåvaktenutlöses(StopparOljebränarenMed)elektroden下的Närnivånsjunker。Larmgår。Återstart溜冰商Med Nykel。FunktionsfördröjningPåmax。10瑞典克朗。förhindrar“Tjuvutlösningar”。Funktionen Kan Testas Med Testknappen。vidspännnningavbrottlängreän10sek。Utlösesnivåvakten。


NivåvaktenÄRdubbelkontrollerad,VilfortInnebärvå系统Som Fungerar Oberoende Av Varandra。OM LamelampanPånivåvaktenInteTändsVid“Apparatprov”,Har FelUppståttPånågotAVSystemen。TappatskåpetMåsteTåtgärdas。


NivåvaktenÄRkonstruerad engigt“未能安全”-principen。ÄvenelektrodkabelnÄrkontrollerad。Nivåvaktenutlösesvidkabelfel。








Teknisk数据

Manöverspänning. 230V±10%
nätfrekvens. 50/60Hz±10%
effektförbrukning CA 10 VA.
BryteffektManöverrelä. 1000 va.
最大限度。omgivningstemperatur. + 50°C
塔瑟格拉德 IP54.
ElektrodPänning. 42V 50 Hz.
Ledningsförmåga. 最小100μs/ cm

tillbehöroch varianter

Finnsävenioulandeförfält蒙太奇I GemensamtProperskåp。

安装

ÅterställningFår,恩格兰·佩兰德·Bestämmelser,endastSke MedNyckelmanövrering。在正常的ska nyckelnförvarasavansvarig人下。
NivåvaktenFårmaraGemensamFörFleraPannor,FörutsattAtt Att Att Att AttVärustadMedVäxelventiler。

Underhålloch reservedelar.

FörSäkerFriftOchFunktionBörfunktionsprovGörasMinstengång

Märkning.

Ärmärktmederforderliga inkplingsdata,leverantöroch artikelnummer。

昆斯克省

verktyg.

Ta del av besparingskalkaller ochhjälpfullaverktyg somunderlättarproduktval。

hitta dittverktyg.

hand

vi delargärnamed ooss av kunskap,Härhrvisamlat AlltAnvändbartPåShats。

väljhandbok.

服务

UTIFALL ATTDEVÄNTADEHÄNDERKANDAKÄNNADIG TRYGG MEDVÅRTServiceavtal。

läsmeromvårtserviceerbjudande

Utbildning.

KunskapÄrBästnärMandelar den。HärHittardu信息OM Aktuella Utbildningar。

läsmeromvårautbildningar

kontaktpersoner.

Mattias Arvidsson.

Projektledare,Teknikrum&Energisystem

031-89 01 82.
mattias.arvidsson@armatec.se.SE.

托马斯卡尔森

Projektledare,Teknikrum&Energisystem

031-89 01 83.
Thomas.carlson@armatec.se.se.

mer omvårakoncept

Energisystem&Teknikrum

Vid Komplexa Projektärdetvärdefulltmedförutsägbarhet。Våra预造就器增强器GER挖全康尔尔。komplett och kundanpassat。alltid med totalekonomi ochmiljöiåtanke。

läsmer.