Hoppa TillInnehåll.
在8316

Flödesvakt在8316

SomÖvervakareavflödenivatten,olja och luft。skall t.ex.AvbrytaEnergitillförsln直到en Panna Om Minsta AvseddaVattenströmningunderskrids。Kan MedOmvändfunktionanvändassom vakt i sprinklersystennärdttautlösesochflödetÖkar。

PN 100.
maxtemperatur 120°C.
浮起 瓦顿

Varianter.

artikelnummer. DN. PN maxttemperatur(°C) anslutnings维度 AVS.DATUM Bruttopris. antal.
在8316-15 15. 100. 120. G 1/2 2021-07-28 11 000 SEK.Färreän10我的啤酒
8316HF15 15. 100. 120. G 1/2 2021-08-26 11 600 SEK.Beställningsvara.

produktinformation

Användningsområde.

SomÖvervakareavflödenivatten,olja och luft。skall t.ex.AvbrytaEnergitillförsln直到en Panna Om Minsta AvseddaVattenströmningunderskrids。Kan MedOmvändfunktionanvändassom vakt i sprinklersystennärdttautlösesochflödetÖkar。

ama-text.

PSG.2Säkerhetsdon.
Flödesvakt在8316-15 komplett med givare och 5 mvärmebeständigptfe-kabel。

kvalitetssäkring.

Engigt AFS 2002:1 och vva 1993 Skall en Panna(Gällerejnollflödespanna)我envärmeanläggning,somäravseddför纪issövervakning,vara utrustad medflödesvakt。

detaljförteckning

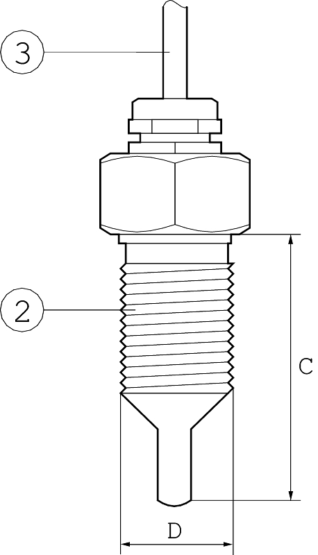
1 Elektronikenhet. Kapslingsklass IP65
2 Insticks-Givare. Stålss316,Tåltryck UPP直到100巴
3. kabel. värmebeständigptfe-kabel,längd5米

måttoch vikt.

一种 80
B. 171.
C 47.
D. G 1/2
vikt. 0,7.

Funktion Och Konstruktion.

这是一个术语。我给vardelen finns två temperaturavkännande传感器。En av dessa är uppvärmd av ett el-element, så att dess temperature alltid är något högre än den andra sensorn, vilken alltid samma temperature som mediat。Detta skapar en temp.differens mellan sensorerna, vilken är störst vid ett nollflöde, för att sedan minska med mediets flödeshastighet。好的,请稍事修改:förstärks i elektronikdelen till signaler som påverkar lysdiodskalan i förhållande till det avkända flödets hastighet。

Tekniska数据

Spänningmatting. 230V AC + 10 / -20%
Reläfunktion. overtyfri,växlande,最大2a
Kapslingsklass. IP 65.
omgivningstemperatur -20到+ 60°C
温度råde -20到+ 120°C
maxtryck. 100巴
anslutningsgivare. 1/2“Gänga.
材料 SS 316.
responstid. 1-13 Sekunder.
inställningsområdevatten. 0,01-1,50 m / sek
Inställningsområdeolja. 0,03-3,00 m / sek
inställningsområdeluft. 2,00-30,00m / ek.

tillbehöroch varianter

StartalutFörandet在8316-15 Ger Larm Vid MinskandeFlöde。Finns IUtförandeFörlarmVidÖkandeFlöde,在8316HF15。

安装

Givaren Kan Valfritt MonterasFrånPotp,Sida Eller Desskant。ViktigtÄr码头att helamätspetsenkommer ikontakt med mediet。
NärAnläggningenNAURTATSOCHFlödeFinns,SkerInställningAV Lampukten Genom Att SkruvaPåJustingArna“grov”och.“鳍”。MedHjälpavlysdiodernaärdetdåmöjligtattälla在Önskatlampflöde。


föratundvika“tjuvlarm”p.g.a.MycketTillfälligaFlödesvarizationer,Kan EnTidsfördröjningLäggas在Genomat AttateOm Att Att DenHögraTrimportenMärkt“Tidsfördröjning”vrids医生直到Önskadtid i sek。


Som En En Helt Separat Funktion Finnsocksåen encepaturvakt med en seconatrelätugånginbyggd。Denna KanAnvändasnärboovävenvakingingingingingfinns。

Underhålloch reservedelar.

FörSäkerFriftOchFunktionBörfunktionsprovGörasMinstengång

Märkning.

Ärmärktmederforderliga inkplingsdata,leverantöroch artikelnummer。

昆斯克省

verktyg.

Ta del av besparingskalkaller ochhjälpfullaverktyg somunderlättarproduktval。

hitta dittverktyg.

hand

vi delargärnamed ooss av kunskap,Härhrvisamlat AlltAnvändbartPåShats。

väljhandbok.

服务

UTIFALL ATTDEVÄNTADEHÄNDERKANDAKÄNNADIG TRYGG MEDVÅRTServiceavtal。

läsmeromvårtserviceerbjudande

Utbildning.

KunskapÄrBästnärMandelar den。HärHittardu信息OM Aktuella Utbildningar。

läsmeromvårautbildningar

kontaktpersoner.

Mattias Arvidsson.

Projektledare,Teknikrum&Energisystem

031-89 01 82.
mattias.arvidsson@armatec.se.SE.

托马斯卡尔森

Projektledare,Teknikrum&Energisystem

031-89 01 83.
Thomas.carlson@armatec.se.se.

mer omvårakoncept

Energisystem&Teknikrum

Vid Komplexa Projektärdetvärdefulltmedförutsägbarhet。Våra预造就器增强器GER挖全康尔尔。komplett och kundanpassat。alltid med totalekonomi ochmiljöiåtanke。

läsmer.