Hoppa TillInnehåll.
在1806年

1806年Tryckmätarsats

Tryckmätarsats,Armatur RostfrittStål,VattensäcksrörieStål,PN 160. exklusiveTryckmätareoch svetstuds。

尺寸område. DN 10.
PN. 160.
温度råde -20ºC直到+280ºC
材料 rostfrittstål&stål

Varianter.

artikelnummer. Mätområde(酒吧) Utförande. 材料MediaBerört. DN. 温度(°C) AVS.DATUM Bruttopris. antal.
在1806-10-10 0-10 Visuell Visning rostfritt syrafaststål,stål 10. -20°C直到280°C 2021-07-29 3 790 SEK.我忍受了
1806-10-16 0-16 Visuell Visning rostfritt syrafaststål,stål 10. -20°C直到280°C 2021-07-29 3 790 SEK.Färreän10我的啤酒

produktinformation

Användningsområde.

förtryckmätningavi i huvudsak varmt / kallt vatten,värme-/ kylvatten,Ångasamtneutralavätskoroch gour。

ama-text.

UGC.31 *MätareFörTryck,Rörmonterade,Med模拟Visning Av MoneyantVärde
Tryckmätarsatsat180 ....,dn 10(husdiameter .... mm)
Graderad 0 -....酒吧

kvalitetssäkring.

ventiler,anslutningsstycke ochtryckmätareärutfördaengigt sms。

detaljförteckning

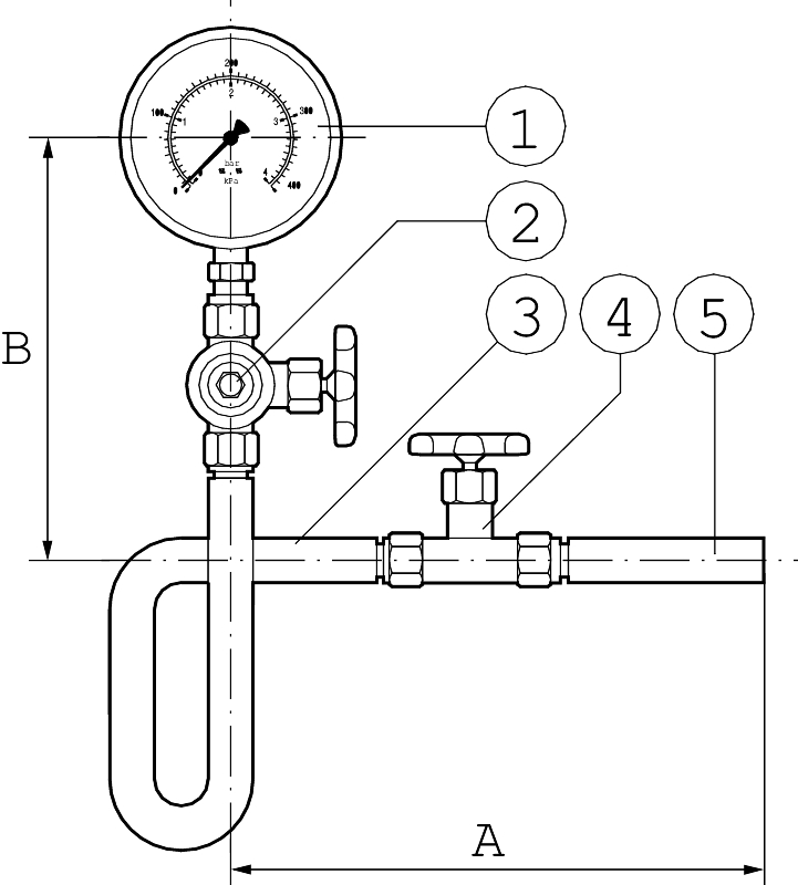
1 tryckmätare. 在4259(100mm) KopParlegering.
2 Vattensäcksrör. 在1820年 Ståls1435.
3. Tryckmätarventil. 1892年 rostfrittstål.
4. anslutningsstycke. 在1899年 rostfrittstål.

måttoch vikt.

一种 270.
B. vid husdiam。100. 205.
B. vid husdiam。160. 235.

Funktion Och Konstruktion.

VidTryckmätningPåÅngaellerHetaVätskorMåsteTryChmätarenSkydddasMotHögucietatur。温度vidtryckmätarenfårlineÖverstiga50°C。FördtaAnvändsLämpligenVattensäcksrör。

TryckmätarePåÅngPannoreller和RaTryckkärl,FörvilkaofficiellaFöreskrifterGäller,SkallFörsesMedKontrolltryckmätarventilFörAnslutningAvKontrolltryckmätare。

FöratkunnaÅtgärdakontrolltryckmätarventilendrift,börchetenkompeterterasmed entryckmätarventil。
TryChmätarsatorenat 1806ÄRSpecielltAvseddFörfjärrvärme-primäreftersom den har minalaltmedgänganslutningar。

obs!VidÖverhettadÅngaerfordras oftaenlängreRörslingaÄnEttVattensäcksrörföratttChatmätarenejskallÖvertempereras。
Tryckmätarsatsenlevererasförpackadoch med monteringsanvisning。

Tekniska数据

TryckmätarsatornaaBestårVFöljandeKomponenter:

尺寸

SkalområdetBörVäljasShigtdeförekommandeStanditalOmrådenOMFinns。VidKonstantbelastingBörej 2/3 AvSkalområdetÖverstigas,Och VidVäxllandeBellasting 1/2Skalområdet。

tillbehöroch varianter

TryChmätarenGårävenatFåidämpvätskefylltutförandesamt med gradinger avvikandeifrån标准。
Övrigatillbehörsåsomdämpningsdon,TatchförmedlareSamtKonsoler VidSärskildFörfrågh。

安装

Tryckmätarsatsenskall monterassåat上帝avläsningavtryckmätarenerhålles。Detärocksåviktigt,särskiltpålägretryccchområdh,att satsen monterassåatttryckmätarensittervertikalt med tappennedåt。
svetsstutsen insvetsas horisontellt eller helst med Lutning Ca 5 GraderNedåt,vilket Ger Ordenlig Avluftning SamtVattenfyltRRörOchVentil,MedLägreu​​ciotaturomFöljd。

Underhålloch reservedelar.

SamtligaIngåendeKomponenterKan Levereras Som Aledata Reservedelar。SEÄvenbruksanvisning在1800-1806。

Beställningsnyckel.

Exempel:1806-10-6
在1806年 -10 -6
图。NR。 DN. Mätområde(酒吧)
1806 = SOM 04,Men UtanTryckmätarventiloch svetsstuts 2,5
4.
6.
10.
16.
25.
40.

Reasterade Produkter.

昆斯克省

verktyg.

Våratabellerunderlättarindbaretsvardag。HärHittarduförfrågningsunderlagoch tabeller somhjälperdigVäljaRätt尺寸OchUtförande。

se verktyg.

Utbildning.

varjeÅrhållerarmatec sinpopulärakursoÅnga-och kondensatsystemdäravsnittet ger teoretisk kunskap om regleringiallmänhetoch reglerventiler i synnerhet。

läsmeromvårtutbildningserbjudande

hand

TA DEL AVGrundlägandeEBGREPPINOM ProcesserReglering OchFåenförståsseFörReglerventilen,Dess InverkanPåRegleringenSamt Komponenterna Runt Omkring。

väljhandbok.

kontaktpersoner.

MIA SEPP.

Innesäljare.

031-89 01 86.
mia.sepp@armatec.se.se.

MAGNUS LINDBERG.

Innesäljare.

031-89 01 81
magnus.lindberg@armatec.se.se.

汉普斯赫雷格伦

Marknads-Och Produktansvarig,ventiler和自动化

031-89 01 19.
汉普斯.Hampusgren@armatec.se.se.

Sandrasjöberg.

Innesäljare.

031-89 01 79.
sandra.sjoberg@armatec.se.se.

Susanne Noring.

Innesäljare.

031-89 02 17.
susanne.noring@armatec.se.se.

Marie-Louise EK

Innesäljare.

031-89 01 62.
marie-louise.ek@armatec.se.

mer omvårakoncept

仪器和Reglerteknik.

VI Ser Till Att DuFårrätt信息Förat斯特拉DIN工艺。Korrekt Mecildatur,Flöde,Hastighet,Nivåoch Tryck Ger EttUtmärkt底层För分析,优化OCH借断。

läsmer.