Hoppa直到innehall
在1801

Tryckmatarsats在1801

Tryckmätarsats, mässingsarmatur, vattensäcksrör i stål, PN 100。地中海Tryckmatare husdiam。160毫米。

Dimensionsomrade DN 10
PN One hundred.
Temperaturomrade -20ºC至+185ºC
材料 集结&“斯太尔

变体

Artikelnummer Matomrade (bar) Utforande 材料mediaberort DN 温(°C) Avs.datum Bruttopris Antal
在1801-10-2 5 0 - 2、5 Visuell运营商 集结,“斯太尔 10 -20°C到185°C Forfragan Forfragan Offert
在1801-10-4 0 - 4 Visuell运营商 集结,“斯太尔 10 -20°C到185°C 2021-08-24 280瑞典克朗Tillfalligt荡妇
在1801-10-6 0 - 6 Visuell运营商 集结,“斯太尔 10 -20°C到185°C 2021-08-31 280瑞典克朗Tillfalligt荡妇
在1801-10-10 0-10 Visuell运营商 集结,“斯太尔 10 -20°C到185°C 2021-08-09 280瑞典克朗Färre än 10 i lager
在1801-10-16 Visuell运营商 集结,“斯太尔 10 -20°C到185°C 2021-08-09 280瑞典克朗Färre än 10 i lager
在1801-10-25 0-25 Visuell运营商 集结,“斯太尔 10 -20°C到185°C 2021-08-31 280瑞典克朗Tillfalligt荡妇

Produktinformation

Anvandningsomrade

För tryckmätning av i huvudsak varmt/kallt vatten, värme-/kylvatten, ånga samt neutrala vätskor och gaser。

AMA-text

UGC.31 *Mätare för tryck, rörmonterade, med analog visning av moments värde
Tryckmatarsats AT180……husdiameter ....毫米)
Graderad 0 -…酒吧

Kvalitetssakring

文蒂勒,anslutningsstycke och tryckmätare är utförda enlight SMS。

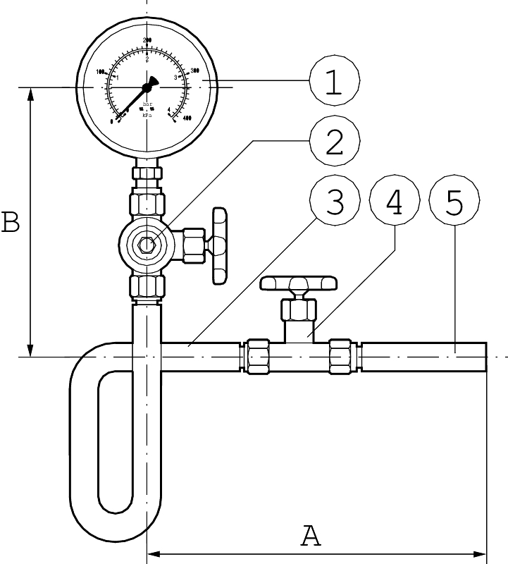
Detaljforteckning

1 Tryckmatare 4256(160毫米) Kopparlegering
2 Kontr.tryckm.ventil 在1844 集结
3. Vattensacksror 在1820 “斯太尔1.0345
4 Tryckmatarventil 在1842 集结
5 Svetsstuds 在1825 “斯太尔1.0460
6 Anslutningsstycke 在1849 “斯太尔

马特och vikt

一个 270
B vid husdiam。One hundred. 205
B vid husdiam。160 235

Funktion och konstruktion

Vid tryckmätning på ånga eller heta vätskor måste tryckmätaren skyddas mot hög温度。温度vid tryckmätaren får inte överstiga 50℃。För detta används lämpligen vattensäcksrör。

Tryckmätare på ångpannor eller andra tryckkärl, för vilka officiella föreskrifter gäller, skall förses med kontrolltryckmätarventil för anslutning av kontrolltryckmätare。

För att kunna åtgärda kontrolltryckmätarventilen under drift, bör enheten kompletteras med en tryckmätarventil。

奥林匹克广播服务公司!Vid överhettad ånga erfordras ofta en längre rörslinga än ett vattensäcksrör för att tryckmätaren ej skall övertempereras。
Tryckmätarsatsen levereras förpackad och med monteringsanvisning。

Tekniska数据

Tryckmätarsatserna består av följande komponenter:

Dimensionering

Skalområdet bör väljas enlight de förekommande standardområden som finns。Vid konstantbelastning bör ej 2/3 av skalområdet överstigas, och Vid växlande belastning 1/2 skalområdet。

Tillbehor och变体

Tryckmätaren går även att få i dämpvätskefyllt utförande samt med gradering avvikande ifrån standard。
Övriga tillbehör såsom dämpningsdon, AT 1828, tryckförmedlare samt konsoler vid särskild förfrågan。

安装

Tryckmätarsatsen skall monteras så att god avläsning av tryckmätaren erhålles。Det är också viktigt, särskilt på lägre tryckområden, att satsen monteras så att tryckmätaren sitter vertikalt med tappen nedåt。
Svetsstutsen insvetsas horisontellt eller helst med lutning ca 5 grade nedåt, vilket ger ordentlig avluftning samt vattenfyllt rör och ventil, med lägre temperatsom följd。

Underhall och reservdelar

桑特丽加ingående我想买些别的。Se även bruksanvisning AT 1800-1806。

Bestallningsnyckel

Exempel: 1801-10-6
在1801 -10 -6
Fig. nr。 DN Matomrade (bar)
1801=mässingsarmatur, stålrör, husdiam 160毫米 2,5
6
10
16
25

Tillbehor

Tryckmatare在4256

Tryckmätare R3/8 x 160毫米。Klass 1, 0。

Valj

Relaterade produkter

Kunskap

Verktyg

Våra tabeller underlättar din arbetsvardag。Här hittar du förfrågningsunderlag och tabeller som hjälper dig välja rätt dimension och utförande。

Se verktyg

Utbildning

Varje år håller Armatec sin populära kurs om Ånga- och Kondensatsystem där avsnittet ger teoretisk kunskap om reglering i allmänhet och reglerventiler i synnerhet。

Läs mer om vårt utbildningserbjudande

Handbok

Ta del av grundläggande begrepp inom processreglering och få en förståelse för reglerventilen, dess inverkan på regleringen samt komponenterna runt omkring。

Valj handbok

Kontaktpersoner

Hampus Helgegren

Ventiler & Automation

031 - 89年01 19
hampus.helgegren@armatec.se

米娅然而

Innesaljare

031 - 89年01 86
mia.sepp@armatec.se

桑德拉Sjoberg

Innesaljare

031 - 89年01 79
sandra.sjoberg@armatec.se

马格努斯林德伯格

Innesaljare

031 - 89年01 81
magnus.lindberg@armatec.se

玛丽埃克

Innesaljare

031 - 89年01 62
marie-louise.ek@armatec.se

苏珊没有戒指

Innesaljare

031 - 89年02 17
susanne.noring@armatec.se

这是våra概念

仪器& Reglerteknik

Vi ser直到att du får rätt信息för att styra在过程中。Korrekt温度,flöde, hastighet, nivå och tryck ger ett utmärkt underlag för分析,优化och debitering。

拉斯维加斯mer