Hoppa直到innehall

Tryckmatare在4257

Tryckmätare R1/4 x 63毫米。Klass 2 5。

Dimensionsomrade DN 8
PN 海拉skalvärdet vid tillfällig belastning
Temperaturomrade -20ºC至+60ºC
材料 集结,体

变体

Artikelnummer Matomrade (bar) Utforande 材料mediaberort DN 温(°C) Avs.datum Bruttopris Antal
在4257-8-2 5RSK 5113014 0 - 2、5 Visuell运营商 集结 8 20 2021-09-06 247瑞典克朗Bestallningsvara
在4257-8-4RSK 5113022 0 - 4 Visuell运营商 集结 8 20 2021-10-04 247瑞典克朗Bestallningsvara
在4257-8-6RSK 5113030 0 - 6 Visuell运营商 集结 8 20 2021-08-16 247瑞典克朗Färre än 10 i lager
在4257-8-10RSK 5113048 清廉 Visuell运营商 集结 8 20 2021-08-16 247瑞典克朗我啤酒
在4257-8-16RSK 5113055 Visuell运营商 集结 8 20 2021-09-06 247瑞典克朗Bestallningsvara
在4257-8-25RSK 5113063 0-25 Visuell运营商 集结 8 20 2021-09-06 247瑞典克朗Bestallningsvara

Produktinformation

Anvandningsomrade

För tryckmätning av flytande eller gasformiga icke侵略fluider, i huvudsak vatten, luft och ånga。

AMA-text

UGC.31 *Mätare för tryck, rörmonterade, med analog visning av moments värde
Tryckmätare AT 4257 av bourdonrörstyp。Klass 2,5, husdiameter 63mm, grade 0-....bar/Pascal。

Kvalitetssakring

PED, AFS 1999:4

Detaljforteckning

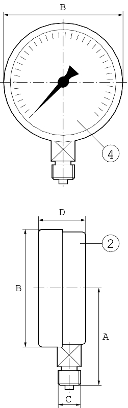
在4257
1 Bourdonror kopparlegering
2 溶血性尿毒综合征 svart ABS-plast
3. Matverk platinamassing
4 格拉斯 akrylglas
Mediaberörda delar av kopparlegering

马特

在4257
一个 54
B 62
C G 1/4
D 27日,5
马特我mm。

Funktion och konstruktion

Tryckmätaren är av s.k. bourdonrörstyp, vilket innebär en cirkelformad rörfjäder med ett ovalt tvärsnitt。系统tryck påverkar invändigt bourdonröret så att det vid ökande tryck tenderar att räta ut sig. Den fria ändan på bourdonröret utför då en rörelse比例mot det invändiga trycket。Rörelsen växlas轿车通过mätverket till en rörelse/indikeringsvärde på visartavlan。

Tekniska数据

在4257
Mediatemperatur -20°C到+ 60°C
Omgivningstemperatur -20°C到+ 60°C
Nogrannhetsklass 2, 5%
Temperaturpaverkan 0,4%/10°C (över o under 20°C)
IP klass 54
马克斯arbetstryck 75% av skalvärdet vid vilade belasning。66% av skalvärdet vid växlande belastning。

Dimensionering

Skalområdet bör väljas så att konstantbelastningen ej överstiger 2/3 av skalområdet。

Tillbehor och变体

För kompletta tryckmätarsatser med kontrolltryckmätarventil, vattensäcksrör samt tryckmätarventil var god se producktblad gällande AT 1800-1806。
Tryckmätarna går även att få i dämpvätskefyllda, i rostfritt samt med avvikande graderingar vid förfrågan。

安装

Tryckmätarna skall monteras så att de är lätta att avläsa samt skyddade mot vibrationer, värme, kyla samt hög luftfuktighet。Vid höga mediattemperater skall vattensäcksrör användas。Vid tryckvariationer och vibrationer bör dämpvätskefyllda tryckmätare användas。

Markning

Produkterna är märkta med Armatec, klass samt grade。

Bestallningsnyckel

Exempel: 4257-8-2, 5
在4257 - 8 2,5
Fig. nr。 Utforande Anslutning 平地机
在4257=husdiam 62毫米 - =标准 -8
D = dampvatskefylld
U = undertryck

Relaterade produkter

Kunskap

Verktyg

Våra tabeller underlättar din arbetsvardag。Här hittar du förfrågningsunderlag och tabeller som hjälper dig välja rätt dimension och utförande。

Se verktyg

Utbildning

Varje år håller Armatec sin populära kurs om Ånga- och Kondensatsystem där avsnittet ger teoretisk kunskap om reglering i allmänhet och reglerventiler i synnerhet。

Läs mer om vårt utbildningserbjudande

Handbok

Ta del av grundläggande begrepp inom processreglering och få en förståelse för reglerventilen, dess inverkan på regleringen samt komponenterna runt omkring。

Valj handbok

Kontaktpersoner

马格努斯林德伯格

Innesaljare

031 - 89年01 81
magnus.lindberg@armatec.se

米娅然而

Innesaljare

031 - 89年01 86
mia.sepp@armatec.se

桑德拉Sjoberg

Innesaljare

031 - 89年01 79
sandra.sjoberg@armatec.se

Hampus Helgegren

Ventiler & Automation

031 - 89年01 19
hampus.helgegren@armatec.se

玛丽埃克

Innesaljare

031 - 89年01 62
marie-louise.ek@armatec.se

苏珊没有戒指

Innesaljare

031 - 89年02 17
susanne.noring@armatec.se

这是våra概念

仪器& Reglerteknik

Vi ser直到att du får rätt信息för att styra在过程中。Korrekt温度,flöde, hastighet, nivå och tryck ger ett utmärkt underlag för分析,优化och debitering。

拉斯维加斯mer