Hoppa TillInnehåll.
在7780年

温度在7780年

温度下载SomFrämstÄRAvseddFörHygienapplikationerdärIngreppiRönnInteärÖnskvärt。Monteras EnkeltPåfintligaRör。Ingen SvetsningKrävs。VärmeöverföringenMellanPt100 Givaren OchRöretUppnås基因组Ett Inbyggt Kontaktsystem(ETTROSTFRITT BLECK)。PT100 Givaren Skydddas AV Ett Isolerande,Delbart块AVVärmebeständigPlast。

尺寸område. 4mm到57mm
温度råde -40ºC直到150ºC.
材料 rostfrittstål/ plast

Varianter.

artikelnummer. Mätområde. Utförande. UTsignal. 材料MediaBerört. 温度(°C) AVS.DATUM Bruttopris. antal.
在7780年 Anges VID订单 发射机 PT100. -40-150 Förfrågh. Förfrågh. 优惠
在7780-t Anges VID订单 发射机 4-20mA -40-150 Förfrågh. Förfrågh. 优惠

produktinformation

Användning.

FörMätningAVytttemperaturen avRöroch kontroll av加工器。användsbl.a.AV LIVS-OCHLäkemedelsIndustrinDärStörreKRAVPåHygienFöreligger。

ama-text.

UBB.32 GivareFörupmentur,Kontinuerlig Utsignal 4-20ma Alt。PT100信号。

kvalitetssäkring.

klass a sengigt en60751。变送器FöjerDirektivet,EMC 2004/107 / EC。

detaljförteckning

1 伊索兰材料 pl
2 värmeöverföringsbleck rostfrittstål1.4305
3. Kopplingshuvud. rostfrittstål1.4305

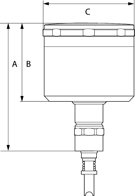
mått.

一种 83,5
B. 51.
C 60.

Funktion Och Konstruktion.

温度下载SomFrämstÄRAvseddFörHygienapplikationerdärIngreppiRönnInteärÖnskvärt。Monteras EnkeltPåfintligaRör。Ingen SvetsningKrävs。VärmeöverföringenMellanPt100 Givaren OchRöretUppnås基因组Ett Inbyggt Kontaktsystem(ETTROSTFRITT BLECK)。PT100 Givaren Skydddas AV Ett Isolerande,Delbart块AVVärmebeständigPlast。mätteknologipt​​ 100,treetråd。Mätområde-40°C直到+ 150°C。UTsignal Pt 100交替4-20mA。den ytterst lillafördöjningendenna metod ger upphov to till,jämförtmot en transignelllösningärformaltförsumbar。SE图。

Tekniska数据

PT100 Givare.
Mätområde. -40ºC直到+150ºC
anslutning. 3-tråd.
noggrannhet pt100元素 klass a sengigt en 60751
skyddsklass IP65.
Rördimension. 4 ... 57mm(ytterdiameter)
elanslutning. Kabelgenomföring.
alternativ UTsignal(Anges VidBeställing) 4-20mA

Tekniska数据发送器(选项)

变送器(选项)
Matningsspänning. 24VDC.
anslutning. 2-tråd.
arbetstemperatur. -40°C直到+ 85°C
UTsignal * 4-20mA,inverterbar.
responstid * 1S(标准)
noggrannhet(RTD) ≤±0.3ºC
*Önskas逆变器信号El Annan Responstid Skall Det Anges VidBeställning。

tillbehöroch varianter

SOM选项KAN MECHICATURGIVARENBESTÄLLAMUTSIGBEL4-20MA。Mätområdeangesvidbeställning。Önskasprogramvaraföraföra程序传输AV变送器“循环链接5905”SÅKANDELTÄLLS分离。

安装

Detserande PlastblocketBestår在Två倍斋och monterasUtvändigtruntRöretMedHjälpAvvåinsex skruv。ViktigtÄRattvärmeöverföringsblecketligger dikt amotRöretFörBästaMätresultat。PT100 GivarenGårat蒙特拉IValfrittLägeMenMonterasMedFördelMedPT100Givaren在Röret,SpecielltVidÅnga埃尔勒Vätskor。

Beställningsnyckel.

Exempel:7780-33,7t
在7780年 33,7. T.
图。NR. röretsytterdiameter 发射机

Reasterade Produkter.

昆斯克省

verktyg.

Våratabellerunderlättarindbaretsvardag。HärHittarduförfrågningsunderlagoch tabeller somhjälperdigVäljaRätt尺寸OchUtförande。

se verktyg.

Utbildning.

varjeÅrhållerarmatec sinpopulärakursoÅnga-och kondensatsystemdäravsnittet ger teoretisk kunskap om regleringiallmänhetoch reglerventiler i synnerhet。

läsmeromvårtutbildningserbjudande

hand

TA DEL AVGrundlägandeEBGREPPINOM ProcesserReglering OchFåenförståsseFörReglerventilen,Dess InverkanPåRegleringenSamt Komponenterna Runt Omkring。

väljhandbok.

kontaktpersoner.

MIA SEPP.

Innesäljare.

031-89 01 86.
mia.sepp@armatec.se.se.

MAGNUS LINDBERG.

Innesäljare.

031-89 01 81
magnus.lindberg@armatec.se.se.

Sandrasjöberg.

Innesäljare.

031-89 01 79.
sandra.sjoberg@armatec.se.se.

汉普斯赫雷格伦

Marknads-Och Produktansvarig,ventiler和自动化

031-89 01 19.
汉普斯.Hampusgren@armatec.se.se.

Marie-Louise EK

Innesäljare.

031-89 01 62.
marie-louise.ek@armatec.se.

Susanne Noring.

Innesäljare.

031-89 02 17.
susanne.noring@armatec.se.se.

mer omvårakoncept

仪器和Reglerteknik.

VI Ser Till Att DuFårrätt信息Förat斯特拉DIN工艺。Korrekt Mecildatur,Flöde,Hastighet,Nivåoch Tryck Ger EttUtmärkt底层För分析,优化OCH借断。

läsmer.