截止阀由钢制成,带法兰,pn40,带波纹管,防止介质接触填料箱。
免维护,外主轴螺纹,显示打开/关闭模式和非方向盘的显示装置。用于非腐蚀性流体、气体和蒸汽的关闭阀。
| 尺寸范围 | DN 15 ~ DN 200 |
|---|---|
| PN | 40 |
| 温度范围 | -10°C至+400ºC |
| 材料 | 钢 |
| 货号 | 住房材料 | DN | PN | 温度(°C) | 连接 | 量 |
|---|---|---|---|---|---|---|
| 在1050 d15 | 钢 | 15 | 40 | 10 - 400 | 法兰 | |
| 在1050 d20开头 | 钢 | 20. | 40 | 10 - 400 | 法兰 | |
| 在1050 d25 | 钢 | 25 | 40 | 10 - 400 | 法兰 | |
| 在1050 d32 | 钢 | 32 | 40 | 10 - 400 | 法兰 | |
| 在1050 d40 | 钢 | 40 | 40 | 10 - 400 | 法兰 | |
| 在1050 d50 | 钢 | 50 | 40 | 10 - 400 | 法兰 | |
| 在1050 d65 | 钢 | 65 | 40 | 10 - 400 | 法兰 | |
| 在1050 d80 | 钢 | 80 | 40 | 10 - 400 | 法兰 | |
| 在1050 d100使用 | 钢 | One hundred. | 40 | 10 - 400 | 法兰 | |
| 在1050 d125 | 钢 | 125 | 40 | 10 - 400 | 法兰 | |
| 在1050 d150 | 钢 | 150 | 40 | 10 - 400 | 法兰 | |
| 在1050 d200 | 钢 | 200 | 40 | 10 - 400 | 法兰 |
| 尺寸范围 | PN | 温度范围 | 材料 |
|---|---|---|---|
| DN 15 - 250 | 40 | -10°C至400ºC | 钢 |
作为非腐蚀性流体、气体和蒸汽的切断阀。
加压部件是在铸造工厂制造的,这通常得到所有认可的船级社的认可。
SS-EN10204证书,2.2型和3.1型,以及大多数分类机构(证书类型在订购时说明)。测试按照DIN EN 12266进行。
ce标志
这些阀门符合AFS 2016:1和2014/68/EU(压力设备指令)的要求。
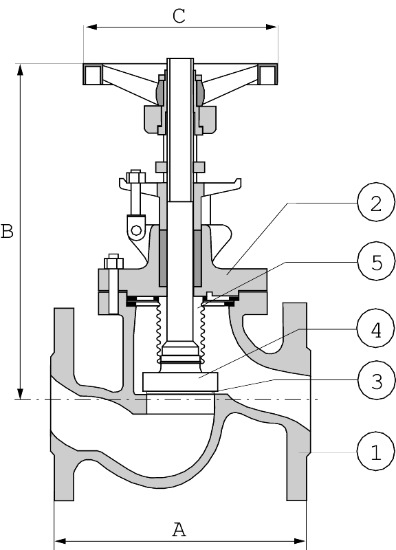
| Pos | 组件 | 材料 |
|---|---|---|
| 1 | 身体 | 钢1.0619 |
| 2 | 阀盖 | 钢1.0619 |
| 3. | 座位 | 不锈钢1.4021 |
| 4 | 锥 | 不锈钢1.4021 |
| 5 | 波纹管 | 不锈钢1.4301 |
| DN | 15 | 20. | 25 | 32 | 40 | 50 | 65 | 80 | One hundred. | 125 | 150 | 200 | ||||||||||||
|---|---|---|---|---|---|---|---|---|---|---|---|---|---|---|---|---|---|---|---|---|---|---|---|---|
| 一个 | 130 | 150 | 160 | 180 | 200 | 230 | 290 | 310 | 350 | 400 | 480 | 600 | ||||||||||||
| B | 208 | 208 | 217 | 215 | 235 | 235 | 252 | 270 | 347 | 380 | 420 | 570 | ||||||||||||
| C | 120 | 140 | 140 | 140 | 160 | 160 | 180 | 200 | 250 | 250 | 360 | 450 | ||||||||||||
| 重量 | 4, 4 | 4、9 | 5、8 | 7、4 | 9日4 | 12,2 | 17日,3 | 23日,4 | 40岁,4 | 58 | 83年,8 | 133 | ||||||||||||
| 尺寸(mm),重量(kg) | ||||||||||||||||||||||||
带有防止介质接触填料箱的波纹管。这样就消除了填料函泄漏的危险。
——不需维护的
-外杆螺纹
-位置指示器,开启/关闭
——暗手轮
| 工作 压力 max。酒吧 |
工作 温度。 max。°C |
|---|---|
| 35 | 200 |
| 28 | 300 |
| 21 | 400 |
| DN | 15 | 20. | 25 | 32 | 40 | 50 | 65 | 80 | One hundred. | 125 | 150 | 200 | 250 |
|---|---|---|---|---|---|---|---|---|---|---|---|---|---|
| Kvs | 4、7 | 7、4 | 11日,2 | 18日,3 | 29日,3 | 44岁的2 | 73年,2 | 112年,2 | 173年0 | 290年0 | 412年0 | 702年0 | 1020年0 |
差压
对于大于下面所述的压差,为了便于操作和获得良好的阀座密封性,应该使用旁路。
| DN | 125 | 150 |
|---|---|---|
| ∆p酒吧 | 24 | 17 |
| 法兰acc。来 |
|---|
| DIN EN 1092 - 1 |
| 例子:1050 d50 | |||||
| 在1050 d | 50 | ||||
|---|---|---|---|---|---|
| Fig. nr。 | DN | ||||
| RSK-number,参见RSK-register。 | |||||