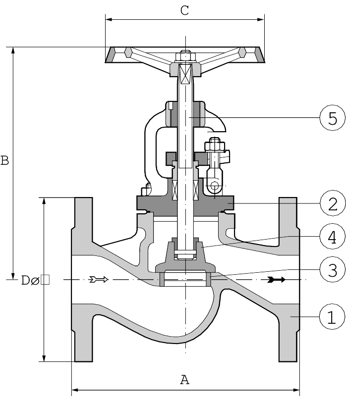
钢制截止阀,带法兰,pn40。有一个上升,外螺纹主轴和平坦的密封面。dn125型号的阀门标准配置减压截止阀/锥阀,这意味着流体流向是从相反的一侧,即顶部和底部。用于蒸汽、凝结水和热水的切断阀。
| 尺寸范围 | DN 15 ~ DN 250 |
|---|---|
| PN | 40 |
| 温度范围 | -10°C至+400ºC |
| 材料 | 钢 |
| 货号 | 住房材料 | DN | PN | 温度(°C) | 连接 | 量 |
|---|---|---|---|---|---|---|
| 在1040 c15 | 钢 | 15 | 40 | 10 - 400 | 法兰 | |
| 在1040甜 | 钢 | 20. | 40 | 10 - 400 | 法兰 | |
| 1040这件 | 钢 | 25 | 40 | 10 - 400 | 法兰 | |
| 以1040 c32 | 钢 | 32 | 40 | 10 - 400 | 法兰 | |
| 在1040 c40 | 钢 | 40 | 40 | 10 - 400 | 法兰 | |
| 在1040网 | 钢 | 50 | 40 | 10 - 400 | 法兰 | |
| 在1040 c65 | 钢 | 65 | 40 | 10 - 400 | 法兰 | |
| 在1040 c80 | 钢 | 80 | 40 | 10 - 400 | 法兰 | |
| 在1040 c125 | 钢 | 125 | 40 | 10 - 400 | 法兰 | |
| 在1040 c150 | 钢 | 150 | 40 | 10 - 400 | 法兰 | |
| 在1040 c200 | 钢 | 200 | 40 | 10 - 400 | 法兰 | |
| 在1040 c250 | 钢 | 250 | 40 | 10 - 400 | 法兰 |
| 尺寸范围 | PN | 温度范围 | 材料 |
|---|---|---|---|
| DN 15 - 250 | 40 | -10ºC ~ 400ºC | 钢 |
一种用于:
——蒸汽
——热水
——冷凝
加压部件是在铸造工厂制造的,这通常得到所有认可的船级社的认可。
SS-EN10204证书,2.2型和3.1型,以及大多数分类机构(证书类型在订购时说明)。测试按照DIN EN 12266进行。
ce标志
这些阀门符合AFS 2016:1和2014/68/EU(压力设备指令)的要求。
| Pos | 组件 | 材料 | ||
|---|---|---|---|---|
| 1 | 身体 | 钢1.0619 | ||
| 2 | 阀盖 | 钢1.0619 | ||
| 3. | 座位 | 不锈钢1.4021 * | ||
| 4 | 全球 | 不锈钢1.4021 * | ||
| 5 | 主轴 | 不锈钢1.4021 * | ||
| 在温度高于350℃,推荐钨铬钴合金 | ||||
| DN | 15 | 20. | 25 | 32 | 40 | 50 | 65 | 80 | One hundred. | 125 | 150 | 200 | 250 | |||||||||||||
|---|---|---|---|---|---|---|---|---|---|---|---|---|---|---|---|---|---|---|---|---|---|---|---|---|---|---|
| 一个 | 130 | 150 | 160 | 180 | 200 | 230 | 290 | 310 | 350 | 400 | 480 | 600 | 730 | |||||||||||||
| B | 185 | 185 | 210 | 210 | 235 | 240 | 290 | 305 | 370 | 400 | 470 | 570 | 625 | |||||||||||||
| C | 120 | 120 | 140 | 140 | 160 | 160 | 180 | 200 | 225 | 225 | 300 | 400 | 400 | |||||||||||||
| D | 95 | 105 | 115 | 140 | 150 | 165 | 185 | 200 | 235 | 270 | 300 | 375 | 450 | |||||||||||||
| 重量 | 3、9 | 4、6 | 6、3 | 7、5 | 10、5 | 14 | 21日,5 | 26 | 51 | 63年,5 | 105 | 175 | 323 | |||||||||||||
| 尺寸(mm),重量(kg) | ||||||||||||||||||||||||||
凸起的外螺纹阀杆。平面密封区域。
当阀门处于全开状态时,填料函没有增压。
| 工作 压力 max。酒吧 |
工作 温度。 max。°C |
|---|---|
| 35 | 200 |
| 28 | 300 |
| 21 | 400 |
压降
计算压降时,使用以下值:
| DN | 15 | 20. | 25 | 32 | 40 | 50 | 65 | 80 | One hundred. | 125 | 150 | 200 | 250 |
|---|---|---|---|---|---|---|---|---|---|---|---|---|---|
| Kvs | 4、2 | 7、4 | 12 | 19 | 31 | 47 | 77 | 120 | 188 | 288 | 410 | 725 | 1145 |
| DN | 125 | 150 | 200 | 250 | |
|---|---|---|---|---|---|
微分压力 |
25 | 17 | 10 | 6 |
| Fig.No | DN | 法兰acc。来 | 焊接结束acc.to |
|---|---|---|---|
| 在1040摄氏度 | 15 - 250 | SS 335 - pn 40 | din3239形式D |
-除了手轮指向下外,可以安装在任何位置。
—启动前需要对系统进行清洗。
—DN15-100阀门具有从下到上的流向。
- DN125-150阀门具有相反的流向(如从顶部到底部)。
然而,流动方向总是在身体上的箭头标记。
| 例子:1040网 | ||||
| 在1040摄氏度 | 50 | |||
|---|---|---|---|---|
| Fig. nr。 | DN | |||
| RSK-number,参见RSK-register | ||||