主要的事实
| 维度范围 |
PN |
温度范围 |
材料 |
DN 15 - 400 |
16. |
-10°C至+ 300°C |
灰铁 |
范围
用于机械清洁温水,热水,冷却水,石油产品,中性流体和蒸汽的过滤器。
质量保证
CE标记
根据I.流体组2,过滤器满足PED 2014/68 / EU,压力设备指令的要求。
材料规格
| p |
成分 |
在4028B. |
| 1 |
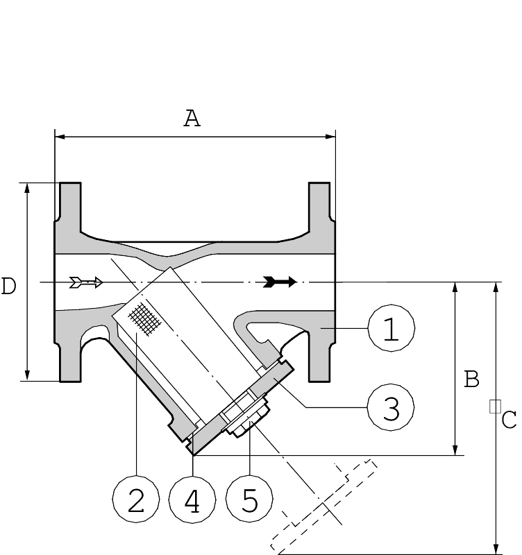
身体 |
灰铁en-gjl-250 |
| 2 |
过滤器插入 |
不锈钢1.4301 |
| 3. |
覆盖 |
灰铁en-gjl-250 |
| 4. |
盖垫圈 |
石墨Crnist. |
| 5. |
清洁塞/ |
钢C35E |
|
差异。压力插头 |
|
尺寸和重量DN15-80
| DN. |
15. |
20. |
25. |
32. |
40 |
50. |
65. |
80 |
| 一种 |
130. |
150. |
160. |
180. |
200. |
230. |
290. |
310. |
| B. |
90. |
100. |
115. |
135. |
150. |
155. |
175. |
205. |
| C |
135. |
150. |
180. |
215. |
240. |
250. |
285. |
330. |
| d在4028b. |
95. |
105. |
115. |
140. |
150. |
165. |
185. |
200. |
| d在4029B. |
95. |
105. |
115. |
140. |
150. |
165. |
185. |
200. |
| 尺寸清洁塞 |
G3 / 8. |
G3 / 8. |
G3 / 4. |
G3 / 4. |
G1. |
G1. |
G1. |
G1. |
| 差异。压力插头 |
G1 / 4. |
G1 / 4. |
G1 / 4. |
G1 / 4. |
G3 / 8. |
G3 / 8. |
G3 / 8. |
G3 / 8. |
| 高度过滤器插入物 |
56. |
68. |
82. |
98. |
114. |
119. |
134. |
149. |
| 直径。过滤器插入 |
23. |
28. |
36. |
42. |
50. |
61,5. |
78,5. |
89,5. |
| 盖垫片,dy |
46. |
46. |
56. |
68. |
79. |
87. |
102. |
122. |
| 盖垫片,di |
36. |
36. |
46. |
56. |
68. |
75. |
90. |
110. |
| 4028B的重量 |
2,6 |
3,0. |
4,3 |
6,8 |
8,8 |
11,0. |
14,6 |
18,6 |
| 4029B的重量 |
2,6 |
3,0. |
4,3 |
6,8 |
9. |
11,0. |
14,6 |
18,6 |
| 尺寸为mm,重量在kg |
|
|
|
|
|
|
|
|
尺寸和重量DN100-400
| DN. |
100. |
125. |
150. |
200. |
250. |
300 |
350. |
400 |
| 一种 |
350. |
400 |
480. |
600 |
730. |
850. |
980. |
1100 |
| B. |
275. |
325. |
397. |
535. |
670. |
680. |
755. |
835. |
| C |
365. |
425. |
480. |
610. |
915. |
1110. |
1200. |
1320. |
| d在4028b. |
220. |
250. |
285. |
340. |
405. |
460. |
520. |
580. |
| d在4029B. |
220. |
250. |
285. |
340. |
405. |
** |
** |
** |
| 尺寸清洁塞 |
G11 / 2 |
G11 / 2 |
G11 / 2 |
G11 / 2 |
G11 / 2 |
G11 / 2 |
G11 / 2 |
G11 / 2 |
| 差异。压力插头 |
G3 / 8. |
G3 / 8. |
G3 / 8. |
G3 / 8. |
G3 / 8. |
G3 / 8. |
G3 / 8. |
G3 / 8. |
| 高度过滤器插入物 |
169. |
199. |
224. |
284. |
434. |
555. |
640. |
695. |
| 直径。过滤器插入 |
109,5 |
137,5. |
160. |
210. |
258. |
308. |
365. |
415. |
| 盖垫片,dy |
135. |
170. |
195 |
270. |
300 |
375. |
425. |
475. |
| 盖垫片,di |
120. |
151. |
175. |
245. |
275. |
350. |
390. |
440. |
| 4028B的重量 |
27,0 |
38,5. |
54,5. |
110. |
165. |
285. |
373. |
461. |
| 4029B的重量 |
27,0 |
38,5. |
54,5. |
102,7. |
165. |
285. |
** |
** |
| 尺寸为mm,重量在kg |
|
|
|
|
|
|
|
|
功能和设计
当MEDA穿过圆柱形插件时,有效地捕获比过滤器插入啮合的固体颗粒。
kvs.
| DN. |
15. |
20. |
25. |
32. |
40 |
50. |
65. |
80 |
100. |
125. |
150. |
200. |
250. |
300 |
350. |
400 |
| K.vs. |
6,2 |
9,6 |
14,2 |
23,1. |
36,6 |
53,7. |
95,1. |
137,1. |
206,4. |
268,8 |
401. |
706. |
1229. |
1902年 |
2611 |
3438. |
压力和温度
压力和温度 acc。到DIN EN 1092-2:1997 |
|
| 最小/最大工作温度。 |
最大工作温度。 |
| °C. |
酒吧 |
| -10 |
16. |
| 120. |
16. |
| 150. |
14.4 |
| 180. |
13,4 |
| 200. |
12,8 |
| 230. |
11,8 |
| 250. |
11,2 |
| 300 |
9,6 |
|
|
配件和选择
标准插入网格宽度为0.6 mm。根据要求,可以提供替代网格尺寸的过滤器,例如:
0.1,0.25,0.5,1.0,1,5,2.0,3.0,5,0和8.0 mm。
内部和外部粉末涂覆的EPOXI用于用于人类消费的水的卫生需求的安装,或者需要内部腐蚀保护的要求:4028be。
对于过滤器的差压测量,过滤器DN 15-32具有连接G1 / 4。DN 40和更大的连接G 3/8。见1812年。
为了在冷却系统中安装,根据1012的系统,滤光器可提供外部防锈。
安装
在水平管道中,应将盖子向下安装过滤器。注意,该流量必须根据流量箭头。过滤器可以垂直安装在向下流动。
吹阀,例如吹气阀。在3535A,可以安装,而不是清洁塞,以便更容易地清洁过滤器插入物。
法兰
| 图。没有。 |
|
法兰ACC.TO. |
| 在4028B. |
|
SS EN1092-PN 16 |
维护和备件
过滤器上的高度增加压降表示应清洁过滤器插入件。
过滤器在4028AF中的插入件和4028A1的盖垫圈和4028BL可作为备件使用。
如何订购
| 示例:在4028b50 |
|
|
| DN. |
at-no. |
RSK-No. |
| 15. |
4028B15 |
506 29 00. |
| 20. |
4028b20. |
506 29 01. |
| 25. |
4028b25. |
506 29 02. |
| 32. |
4028B32. |
506 29 03. |
| 40 |
4028B40. |
506 29 04. |
| 50. |
4028B50. |
506 29 05. |
| 65. |
4028b65. |
506 29 06. |
| 80 |
4028b80. |
506 29 07. |
| 100. |
4028B100. |
506 29 08. |
| 125. |
4028B125. |
506 29 09. |
| 150. |
4028B150 |
506 29 10. |
| 200. |
4028b200. |
506 29 11. |
| 250. |
4028B250 |
506 29 12. |
| 300 |
4028b300. |
506 29 13. |
如何订购
| 示例:在4028b50 |
|
|
| DN. |
at-no. |
RSK-No. |
| 15. |
4028B15 |
506 29 00. |
| 20. |
4028b20. |
506 29 01. |
| 25. |
4028b25. |
506 29 02. |
| 32. |
4028B32. |
506 29 03. |
| 40 |
4028B40. |
506 29 04. |
| 50. |
4028B50. |
506 29 05. |
| 65. |
4028b65. |
506 29 06. |
| 80 |
4028b80. |
506 29 07. |
| 100. |
4028B100. |
506 29 08. |
| 125. |
4028B125. |
506 29 09. |
| 150. |
4028B150 |
506 29 10. |
| 200. |
4028b200. |
506 29 11. |
| 250. |
4028B250 |
506 29 12. |
| 300 |
4028b300. |
506 29 13. |