| 尺寸范围 | PN | 温度范围 | 材料 |
|---|---|---|---|
DN - 40 |
16 | max + 90ºC | 黄铜 |
35流量计,管装数字显示,累计值
多喷嘴住宅水表,AT 7029A, M-Bus接口,EN 13757-2。第三季…m³/ h, DN……,螺纹,PN 16。
| 1 | 身体 | 黄铜 |
| 2 | 密封材料 | 三元乙丙橡胶 |
| 3. | 叶片 | 聚醚砜 |
| 4 | 存储 | 硬质合金/蓝宝石 |
| 螺纹连接 | ||||||
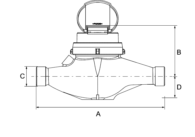
| 连接DN | 20. | 25 | 40 | |||
|---|---|---|---|---|---|---|
| 问3. | 4 | 10 | 16 | |||
| 一个 | 190 | 260 | 300 | |||
| B | 125 | 128 | 129 | |||
| C(连接表) | 1" | 11/4 " | 2" | |||
| D | 40 | 44 | 46 | |||
| 重量 | 2,1 | 2,6 | 5、4 | |||
| 尺寸(mm),重量(kg)。 | ||||||
| 螺纹连接,立管或降水管 | ||||||
| 连接DN | 20. | 25 | 40 | |||
|---|---|---|---|---|---|---|
| 问3. | 4 | 10 | 16 | |||
| 我 | 105 | 150 | 200 | |||
| G | 148 | 169 | 226 | |||
| H | 130 | 143 | 190 | |||
| 重量 | ||||||
| 竖管 | 1、9 | 3, 0 | 6日0 | |||
| 下水管 | 2,0 | 3、4 | 7、3 | |||
| 测量单位为mm,重量单位为kg。 | ||||||
流量传感器是一种多喷嘴住宅仪表。叶片是介质中唯一可动的部件。
该计算器是根据gwf代码和计算器的最低评级为1升,精度级别为R80。
7029A内置M-Bus模块(EN 13757-2)和M-Bus(EN 13757-3)。外壳保护免受腐蚀和机械磨损。显示器配有指示滑轮,用于在试验台进行光学读数。连接电缆长度1.5m。
| Ansl。DN | 20. | 25 | 40 |
|---|---|---|---|
| 名义流问3.m³/小时 | 4 | 10 | 16 |
| 过载流,问4, m³/ h | 5 | 12、5 | 20. |
| 流量限制,问2、升/小时 | 80 | 200 | 320 |
| 最小流量,问1,升/小时 | 50 | 125 | 200 |
| 最低评级,升 | 1 | 1 | 1 |
| 数字轮 | 8 | 8 | 8 |
| 最大允许误差 | ||
| 流量范围: | q1 | + -5% |
| Q2-Q4 | + -3% |
流量传感器的数字板必须朝上安装。在标准版本中,仪表应该安装在水平管道中。立管和降管设计(补充S和F)应该安装在垂直管道上。注意流动方向,仪表本体上的箭头表示流动方向。
仪表是红色的,有红色的塑料盖。仪表上标有make, Q3.分别地价值。尺寸和最高温度。生产编号由8位表示。
例子:7029 ag25-10m |
||||
|---|---|---|---|---|
| 在7029年一个 | G | 25 | -10年 | 米 |
| Fig.no。 | 性能 | DN | 问3. | 内置M-Bus输出 |
| G =螺纹(标准) | 20. | 4 * | ||
| 25 | 10 | |||
| 40 | 16 * | |||
| GS=螺纹上升管*) | ||||
| GF=螺纹下落管*) | 25 | 6、3 * | ||
| RSK-No。看到RSK-register。 |