标准或大比例开启范围的法兰安全阀。最小的介质损失时,打开,并经常用于像热膨胀,液体应用和更多的应用。
| 维 | DN 15 - 150(1/2“6”) |
|---|---|
| 压力 | 0,2酒吧Til 160 Bar |
| 温度 | -270°C到+ 450°C |
| 执行 | 凸缘 |
这是欧盟的标准。我们的产品是DN, PN, materiale, strømningspil og godkendelsesskilt。用一些标准的方法。文特伦在ASME, GOST(俄罗斯),UDT(波尔斯克),TÜV, CBPV(瑞典)og kan leveres med "klasse" sertifkat fra bla。DNV, BV, GL, lloyd, RINA。
CE-Merkning
ventilerne er ce-merket iht。ped。
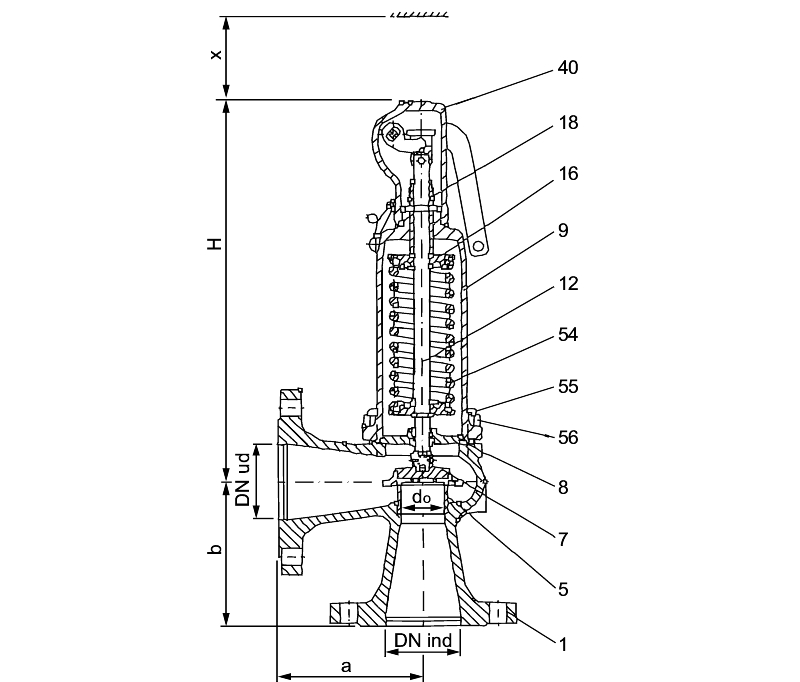
| Ventilhus - 炉 |
类型 |
DN | 浮动者 DIN PN. |
温度耐压仪°C. | ||||||||||||
|---|---|---|---|---|---|---|---|---|---|---|---|---|---|---|---|---|
| 一支钢笔 | Lukket. | 弗拉 | 直到 | Innløp | 你的øp | 弗拉 | 直到 | |||||||||
| støpejern. | 4311 | 4331 | 15. | 150. | 16. | 16. | -10 | + 200 (DK) | ||||||||
| seigjern. | 4315 | 4335 | 15. | 25. | 40 | 40 | -60 | + 250 (DK) | ||||||||
| “斯太尔 | 4312 | 4332 | 15. | 150. | 40 | 40 | -85 | +400 | ||||||||
| Syrefast | 4334 | 15. | 100. | 40 | 40 | -270 | +400 | |||||||||
| 温度结束-10°C henvises到AD-Merkblatt W10,温度恢复到åpningstrykk og通风。 | ||||||||||||||||
| 类型4311/4331 | 4315/4335型 | 类型4312/4332. | ||
|---|---|---|---|---|
| Pos。 | det | støpejern. | SG-JERN. | Stålgods. |
1 |
Ventilhus |
GG 25. (0.6025) |
GGG-40.3. (0.7043) |
GS-C25 (1.0619) |
| 5 | 的汤 | X6 Cr Ni Mo Ti 17 12 2/X2 Cr Ni Mo 17 12 2 (1.4571)//1.4404 | ||
| 7 | Kjegle. | x39 Cr Mo 17 1 (1.4122) | ||
| 8 |
Spindelguide 地中海、 |
X14 CR MO S17 / C35 / GGG-40(1.4104 / 1.050 / 0.7040) X14 CR MO S17 endifer(1.4104 / Tenifer) |
||
9 |
Fjæ采用 |
GGG-40(GGG 40.3 / GS-C25) 0.7040(0.7043 / 1.0619) |
||
| 12. | 斯威尔特 | X20 CR 13(1.4021) | ||
| 16. | Fjærplate | UST.37-2 / 9 S MN PB 28 / C35(1.0036 / 1.0718 / 1.0501) | ||
| 18. | Justeringsskrue地中海、 | X14 CR MO S 17(1.4104) 聚四氟乙烯 |
||
| 54. |
fjært <200° |
54 Si Cr 6/50 Cr V4/X10 Cr Ni 18 (1.1200 / 1.7102 / 1.8159/1.4310) |
||
| FJært> 200° |
54 CR SI 6/50 CR V4 / X10 CR NI 18 8 (1.7102 / 1.8159/1.4310) |
|||
| 40 | H2凯普 | 9 S Mn Pb 28/GGG40.3 (1.0718/0.7043) | ||
| H3Løfteanordning. | GGG-40(0.7040) | |||
| H4Løfteanordning. | GGG-40(0.7040) | |||
| 55/56 | Bolter Og Muttere. t < 400°C |
CK35 / C35(1.1181 / 1.0501) | ||
| Bolter Og Muttere. T> 400°C |
A4-70 / A4 1.4401/1.4401) |
| 4334型 | |||
|---|---|---|---|
| Pos。 | Detaljer | Syrefast | |
1 |
Ventilhus | 1.4408 | |
| 5 | 的汤 | 1.4404 | |
| 7 | Kjegle. | 1.4404 | |
| 8 | Spindelguide地中海、 | 1.4404 |
|
9 |
Fjæ采用 | 1.4408/1.4571 | |
| 12. | 斯威尔特 | 1.4404 | |
| 16. | Fjærplate | 1.4408 / 1.4404 | |
| 18. | Justeringsskrue地中海、 | 1.4404聚四氟乙烯 | |
| 54. | fjært <200° | 1.4310 | |
| FJært> 200° |
1.4310 | ||
| 40 | H2凯普 | 1.4404 | |
| H4Løfteanordning. | 1.4408 | ||
| 55/56 | Bolter og mutter <400°C | A4 (1.4401) |
| DN | Innløp. | 15. | 20. | 25. | 32. | 40 | 50. | 65. | 80 | 100. | 125. | 150. | ||||||||||||||
|---|---|---|---|---|---|---|---|---|---|---|---|---|---|---|---|---|---|---|---|---|---|---|---|---|---|---|
| 你的øp | 15. | 20. | 25. | 32. | 40 | 50. | 65. | 80 | 100. | 125. | 150. | |||||||||||||||
| PN innløp | støpejern. | 16. | ||||||||||||||||||||||||
| Øvrige | 40 | |||||||||||||||||||||||||
| PNUtløp. | 16 HHV。40 | |||||||||||||||||||||||||
| MaksÅpningstrykk(Barg) | 圣øpe - / SG-jern P | P | 16. | 16. | 16. | 16. | 16. | 16. | 16. | 16. | 16. | 16. | 16. | |||||||||||||
| Stålgods. | P | 40 | 40 | 40 | 40 | 40 | 40 | 35. | 35. | 32. | 25. | 16. | ||||||||||||||
| Syrefast1) | P | 40 | 40 | 40 | 40 | 40 | 40 | 25. | 23. | 22. | ||||||||||||||||
| 分钟strø锰。区域(毫米2) | Ao | 113. | 254 | 254 | 254 | 416 | 661 | 1075 | 1662年 | 2827 | 4301 | 6648 | ||||||||||||||
| min.strømn.diam。 | 做 | 12. | 18. | 18. | 18. | 23. | 29. | 37. | 46. | 60. | 74. | 92. | ||||||||||||||
| Sentermal | 一个 | 90. | 95. | 100. | 105. | 115. | 125. | 145. | 155. | 175. | 200 | 225 | ||||||||||||||
| b | 90. | 95. | 100. | 105. | 115. | 125. | 145. | 155. | 175. | 200 | 225 | |||||||||||||||
| Høyde. | H2Øvrige | H | 218 | 218 | 218 | 218 | 218 | 233 | 315. | 360. | 400 | 500. | 600 | |||||||||||||
| H3ØVRIGE. | H | 220 | 220 | 220 | 220 | 220 | 235 | 325. | 370. | 430 | 545. | 645 | ||||||||||||||
| H4Øvrige | H | 215 | 215 | 215 | 215 | 215 | 230 | 330. | 375. | 435 | 540. | 640 | ||||||||||||||
| H2 Syrefast. | H | 200 | 200 | 200 | 200 | 200 | 210 | 285 | 330. | 415 | ||||||||||||||||
| H4 Syrefast. | H | 215 | 215 | 215 | 215 | 215 | 230 | 280 | 325. | 410 | ||||||||||||||||
| 地中海belg | H | 35. | 30. | 30. | 35. | 55. | 65. | 60. | 70 | 75. | 80 | 95. | ||||||||||||||
| Høyde. | x | 150. | 150. | 150. | 200 | 200 | 250 | 250 | 300 | 350. | 400 | 450 | ||||||||||||||
| Vekt | 5 | 6 | 6 | 8 | 9 | 12. | 15. | 20. | 33. | 48. | 65. | |||||||||||||||
| Mål i mm, vekt i kg。 | ||||||||||||||||||||||||||
| 1)Mulighet forhøyereÅpningstrykkved bruk avspesialfjær。 | ||||||||||||||||||||||||||
| Monteringsbraketter | ||
| 一个 | 277 | |
| B | 160. | |
| C | ø18 | |
| D | 278 | |
| E | 21. | |
| Mal我mm。 | ||
我tabell:
P = Apningstrykk(巴格)
我= Mettet Damp(kg / h)
II = Luft 0°C OG 1013 MBAR(m3./H)
III = Vann ved 20°C (1000kg/h)
1) Med O-ringsdisk 5% mindre
2) Med O-ringsdisk 2% mindre
| DN | 15. | 20. | 25 + 32 | 40 | 50. | ||||||||||
| 做(mm) | 12. | 18. | 18. | 23. | 29. | ||||||||||
| P(气压) | 我1) | 21) | 32) | 我 | 2 | 3 | 我 | 2 | 3 | 我 | 2 | 3 | 我 | 2 | 3 |
|---|---|---|---|---|---|---|---|---|---|---|---|---|---|---|---|
| 0,2 | 32岁,7 | 38,8 | 1, 51 | 0、5 | 0, 6 | 1、35 | 29,1. | 34,5. | 77 | 47,5. | 56,3 | 2,89 | 75,5. | 89年,4 | 4,60 |
| 0、5 | 51,2. | 62,8 | 2,14 | 28日,4 | 34,8. | 90 | 61年,4 | 75,2. | 2,51 | 100. | 123. | 4,09 | 159. | 195 | 6,51 |
| 1 | 73,3 | 92年0 | 2,90 | 64,4 | 80,9. | 2,58 | 95,8. | 120. | 3, 39 | 156. | 196. | 5, 54 | 249 | 312. | 81 |
| 2 | 115. | 147. | 4,10. | 120. | 153. | 3, 65 | 160. | 204 | 4,80 | 461 | 333. | 84 | 415 | 529. | 12,5. |
| 3. | 155. | 199. | 5, 02年 | 166. | 213 | 4,47 | 216 | 278 | 88 | 353. | 454 | 9,60 | 562. | 722. | 15日3 |
| 4 | 193. | 250 | 79 | 210 | 271 | 5、16 | 275 | 356. | 79 | 449 | 581. | 11日,1 | 714 | 923 | 17日,6 |
| 5 | 231 | 300 | 6,48 | 251 | 327. | 77 | 329. | 428 | 7日,59岁 | 538. | 699 | 12,4. | 855 | 1110 | 19日,7 |
| 6 | 269 | 351. | 7日,09年 | 293 | 382. | 6,32 | 383. | 500. | 8,3 | 626 | 817 | 13日,6 | 995 | 1290 | 21日6 |
| 7 | 307. | 402 | 66 | 334. | 437 | 82 | 437 | 573. | 98 | 714 | 935 | 14,7. | 1130 | 1480 | 23,3 |
| 8 | 345. | 453 | 8日,19 | 375. | 492 | 7、30 | 491 | 645 | 9,60 | 802 | 1050 | 15日,7 | 1270 | 1670. | 24日,9 |
| 9 | 383. | 504. | 69 | 416 | 548. | 74 | 545. | 718 | 10,2 | 890 | 1170. | 16,6 | 1410. | 1860年 | 26日,4 |
| 10. | 420 | 555. | 9日16 | 457 | 603 | 8、16 | 599. | 790. | 10,7. | 978. | 1290 | 17日,5 | 1550 | 2050. | 27,9. |
| 12. | 496 | 656 | 10.10 | 539. | 714 | 93 | 706 | 935 | 11日8 | 1150 | 1520 | 19日,2 | 1830年 | 2420 | 30日,5 |
| 14. | 571. | 758. | 10,8 | 621 | 824 | 9,65 | 814 | 1070 | 12,7. | 1320 | 1760 | 20日,7 | 2110 | 2800 | 33岁的0 |
| 16. | 646 | 859 | 11、6 | 703 | 935 | 10,3 | 921 | 1220 | 13日,6 | 1500 | 1990 | 22日2 | 2390 | 3170. | 35、2 |
| 18. | 722. | 961. | 12,3 | 785. | 1040 | 10,9. | 1020 | 1360 | 14.4 | 1670. | 2230 | 23,5 | 2670 | 3550 | 37岁的4 |
| 20. | 798. | 1060 | 13日0 | 867 | 1150 | 11日,5 | 1130 | 1510 | 15日,2 | 1850年 | 2470 | 24日8 | 2950. | 3930 | 39岁,4 |
| 22. | 874 | 1160. | 13日,6 | 950 | 1260 | 12,1. | 1240 | 1650. | 15日9 | 2030. | 2700 | 26日0 | 3230 | 4300 | 41岁的3 |
| 24. | 950 | 1260 | 14,2 | 1030 | 1370 | 12,6 | 1350 | 1800 | 16,6 | 2200 | 2940. | 27,1 | 3510 | 4680. | 43岁的2 |
| 26. | 1020 | 1360 | 14,8 | 1110 | 1480 | 13日2 | 1460 | 1940 | 17日,3 | 2380 | 3180. | 28日,3 | 3790 | 5050 | 44岁的9 |
| 28. | 1100 | 1460 | 15日3 | 1190. | 1590 | 13日,6 | 1570 | 2090年 | 18,0. | 2560 | 3410 | 29,3 | 4070. | 5430 | 46岁,6 |
| 30. | 1170. | 1570 | 15日9 | 1280 | 1700 | 14,1 | 1680. | 2230 | 18,6 | 2740. | 3650 | 30日,3 | 4360 | 5810 | 48岁的2 |
| 32. | 1250 | 1670. | 16,4. | 1360 | 1810年 | 14,6 | 1790 | 2380 | 19日,2 | 2920. | 3890 | 31日,3 | 4640 | 6180 | 49,8 |
| 34. | 1770 | 16,9. | 1920 | 15日0 | 2520. | 19日8 | 4120 | 32、3 | 6560 | 51,4. | |||||
| 36. | 1870年 | 17日4 | 2040. | 15、5 | 2670 | 20日,4 | 4360 | 33岁的2 | 6930 | 52岁,9 | |||||
| 38. | 1970 | 17日,9 | 2150 | 15日9 | 2810 | 20日,9 | 4600 | 34,2 | 7310. | 54岁的3 | |||||
| 40 | 4070. | 18,3 | 2260. | 16,3 | 2960 | 21日,5 | 4830 | 35岁,0 | 7690 | 55岁,7 |
| DN | 65. | 80 | 100. | 125. | 150. | ||||||||||
|---|---|---|---|---|---|---|---|---|---|---|---|---|---|---|---|
| 做(mm) | 37. | 46. | 60. | 74. | 92. | ||||||||||
| P(气压) | 我1) | 21) | 32) | 我 | 2 | 3 | 我 | 2 | 3 | 我 | 2 | 3 | 我 | 2 | 3 |
| 0,2 | 123. | 146. | 7日,49 | 190 | 225 | 11、6 | 323. | 383. | 19日,7 | 492 | 582. | 30日0 | 760. | 901 | 46岁,3 |
| 0、5 | 259 | 318. | 10,6 | 401 | 491 | 16,4. | 682 | 836 | 27,8 | 1030 | 1270 | 42岁的4 | 1600 | 1960 | 65年,5 |
| 1 | 405 | 508. | 14,3 | 625 | 786. | 22日2 | 1060 | 1330 | 37岁的7 | 1610. | 2030. | 57岁的4 | 2500 | 3140. | 88年,7 |
| 2 | 676 | 861 | 20日,3 | 1040 | 1330 | 31日,3 | 1770 | 2260. | 53,3 | 2700 | 3440 | 81年,1 | 4180 | 5320. | 125年0 |
| 3. | 914 | 1170. | 24日8 | 1410. | 1810年 | 38,4. | 2400 | 3080 | 65年,3 | 3650 | 4690 | 99,3 | 5650 | 7260 | 154年0 |
| 4 | 1160. | 1500 | 28日,7 | 1790 | 2320 | 44岁的3 | 3050 | 3950 | 75,4. | 4640 | 6000. | 115年0 | 7180. | 9280 | 177,0. |
| 5 | 1390 | 1800 | 32岁的1 | 2150 | 2790 | 49,6 | 3650 | 4750 | 84,3 | 5560. | 7230 | 128年0 | 8600. | 11100 | 198年0 |
| 6 | 1620. | 2110 | 35岁,1 | 2500 | 3260 | 54岁的3 | 4260. | 5560. | 92年,4 | 6480. | 8450. | 140.10 | 10000 | 13000 | 217年0 |
| 7 | 1840年 | 2420 | 37岁,9 | 2850 | 3740 | 58,6. | 4860 | 6360 | 99,8 | 7390 | 9680 | 152年0 | 11400. | 14900 | 235年0 |
| 8 | 2070. | 2720. | 40,6 | 3200 | 4210. | 62,7. | 5450 | 7170. | 107,0. | 8300 | 10900 | 162.16. | 12800 | 16800 | 251,0. |
| 9 | 2300 | 3030 | 43岁,0 | 3550 | 4680. | 66年,5 | 6050. | 7970. | 113年0 | 9210 | 12100 | 172年0 | 14200 | 18700 | 266年0 |
| 10. | 2530. | 3330 | 45,3 | 3910 | 5160. | 70年,1 | 6650. | 8770 | 119年0 | 10100. | 13300 | 181年0 | 15600 | 20600 | 280. |
| 12. | 2980 | 3950 | 49,7. | 4610 | 6100 | 76年,8 | 7840 | 10300 | 131,0. | 11900 | 15800 | 199,0 | 18400 | 24400 | 307,0. |
| 14. | 3430 | 4560 | 53,7. | 5310. | 7050 | 82,9. | 9040 | 11900 | 141年0 | 13700 | 18200 | 215年0 | 21200. | 28200. | 332年0 |
| 16. | 3890 | 5170. | 57岁的4 | 6010. | 7990. | 88年,7 | 10200 | 13600 | 151,0. | 15500. | 20700 | 229.1 | 24000. | 31900 | 355年0 |
| 18. | 4340 | 5780. | 60,8 | 6710 | 8940 | 94年0 | 11400. | 15200 | 160. | 17300 | 23100 | 243,0. | 26900 | 36200 | 376,0. |
| 20. | 4800 | 6390 | 64,1 | 7420 | 9890 | 99,1. | 12600 | 16800 | 169.16 | 19200 | 25500 | 257年0 | |||
| 22. | 5260 | 7010 | 67年,3 | 8130 | 10800 | 104年0 | 13800 | 18400 | 177,0. | 21000. | 28000. | 269年0 | |||
| 24. | 5710 | 7620 | 70年,2 | 8830. | 11700 | 109.0 | 15000 | 20000 | 185年0 | 22800 | 30400 | 281年0 | |||
| 26. | 6170 | 8230. | 73,1. | 9540. | 12700 | 113年0 | 16200. | 21600 | 192年0 | ||||||
| 28. | 6630. | 8840. | 75,9. | 10200 | 13600 | 117年0 | 17400 | 23200. | 200年0 | ||||||
| 30. | 7100. | 9450 | 78年,5 | 10900 | 14600 | 121.12 | 18600 | 24800 | 207,0. | ||||||
| 32. | 7560. | 10000 | 81年,1 | 11600 | 15500. | 125年0 | 19800 | 26400 | 213年0 | ||||||
| 34. | 10600 | 83年,6 | 16500 | 129,0. | 28500 | 220年0 | |||||||||
| 36. | 17700 | 133年0 | 30100 | 226 | |||||||||||
| 38. | 18600 | 137年0 | |||||||||||||
| 40 | 19600 | 140.10 |