Eksemplerpåbruksområder.
Leser Sikkerhetsventil for trykkbeholdere ogrørsystemertil medier som damp,trykkluft,gasser ogvæsker。ogsåav giftig og agrovertiv艺术samt medier medhøyttrykk eller lave温度。Ventilen Kan Brukes Som超散斯ventil Ved Konstant Dynamisk Mottrykk,Dog Maks。0,15xÅpningstrykk。
kvalitetssikring.
Ventilen er Ce - Merket OG Typegodkjent I欧盟。Leveres Som标准Innstilt Og Plombert。kan leveres med bla。asme,udt og gost sertifikat。
Typeoverikt.
|
|
|
温度耐压仪°C. |
|
|
|
|
|
|
din |
|
asme. |
|
Ventilhus- 草本子 |
类型 |
Tilslutning. |
弗拉 |
直到 |
弗拉 |
直到 |
| rustfritt. |
4373 |
3/8“ - 1” |
-10 |
+220 |
-29 |
+220 |
| syrafaststål |
4374 |
3/8“ - 1” |
-270 |
+280 |
-268 |
+280 |
ventilkoeffisienter,do = 10 mm
| 烧烤/潮湿 |
α= 0.5 |
| væsker. |
α= 0.35 |
莱特勒
|
|
Type 4373 RustFrittStål |
|
Type 4374 SyRefastStål |
|
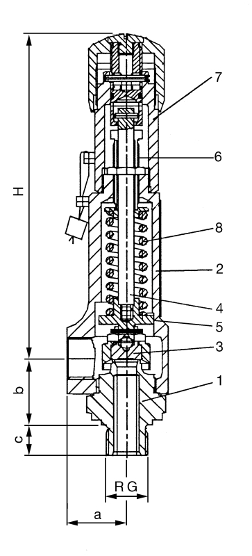
| pos。 |
Detaljer. |
din |
asme. |
din |
asme. |
| 1 |
Ventilhus |
1.4104 |
430 F. |
1.4404. |
SA 316 L. |
| 2 |
fjærhus. |
1.4104 |
430 F. |
1.4404. |
SA 316 L. |
| 3. |
磁盘mykteting. |
1.4122 |
420 rm. |
1.4404. |
316 L. |
| 4. |
斯威尔特 |
1.4121 |
420. |
1.4404. |
316 L. |
| 5. |
fjærplate. |
1.4104 |
430 F. |
1.4404. |
316 L. |
| 6. |
Justeringsskrue Med Foring. |
1.4104 |
420 F. |
1.4404. |
316 L. |
|
|
PTFE + 15%GLAS |
|
|
|
| 7. |
H2 TOPP. |
1.0718 |
斯托尔 |
1.4404. |
SA 316 L. |
|
H4Løfteanordning. |
1.4104 |
430 F. |
1.4404. |
SA 316 L. |
| 8. |
fjær. |
1.4310 |
302. |
1.4310 |
302. |
målog vekt.
|
|
标准Versjon. |
郎versjon. |
| Utvendige Gjenger |
Innløp. |
3/8“ - 1” |
3/8“ - 1” |
| Innvendige Gjenger |
Utløp. |
1/2“-1” |
1/2“-1” |
| 麦克斯。Åpningstrykk(Barg) |
闵。P. |
0,1 |
68. |
|
最大限度。P. |
68. |
180. |
| Strømningsareal(mm.2) |
敖 |
78,5. |
78,5. |
| Strømningsdiameter |
做 |
10. |
10. |
| sentermål. |
一种 |
30. |
30. |
|
B. |
33. |
33. |
| Gjengelengde. |
C 1/2“RG |
15. |
15. |
|
C 3/4“RG |
16. |
16. |
| Høyde. |
H2. |
137. |
158. |
|
H4. |
162. |
183. |
| VEKT. |
|
1,2 |
1,4 |
| mål我mm,ikt i kg。 |
|
|
|
| Sammetilbygningsmål彩色泰利格型539.Ventilen Kan Installeres Vertikalt Og Horisontall。 |
|
|
|
funksjon og konstruksjon.
direktevirkende,比例,Fjærbelastetsikkerhetsventil med utvendigrørgjengerpåinløpog Innvendigrørgjengepåutløp。Ventilen ER Metallisk Tettende。Med LukketFjærhusog Gasstett H4-Løfteanordningeller H2-Kappe。
Tekniske数据
我是Tabell:
p =Åpningstrykk(barg)
我= Mettet Damp(kg / h)
II = Luft 0°C OG 1013 MBAR(m3./H)
III = VANN VANN 20°C(1000kg / h)
KAPASITETSTABELL BEREGNET DIN 3320,AD-Merkblatt A2,TRD 421
| 做(mm) |
10. |
|
|
| P(巴洛) |
一世 |
II |
III |
| 0,1 |
14. |
16. |
0,6 |
| 0,2 |
28. |
35. |
1,1 |
| 1 |
41. |
52. |
1,5 |
| 2 |
67. |
85. |
2,1 |
| 3. |
90. |
115. |
2,5 |
| 4. |
112. |
145. |
2,9. |
| 5. |
134. |
174. |
3,3 |
| 6. |
156. |
203. |
3,6 |
| 8. |
200. |
262. |
4,2 |
| 10. |
243. |
321. |
4,6 |
| 15. |
353. |
468. |
5,7. |
| 20. |
462. |
615. |
6,6 |
| 25. |
572. |
762. |
7,3 |
| 30. |
683. |
909. |
8,0 |
| 40 |
907. |
1203. |
9,3 |
| 50. |
1137. |
1497. |
10. |
| 60. |
1372 |
1791. |
11. |
| 70 |
1612. |
2084年 |
12. |
| 80 |
1859年 |
2378 |
13. |
| 100. |
2373 |
2966 |
15. |
| 150. |
3788 |
4436 |
18. |
| 180. |
|
5317. |
20. |
Tilbehørog Varianter
- MED NPT-GJENGER
- DIN OG ANSI Flenser
- Innvendig Gjenger
- utførelsemed do = 6 mm for trykk opp til 330 barg
- Andre Materier Som Duplex,Hastelloy,Monel,Smo Eller TitanPåforespørsel
- Med Varmekappe.
酿酒
Vennligst OppgiFølgendeVed Bestilling Av Leser Sikkerhetsventil:
- 类型
- anslutning.
- Åpningstrykk.