跳到内容
莱塞

引航辅助装载系统

安全阀,在压力达到设定压力之前,附加一个增加密封力的力。这些阀门适用于对精度有要求的系统,而这些要求是常规弹簧安全阀无法满足的。通过在刚好低于设定压力的最佳性能下运行,您将更好地利用允许的设计压力。

25 - 400 DN(1“-16”)
压力 0,1 bar直到300 bar
温度 -270°C TIL + 550°C
执行 疯狂的

产品信息

Eksempler pa bruksomrader

对于Systemer Som Krever Egenskaper Som Ikke Kan Oppyylles Ved Direktevirkende,FjærbelastedeSikkerhetsventiler:

- Oppgradering av sisterende anlegg。
-最好的设计和工业进程。
-为腿部医疗trykktopper eller uberegneelig能量同步。
- anlegg med ubestemt eller varierende mottrykk på utløpssiden。

- 适用于Anlegg Med F.ks。过opphetingssikring,HVOR过opphetingsventilen alltidkallsÅpneførst。
- 对于Åungåfarligutslipp我kjemiske anlegg。
- Begrense hastighet, tid og støy på utslipp。
- for installasjoner hvor Kostbare Tap AV Energi OGVæskemåunngås。

kvalitetssikring.

godkjent avtüvi亨利til godkgenning nr。TÜVSV ... 768,(TIDLIGERE SAQ / DNV),OG Flere Andre Obser。

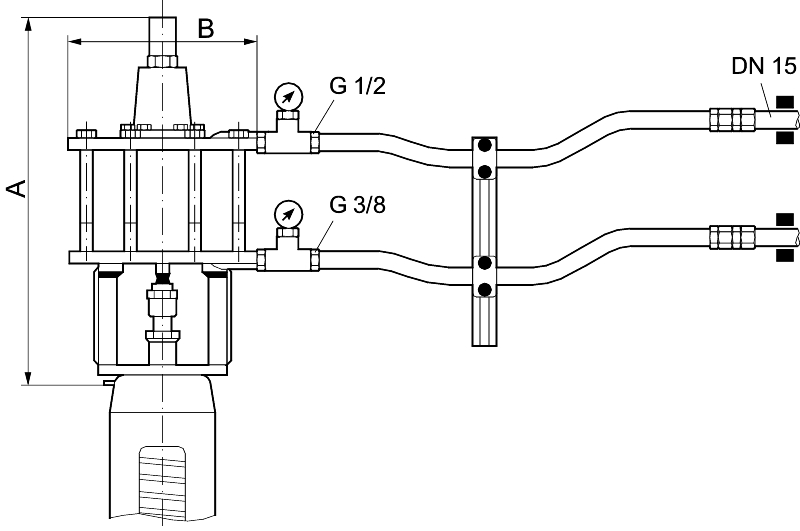
Mål og vekt, aktuatoren

aktuatorens nominellestørelse. 1 2 3. 3 S
Anslutningsstørrelse II III IV.
展spindelslaglengde 毫米 7. 12. 22日5 50/74
HøydeA. 毫米 330 420 660 795
直径B. 毫米 150 220 330 330
Stempeldiameter 毫米 One hundred. 160 250. 250.
Effektiv overflate cm² 70 188 457 457
* Tilsatskraft N 2100. 5640 13710 13710
Aktuatorens vekt kg. 9. 19. 68 75

* Ved differensetryk3 bar (kan justes)

用于mål på sikkerhetsventil, se separat produckblad Type 455 samt 457。

funksjon og konstruksjon.

Sikkerhetsventilen Er Utstyrt Med En Pneumatisk Aktuator SomHarÅGiEkstra牛皮纸I LukkingOgÅpningAv Ventilen。aktuatoren er kontrollert av trykkluft fra en styringsenhet通过drivgasslinjer。Styringsenheten Er Utstyrt Med Tre Mumometer Med Pneumatiske Brytere。StyringsenhetenFår冲动通过TreVæskeledende克雷斯师。Dersom Trykket IVæskekretseneoverstriger et Innstilte Trykket,Aktiverer Trykkbryterene forstyringsventilene Og dePåfølgendekontrollventilene。Styringsventilenegårii avluftningsposisjon hvor en vekslebryter aktiveres som我sin tur umiddelbart avlaster belastingstrykketpåaktuatoren。诺尔漂流架PåSikkerhetsventilerAktivertÅpnerVentilenHelt,Uavhengig Av Mottrykket。Nårtrykket synker下德国德尔斯特尔Åpningstrykketaktiveres driftrykketpåstengesidenog Ventilen Lukker。Ventilen Lukkes Med Akselerende Effekt,Detvil Si,Med Mindre Stengetrykk enn Konvensjonelle腔室。Ved Frafall Av Driftstrykk Fungerer Sikkerhetsventilen Som EnHøytløftende,Fjærbelastet锡克尔赫茨广门。 En eller flere sikkerhetsventiler kan styres fra samme kontrollskap.

对于informasjon om sikkerhetsventiler, se eget produktark, eksempel: 457型。

替代

sikkerhetsventiler的替代styringer

Styreskapet Kan Aktivere SikkerhetsventilenePåulikeMåterMedHensynTilÅpningog Lukking。ved frafall av driftstrykk fungerer sikkerhetsventilene som vanligefjærbelastedesikkerhetsventiler。de tre tre vanligstetilslutningsmåtenefor driftstrykket er;

Beskrivelse.

Funksjon

Alternativ 1: Begge sikkerhetsventilene styres med driftstrykk under både åpning og lukking。

Når åpningstrykket oppnås bortfaller driftstrykket på stengesiden av begge sikkerhetsventilene, mans driftstrykket på åpningssiden av sikkerhetsventilene tilser at begge ventilene åpner hurtig。Etter utblåsning tilser driftstrykket på stengesiden at begge ventilene stenger hurtig。

Alternativ 2: Sikkerhetsventilen med det høyeste åpningstrykket styres med driftstrykk under både åpning og lukking, men Sikkerhetsventilen med lavere åpningstrykk kun styres med driftstrykk under lukking。

NårÅpningstrykketOppnåsBortfallerDriftstrykketPåStengesidenAV Begge Sikkerhetsventilene男士Det Kun Aktiveres DriftstrykkPåÅpningsdenAv Sikkerhetsventsiden Med detHøyesteÅpningStrykket。Sikkerhetsventilen MedLavereÅpningstrykkÅpnerAvhengigAv InnstiltFjærtrykk。

Alternativ 3:Sikkerhetsventilen MedLavereÅpningstrykk(F.EKS。Ventilen TIL Operoppheteren)斯瓦里斯Med DriftStrykk在BådeÅpningog Lukking下。Sikkerhetsventilen Med DetHøyeÅpningstrykket(F.EKS。Ventilen Til Dampkjelen)Styres Kun Med DriftstrykkPåStengesiden。

NårÅpningstrykketOppnåsBortfallerDriftstrykketPåStengesidenAV Begge Sikkerhetsventilene男士Det Kun Aktiveres DriftStrykkPåÅpningsidenAv SikkerhetsventsiLen MedLavereÅpningstrykk。Sikkerhetsventilen Med DetHøyesteÅpningstrykketÅpnerAvhengigAv InnstiltFjærtrykk。

我们通常会使用过热器。

På dampkjelen kan en eller flere sikkerhetsventiler være montert。På overpheteren(过热器),er det stort sett én (1) sikkerhetsventil。

PåSpåSikeAnleggmådampkjelensventil(er)vilejoneres forå锡克瑞·迈斯特75%AvNødvendigKapasitet(MCR =最大连续评分,F.KS。T / H Eller Kg / h),OG vanligvis Sikres Denne Forsyning Med Tilslutning I Henholding I Henhold Indertativ3。

标准Tilkobling ER交替3。

适用于MER Informasejon Vennligst SEVårTryChavsäkringHandbok(Utgåva1,2005)。

Tekniske数据

ekstremt litennedblåsningog kortutblåsningstidmedførerlitevæske-og trykk-tap。Arbeidstrykket Kan Ligge Tett Oppunder Systemtrykket,HvorHøyFefektiviteti Anlegget Er Innhentet。Sikkerhetsventilene og Tilsatsbelastningen Kan Kontrolles OgPrøvesvia et tastetrykk。MiljøvennligMed Hensyn TilMiljø(Utslipp Og Lyd),PåGrunnAvLavere Energitap og KorrereUtblåsningstid。MerMiljøvenligenn Tradisjonelle Sikkerhetsventiler。

请您访问我们的主页或者发送给我们电子邮件,垂询当前的信息和服务。457型。

标准beskyttelsesklasse er IP54。Fås i utførelse“Box-in-Box”hvor beskyttelsesklasse IP65 oppnås。

Kompendier Med Fullstendig Informasjon KanFåsHosArmatec。

尺寸约会

对于ValeJonering,Valg Av Ventiler,Aktuator Og Styreeskap,Vennligst Kontakt Armatec for Et Kompett Tilbud。

Tilbehør og变体

LESER tilsatsbelastning kan også brukes til andre merker av sikkerhetsventiler, hvis de er er utformet sliks at LESER 's aktuatorer kan monteres。

我希望你能给我打电话。

Standard beskyttelsesklasse for styreskapet er IP54, men kan fås i utførelse "Box-in-box", der beskyttelsesklasse IP65 oppnås。

Leser 7121 styreskap er pneumatisk。Også tilgjengelig som elektropneumatisk, Leser 7122。

Installasjon

Ren,Olje-OG VANN-FRI Drivgass(仪表LUFT)ANBEFALES。
styreldninger tilknyttet aktuator må ha最小gjennomstrømningsdiameter på 15 mm。
TrykkluftnettetMÅInneholde Minst 4 Og Opp Til 10 Bar。
这是我的资料。

Vedlikehold og reservedeler

Funksjonen Skal测试Minst En Gang PerÅr。
Dette Omfatter Kontroll Av Sikkerhetsventil,Dens Funksjon Med OG Uten Styreenheten Og Kontroll Av At Hovedventil OG StyreeNhet Er Riktig Innstilt。

ARMATECTILBYRÅUTFØRENØDVENDIGINSPEKSJON OG VEDLIKEHOLD GJENNOM en Serviceavtale。I Tillegg Anbefales RegelMessig Visuell Inspeksjon Av Foretakets Egne Spesialister。

Bestillingsnøkkel

Komplett system med tilsatsbelastede sikkerhetsventiler bestående av;

X st sikkerhetsventiler xxxx型(se separate producktblad f.k。457型),med påmontert pneumatik aktuator。

1 St Styreskap用于Nevnte通风机。

Oppgi:

-Åpningstrykk.

-Arbeidstrykk

-Kapasitet

-driftstemperatur ogUtblåsningstemperatur(VED Overopphetet DAMP)

-statiskhøydefrastyreskap tilInnløpetPåSikkerhetsventil(ENE)

-最小值:på driftstrykket

联系人

沃纳Hannestad

业务经理-压力安全设备

+47 90 03 28 92
wha@armatec.no

Iselin斯特劳梅Engjaberg

销售工程师

+47 94 37 07 96
ise@armatec.no