大学trykholde/ overstro ømsventil for de fleste gasser og æsker。Ventilen holder trykket før Ventilen konconstant (trykholde) eller åbner proportional ved en trykstining over det indstillede (overstrømsventil)
| Dimensionsomrade | rg DN15-50 1/2“2” |
|---|---|
| PN | 16 |
| Temperaturomrade | 130°C |
| 材料 | SS316 |
大学trykholde/ overstro ømsventil for de fleste gasser og æsker。Ventilen holder trykket før Ventilen konconstant (trykholde) eller åbner proportional ved en trykstining over det indstillede (overstrømsventil)
CE-mærkning
我知道了。PED
| Detalje | 炉 |
|---|---|
| 溶血性尿毒综合征 | SS316 |
| Fjederhus | SS316 |
| Indvendige▽ | SS316 |
| Fjeder | Rustfrit“斯太尔 |
| Kegletætn | 三元乙丙橡胶(alternativ聚四氟乙烯) |
| Membran | EPDM胶粘剂FPM (Viton) |
| Beskyttelse衬垫直到膜 | 聚四氟乙烯(选项) |
如果你想要更多的东西,你可以试一试,试一试。最优的tætning。我们将为您提供特别的服务。
| 维 | DN15 | 20. | 25 | 32 | 40 | 50 |
|---|---|---|---|---|---|---|
| 1/2 " | 3/4” | 1" | 1 1/4 " | 1½” | 2" | |
| 变电站værdi (m3./小时) | 3,5 | 3,5 | 4 | 22 | 22 | 22 |
| 维 | 15 | 20. | 25 | 32 | 40 | 50 | ||||||||||||||||||||||||||
|---|---|---|---|---|---|---|---|---|---|---|---|---|---|---|---|---|---|---|---|---|---|---|---|---|---|---|---|---|---|---|---|---|
| Trykomrader | 1/2 " | 3/4” | 1" | 1 1/4 " | 1½” | 2" | ||||||||||||||||||||||||||
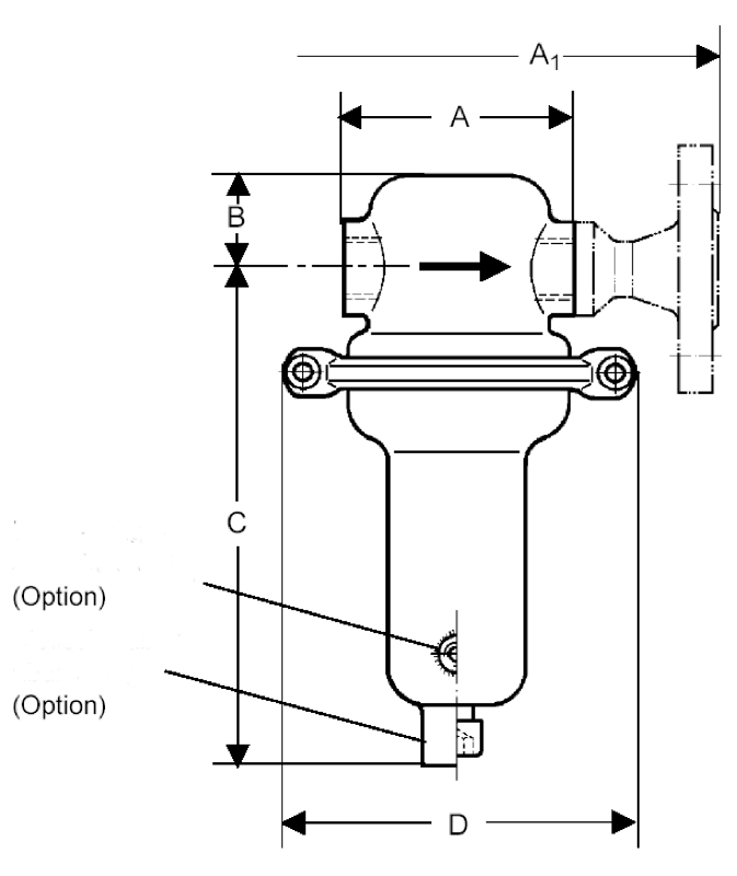
| 阿莱 | 一个 | 90 | 90 | 136 | 130 | 145 | 185 | |||||||||||||||||||||||||
| 阿莱 | A1 | 200 | 200 | 200 | 180 | 200 | 230 | |||||||||||||||||||||||||
| 阿莱 | B | 40 | 40 | 40 | 110 | 110 | 110 | |||||||||||||||||||||||||
| 0 02-0 12气压 | C | 270 | 270 | 270 | 285 | 285 | 285 | |||||||||||||||||||||||||
| D | 360 | 360 | 360 | 360 | 360 | 360 | ||||||||||||||||||||||||||
| 0、1 - 0 5大气压力 | C | 270 | 270 | 270 | 285 | 285 | 285 | |||||||||||||||||||||||||
| D | 264 | 264 | 264 | 264 | 264 | 264 | ||||||||||||||||||||||||||
| 0 3 1大气压力 | C | 270 | 270 | 270 | 285 | 285 | 285 | |||||||||||||||||||||||||
| D | 200 | 200 | 200 | 200 | 200 | 200 | ||||||||||||||||||||||||||
| Område > 0,8巴罗 | C | 205 | 205 | 205 | 220 | 220 | 220 | |||||||||||||||||||||||||
| D | 138 | 138 | 138 | 138 | 138 | 138 | ||||||||||||||||||||||||||
| Mal我毫米 | Mål i mm, vægt i kg | |||||||||||||||||||||||||||||||
| 维 | ½rg“1” | 1 1/4" - 2" rg | DN15-DN25 | DN32-50 | ||||||||||||||||||||
|---|---|---|---|---|---|---|---|---|---|---|---|---|---|---|---|---|---|---|---|---|---|---|---|---|
| 0 02-0 12 | 13 | 14日4 | 14 | 16日,4 | ||||||||||||||||||||
| 0、1 - 0 5 | 6、5 | 8 | 7,5 | 10 | ||||||||||||||||||||
| 0、3、1 | 5、5 | 7 | 6、5 | 9 | ||||||||||||||||||||
| 0, 8 - 12 | 2,5 | 4 | 3,5 | 6 | ||||||||||||||||||||
| vægt公斤 | ||||||||||||||||||||||||
Andre tilslutninger som NPT gevind, ANSI法兰eller Tri-Clamps
用Mulighed表示漏水,用它表示漏油。
我公司需要为电焊机安装渗漏倾斜装置。
Ra< 0,8 μ m