Ga直到indhold

Armatec reduktionsventil DM152

Reduktionsventil for fødevarer og sanitære applikationer, indeholder i praksis ingen dødrum, CIP/SIP egnet, selvdrænende。菅直人利用医疗手段来对付skellige tilslutninger inkl。Tri-clamps。

Dimensionsomrade DN15-50
PN PN10 P1: max。8巴格
Temperaturomrade 180°C
材料 SS316

Produktinformation

Anvendelse

在使用卫生设备前,请先使用卫生设备。煤气潮湿。我们有一个最好的房间。dø鼓,CIP / SIP egnethed。

Kvalitetsikring

CE-mærkning

我知道了。PED

材料

Detalje
溶血性尿毒综合征 SS316
Fjeder Rustfrit“斯太尔
Fjederhus SS316
Kegle ss316metallisk, Alt. blød tætn。我FEPM (FDA)
Membran FPM beskyttet med PFTE liner mod mediet

Funktion og konstruktion

对于前驱和后驱,我们可以用Selvvirkende reduktionsventil。标准tilslutning三夹ISO2852 (rør ISO1127)。我希望能有一个CIP/SIP egnet。薄膜采用PTFE衬垫,så密封,温度可调至180°C。如果有冲动的话。。标准的医疗器械漏泄率:0.05%。Kan desuden杠杆作用于Ra<0,8m μ g, Ra<0,4m μ g电极。在adskille og servicere钳工mellem hus gør den。

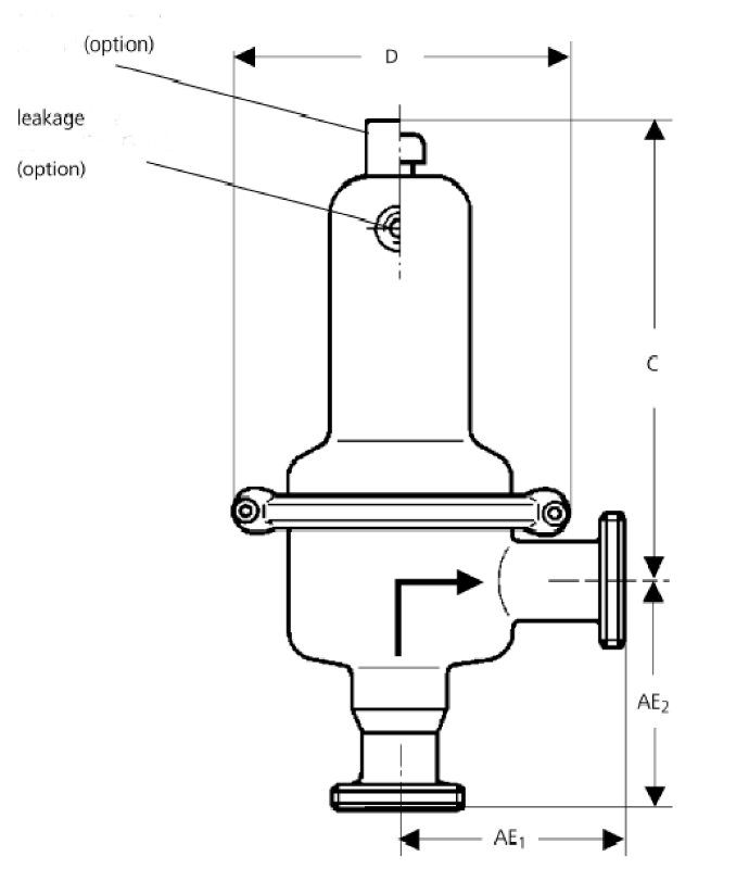
变电站værdier

15 20. 25 32 40 50
变电站værdi (m3./小时) 2 3. 4 5 6 7

Indstillingsomrade

P2我酒吧 1-5 0 8 - 2 5 0、3、1
Nominelt tryk PN10/10 PN10/6 PN10/2 5

发作:

15 20. 25 32 40 50
Trykomrader 1/2" 3/4" 1" 1 1/4 " 1½” 2"
阿莱 C 200 200 200 200 200 200
0,8 - 2,5 og 2 -5巴罗 AE1 90 90 90 120 120 120
AE2 90/100/110 * 90/100/110 * 90 120 120 120
D 138 138 138 138 138 138
0,3 - 1,1巴罗 AE1 120 120 120 120 120 120
AE2 120/140 * 120/140 * 120 120 120 120
D 200 200 200 200 200 200

Mål i mm, (*) kan变种后af倾斜

Mål i mm, vægt i kg

Vægt:

DN15 DN20 DN25 DN32 DN40 DN50
0 8 - 2 5 2 2 213 2,5 2,5 3.
1-5 2 2 2 2,5 2,5 3.
0、3、1 3. 3. 3. 3、5 3、5 4
vægt公斤

Kontaktpersoner

肯尼斯小岛

工业/工业销售经理/机械学士。工程

+ 45 46 96 00 78
kh@armatec.dk

凯尔拉森

Salgschef - Maskiningeniør /销售经理

+ 45 40 54 95 00
kl@armatec.dk

丹尼尔Sigsgaard

Salgsingeniør Industri /工业销售工程师

+45 46 96 00 96 / +45 51 77 95 74
ds@armatec.dk

雅各Hemicke

Maskinmester / BTechMan & MarEng - producktchef /产品经理

+45 40 74 95 93
jah@armatec.dk

约翰尼Heidler

产品部经理/产品经理自动化

+ 45 46 96 00 79
jo@armatec.dk

彼得森布鲁诺

Salgsingeniør /销售工程师

+ 45 40 93 40 91
bp@armatec.dk

彼得•埃里克森

实习生Salg - Teknisk支持/实习生。销售-技术支持

+ 45 46 96 00 80
pe@armatec.dk

每Thomsen

Maskinmester / BTech & MarEng

+ 45 46 96 00 73
pt@armatec.dk