Anvedelsesområde
Helsvejst kugleventil til varme,- og køleanlæg (inkl. fjernvarme installationer)
Kvalitetssikring
CE-mærkning: Ventilerne呃CE-mærket《国际先驱论坛报》. PED (Gruppe 2)
Produceret iht. EN12266-1 og EN12266-2
Funktion og Konstruktion
Helsvejst kugleventil med svejseender for direkte indsvejsning i rørsystemet. Med reduceret gennemløb.
Ventilen leveres som standard med ekstra høj spindelhals for isolering. Ventilens pakdåse kan efterspændes.
AT3590S har svejseender i begge ender, AT3590V med håndhjulsgear
Max. Arbejdstryk 40 barg (DN15-DN50), 25 barg (DN65-DN400)
Farve blå RAL5005
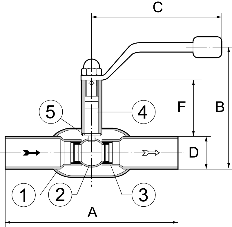
Materialer
| Pos |
Detalje |
Material |
|
| 1 |
Hus/svejseender |
Stål |
P355N |
| 2 |
Kugle |
Rustfrit stål |
1.4301 (ANSI304) |
| 3 |
Sæde |
PTFE +C |
|
| 4 |
Spindel |
Rustfrit stål |
1.4028 (ANSI420B) |
| 5 |
Spindeltætning |
PTFE |
|
Vægt DN15-DN80
| Dimension |
|
15 |
20 |
25 |
32 |
40 |
50 |
65 |
80 |
|
Vægt |
1,5 |
1,8 |
2,0 |
2,4 |
3,5 |
4,2 |
5,2 |
8 |
| vægt i kg. |
|
|
|
|
|
|
|
|
|
Vægt DN100-DN400
| Dimensioner |
|
100 |
125 |
150 |
200 |
250 |
300 |
350 |
400 |
|
Vægt |
15 |
34 |
39 |
70 |
120 |
225 |
250 |
300 |
| Vægt i kg. (*) ikke standard kontakt Armatec |
|
|
|
|
|
|
|
|
|
KV-værdier DN10-DN80
| Dimension |
15 |
20 |
25 |
32 |
40 |
50 |
65 |
80 |
| Kvs (m3/h) |
6 |
15 |
30 |
41 |
72 |
104 |
160 |
282 |
KV-værdier DN100-400
| Dimension |
100 |
125 |
150 |
200 |
250 |
300 |
350 |
400 |
| Kvs (m3/h) |
452 |
696 |
1104 |
1521 |
2784 |
4641 |
6801 |
6083 |
Moment DN25-DN100
| Dimension |
25 |
32 |
40 |
50 |
65 |
80 |
100 |
| Nm vedDP = 25 bar |
7 |
16 |
25 |
48 |
47 |
93 |
173 |
Moment DN125-DN400
| Dimension |
125 |
150 |
200 |
250 |
300 |
350 |
400 |
| Nm vedDP= 25 bar |
331 |
505 |
931 |
2033 |
1971 |
2707 |
2707 |
Tekniske detaljer DN15-DN250
Standard med manuel håndtag og forberedt for aktuator montage.
Tekniske detaljer DN300-600
Som standard med med ISO top for direkte montage af aktuator.
Tryk/temperatur grænser i Mpa (1 Mpa = 10 baro)
Tilbehør og varianter
Kan leveres med dræn.
Vedligeholdelse
Kugleventilen er i princippet vedligeholdelsesfri. Dog bør den betjenes regelmæssigt.
Installation
Ventilen kan monteres vandret eller lodret. Indsvejning skal ske med kuglen i åben position. Ved gassvejsning er det vigtigt af ventilhuset køles så sæderingene ikke beskadiges.