Butterflyventil med påvulkaniseret liner for forlænget levetid. bedste ventil til vandinstallationer, sprinkler- og brandsystemer, pumpestationer, varme og kølesystemer, glykolblandet vand, vandbehandlingsanlæg, ballast og kølesystemer i skibe,svømmerhaller, neutrale gasser, spildevand, havvand, vakuumsystemer, pulver og slurrytransport. avstängning
| Dimensionsområde | DN 50-1600 |
|---|---|
| PN | 6-10-16 |
| Temperaturområde | -30 - 200 ºC |
| Materiale | Støbejern/sejjern/stål |
| Artikelnummer | Antal |
|---|---|
| AT EVS EVBS DK |
Markeds bedste butterflyventil der kan anvendes til både afspærrings og simple reguleringsopgaver.
Typiske anvendelser: Varmt og koldt vandinstallationer råvandssystemer,
sprinkler- og brandsystemer, pumpestationer, varme og kølesystemer,
glykolblandet vand, vandbehandlingsanlæg, ballast og kølesystemer i skibe,
svømmerhaller, neutrale gasser, spildevand, vakuumsystemer, pulver og slurrytransport.
NBR-gummi: 0-90°C, koldt vand, pulver, luft, olie og neutrale gasser
EPDM-gummi: -20/+110°C (Peroxid -30/+120°C), varmt vand, luft, glykol,
neutrale gasser.
FPM/Viton-gummi: 0-200°C, olier og gasser/luft (max. +200 °C v. 0,5 bar)
CE-mærkningmærket iht. PED. Afprøvet iht. ISO 5208, lækageklasse A.
Tryk/temperaturgrænser iht. EN1092
| EVS/EVBS | EVS | ||||||||||||
|---|---|---|---|---|---|---|---|---|---|---|---|---|---|
| AT 2312(AE) | AT 2313(BE) | AT 2314 (AK) | AT 2319(MJE) | ||||||||||
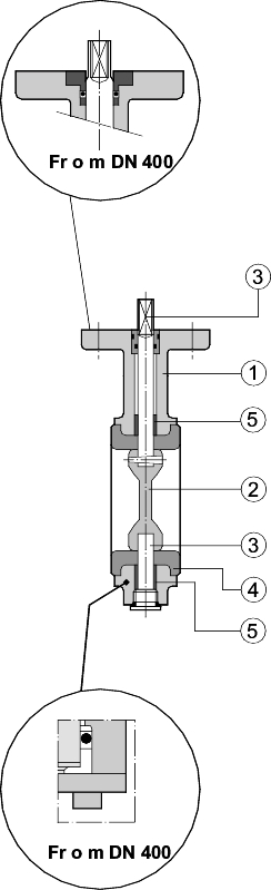
| 1 | Ventilhus | GG-25 | GG-25 | GG-25 | GGG-40 | ||||||||
| 2 | Klap | ||||||||||||
| (DN 50-600) | 1.4462 Duplex | 1.4462 Duplex | 1.4462 Duplex | ||||||||||
| Klap | |||||||||||||
| (DN 700-1600) | 316L | ||||||||||||
| Klap | |||||||||||||
| (DN 700-1400) | 1.4435 | 1.4435 | |||||||||||
| Klap | G-CuAI10Ni | ||||||||||||
| 3 | Spindel | 1.4462 | 1.4462 | 1.4462 | |||||||||
| G-CuAI10Ni | |||||||||||||
| 4 | Liner | NBR | EPDM | NBR | Viton® | ||||||||
| 5 | Lejer | Stål-PTFE | Stål-PTFE | Stål-PTFE | Stål-PTFE | ||||||||
| Hakplade | El forsinket | El forzinket | El forzinket | El forzinket | |||||||||
| Bundtætning | kobber | kobber | kobber | kobber | |||||||||
| Bundplade | stål/ el forzinket | stål/ el forsinket | stål/ el forsinket | stål/ el forsinket | |||||||||
| Tryk og temperatur | |||
| Fig nr | DN | Arbejdstryk | Arbejdstemp |
|---|---|---|---|
| max. bar | max. °C | ||
| EVBS-BE (AT2313) | 50-300 | 16* | 120 |
| EVBS-AE/AK (AT2314/AT2312) | 50-300 | 16* | 90 |
| EVS-AA (AT2310) | 250-1600 | 10** | 90 |
| EVS-BA (AT2311) | 250-1600 | 10** | 120 |
| EVS-BE (AT2313) | 350-1600 | 10 | 120 |
| EVS-AE/AK (AT2312/AT2314) | 350-1600 | 10 | 90 |
| EVS-MJE (AT2319) | 50-1600 | 10** | 200 |
| * End of line DN 50-200 max. 10 bar (e). | |||
| **End of linel DN 250-300 max. 6 bar (e). |
| KVs-værdi og drejningsmoment | |||||||||
| DN | Kvs-værdi | Drejningsmoment (Nm), Differenstryk (bar) | |||||||
|---|---|---|---|---|---|---|---|---|---|
| Rustfri klap | Al.br og GGG klap | AT 2314 | 2,5 | 6 | 10 | 16 | |||
| 50 | 95 | 95 | 95 | 9 | 10 | 10 | 11 | ||
| 65 | 231 | 231 | 231 | 13 | 13 | 14 | 15 | ||
| 80 | 491 | 491 | 491 | 17 | 18 | 19 | 21 | ||
| 100 | 690 | 690 | 690 | 28 | 30 | 32 | 36 | ||
| 125 | 1450 | 1450 | 1450 | 39 | 42 | 46 | 52 | ||
| 150 | 1945 | 1945 | 1945 | 60 | 67 | 75 | 86 | ||
| 200 | 4095 | 4095 | 4095 | 120 | 130 | 140 | 160 | ||
| 250 | 6085 | 6085 | 4265 | 300 | 320 | 350 | 400 | ||
| 300 | 9570 | 9570 | 6360 | 420 | 450 | 490 | 560 | ||
| 350 | 13500 | 13500 | 8975 | 310 | 360 | 410 | 660 | ||
| 400 | 16350 | 16350 | 10230 | 460 | 540 | 640 | 1020 | ||
| 450 | 21550 | 21550 | 12730 | 630 | 740 | 850 | 1400 | ||
| 500 | 27700 | 27700 | 17000 | 840 | 970 | 1120 | 1800 | ||
| 600 | 37200 | 37200 | 24810 | 910 | 1100 | 1900 | 3100 | ||
| 700 | 34470 | 34470 | 34470 | 1500 | 1900 | 3200 | 5200 | ||
| 800 | 45540 | 45540 | 45540 | 2100 | 2600 | 4400 | 7000 | ||
| 900 | 58290 | 58290 | 58290 | 2900 | 3800 | 6400 | 10200 | ||
| 1000 | 73510 | 73510 | 73510 | 3800 | 4900 | 8100 | 13000 | ||
| 1200 | 108400 | 108400 | 108400 | 5900 | 7900 | 13000 | 21000 | ||
| 1400 | 151400 | 151400 | 151400 | 9000 | 12000 | 20000 | 32000 | ||
| 1600 | 203200 | - | 203200 | 12000 | 17000 | 29000 | 46000 |
| Drejningsmoment (Nm) for special-bearbejdet klap PN 6 (Undercut) | Special spjällskiva | ||||||
| Differenstryk (bar) | |||||||
| DN | 2,5 | 6 | |||||
| 600 | 910 | 1100 | |||||
| 700 | 1500 | 1900 | |||||
| 800 | 2100 | 2600 | |||||
| 900 | 2900 | 3800 | |||||
| 1000 | 3800 | 4900 | |||||
| 1200 | 5900 | 7900 | |||||
| 1400 | 9000 | 12000 | |||||
| 1600 | 12000 | 17000 |
Drejningsmoment er oplyst for ventiler ved PN6:
- NBR- eller EPDM-liner
- Temperatur mellem 0 og 80°C
- Væsker
- Gasser altid ved min. Dp 6 bar
- Betjening min. 10 gange/år
Bedste reguleringsområdet for en butterflyventil er mellem 20-70° åbningsvinkel.
| Ventil størrelse |
Kvs afhængig af åbningsvinkel ° | |||||||
|---|---|---|---|---|---|---|---|---|
| DN | 20 | 40 | 50 | 60 | 70 | 80 | 90 | |
| 50 | 3 | 13 | 24 | 44 | 72 | 90 | 95 | |
| 65 | 7 | 22 | 44 | 79 | 136 | 212 | 231 | |
| 80 | 15 | 42 | 82 | 135 | 231 | 378 | 491 | |
| 100 | 21 | 82 | 148 | 246 | 414 | 660 | 690 | |
| 125 | 44 | 125 | 232 | 370 | 650 | 1110 | 1450 | |
| 150 | 58 | 225 | 383 | 592 | 1016 | 1691 | 1945 | |
200 |
123 | 352 | 599 | 967 | 1615 | 2878 | 4095 | |
| 250 | 183 | 626 | 1151 | 1939 | 3289 | 5154 | 6085 | |
| 300 | 287 | 984 | 1809 | 3050 | 5172 | 8105 | 9570 | |
| 350 | 405 | 1388 | 2553 | 4303 | 7296 | 11434 | 13500 | |
| 400 | 491 | 1681 | 3091 | 5211 | 8837 | 13848 | 16350 | |
| 450 | 647 | 2216 | 4075 | 6868 | 11647 | 18252 | 21550 | |
| 500 | 831 | 2848 | 5237 | 8828 | 14971 | 23460 | 27700 | |
| 600 | 1116 | 3825 | 7034 | 11856 | 20106 | 31506 | 37200 |
| Ventil størrelse |
Kvs afhængig af åbningsvinkel ° | |||||||
|---|---|---|---|---|---|---|---|---|
| DN | 20 | 30 | 40 | 50 | 60 | 70 | 80 | 90 |
| 250 | 171 | 299 | 554 | 938 | 1493 | 2474 | 3625 | 4265 |
| 300 | 254 | 445 | 763 | 1272 | 2099 | 3434 | 5533 | 6360 |
| 350 | 269 | 359 | 718 | 1167 | 1885 | 3141 | 5565 | 8975 |
| 400 | 405 | 717 | 1271 | 2222 | 3876 | 5774 | 8786 | 10130 |
| 450 | 509 | 810 | 1478 | 2497 | 4211 | 6716 | 10380 | 12730 |
| 500 | 680 | 1069 | 1943 | 3283 | 5452 | 8730 | 13677 | 17000 |
600 |
992 | 1560 | 2836 | 4791 | 7956 | 12741 | 19961 | 24810 |
| 700 | 1379 | 2167 | 3941 | 6656 | 11054 | 17701 | 27733 | 34470 |
| 800 | 1822 | 2863 | 5206 | 8794 | 14604 | 23386 | 36639 | 45540 |
| 900 | 2332 | 3665 | 6664 | 11256 | 18693 | 29933 | 46897 | 58290 |
| 1000 | 2940 | 4622 | 8404 | 14195 | 23574 | 37749 | 59142 | 73510 |
| 1100 | 3718 | 5844 | 10625 | 17947 | 29804 | 47727 | 74775 | 92940 |
| 1200 | 4336 | 6816 | 12392 | 20933 | 34762 | 55666 | 87213 | 108400 |
| 1400 | 6056 | 9519 | 17308 | 29237 | 48552 | 77748 | 121808 | 151400 |
| 1500 | 7044 | 11072 | 20132 | 34006 | 56473 | 90432 | 14681 | 176100 |
| 1600 | 8128 | 12776 | 23230 | 39240 | 65163 | 104348 | 163484 | 203200 |
- Ventilhus af stål eller sejjern.
——地中海Ventilhus monoflange直到ensidig蒙太奇DN250-1000
- Klap af sejjern - epoxybehandlet
- Poleret klap Ra 0,1
- Klap for PN6 (undercut disc)
- Gummiliner af EPDM peroxid (EPDM højtemperatur)
- Forskellige typer af overfladebehandling også under vand og nedgravet
- DN 350-1600 i trykklasse PN 16
- Flangede ventiler, se AT 2340-serien
- Spindelforlænger i forskellige varianter
- Udførsler (kun flangetilslutn.) i trykklasse PN 25
- EVBLS med høj hals (separat datablad)
Betjening
- Håndbetjening
Ventilerne leveres som standard med 10 positioner låseskive håndtag fra DN 50-200 eller med håndhjulsgear alle DN størrelser.
Varianter
- Kædehjul for fjernbetjening
- Endestopkontakter til håndgreb og håndhjulsgear
Automatisk betjening
Ventilerne leveres med et varieret aktuatorprogram som er egnet til et kompakt direkte montage, for pneumatisk, hydraulisk eller elektrisk drift.
| DN | Flanger ifølge | DN | Max. bespænding Nm |
|---|---|---|---|
| DN 50-300 | DN 2501-PN 10/16 | 50-125 | 100 |
| 350-1600 | DN 2501-PN 10 | 150-300 | 250 |
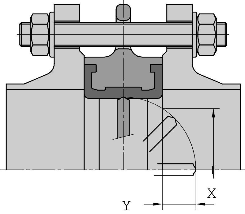
| Mål i mm ("X" modflanges indvendige minimum mål fra centerlinie, for at gå fri af klappen) | ||
| DN | X | Y |
|---|---|---|
| 50 | 26 | 3,5 |
| 65 | 46 | 9,5 |
| 80 | 66 | 17 |
| 100 | 86 | 24 |
| 125 | 112 | 34,5 |
| 150 | 140 | 47 |
| 200 | 191 | 70 |
| 250 | 241 | 92 |
| 300 | 290 | 114 |
| 350 | 327 | 130 |
| 400 | 373 | 142 |
| 450 | 421 | 161 |
| 500 | 470 | 180 |
Markedschef Industri / Manager Industrial Sales / B.SC. Mech.Engineering
Salgsingeniør Industri / Industrial Sales Engineer
Intern Salg - Teknisk Support / Intern. Sales - Tech. Support
Maskinmester / BTechMan & MarEng - Produktchef / Product Manager