Butterflyventil med påvulkaniseret liner for køle- og varmeanlæg. Med lang hals for isolering og rustfri klap.
| Dimensionsområde | DN 50-300 |
|---|---|
| PN | 10-16 |
| Temperaturområde | -10 til 110 ºC |
| Materiale | Støbejern |
| Artikelnummer | Antal |
|---|---|
| AT EVBLS |
Markeds bedste butterflyventil der kan anvendes til både afspærrings og simple reguleringsopgaver.
Typiske anvendelser: Varmt og koldt vandinstallationer råvandssystemer,
sprinkler- og brandsystemer, pumpestationer, varme og kølesystemer,
glykolblandet vand, vandbehandlingsanlæg, ballast og kølesystemer i skibe,
svømmerhaller, neutrale gasser, spildevand, vakuumsystemer, pulver og slurrytransport.
NBR-gummi: 0-90°C, koldt vand, pulver, luft, olie og neutrale gasser
EPDM-gummi: -10/+110°C varmt vand, luft, glykol,
neutrale gasser.
CE-mærkningmærket iht. PED. Afprøvet iht. ISO 5208, lækageklasse A.
Tryk/temperaturgrænser iht. EN1092
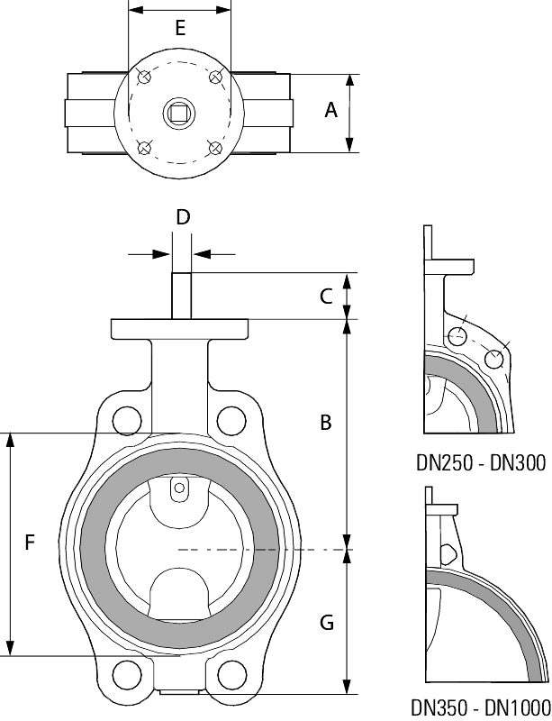
| EVBLS (høj hals) | |||||||||||
| AT 2310(AA) | AT 2311(BA) | ||||||||||
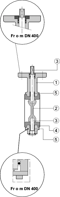
| 1 | Ventilhus | GG-25 (DN200/300 GGG40 (KA) | GG-25 (DN200/300, GGG (JA) | ||||||||
| 2 | Klap | AISI 431 | AISI 431 | ||||||||
| 3 | Spindel | AISI 431 | AISI 431 | ||||||||
| 4 | Liner | NBR | EPDM | ||||||||
| 5 | Lejer | Stål-PTFE | Stål-PTFE | ||||||||
| Bundtættning | kobber | kobber | |||||||||
| Hakplade | El forzinket | El forzinket | |||||||||
| Bundplade | stål/el forzinket | stål/el forzinket | |||||||||
| EVBLS (AT2310) med høj hals til og med DN300. | |||||||||||
| DN | A | B* | C | C* | D | D* | E | F | G | Vægt | |||||||||||||||||||
|---|---|---|---|---|---|---|---|---|---|---|---|---|---|---|---|---|---|---|---|---|---|---|---|---|---|---|---|---|---|
| 50 | 43 | 152 | 34 | 15 | 10 | 9 | 70 | 100 | 63 | 3 | |||||||||||||||||||
| 65 | 46 | 160 | 34 | 15 | 10 | 9 | 70 | 115 | 71 | 3,5 | |||||||||||||||||||
| 80 | 46 | 167 | 34 | 15 | 10 | 9 | 70 | 130 | 78 | 5 | |||||||||||||||||||
| 100 | 52 | 189 | 34 | 15 | 12 | 11 | 70 | 150 | 96 | 6 | |||||||||||||||||||
| 125 | 56 | 202 | 34 | 15 | 12 | 11 | 70 | 182 | 109 | 8 | |||||||||||||||||||
| 150 | 56 | 224 | 34 | 19 | 16 | 14 | 70 | 210 | 133 | 10 | |||||||||||||||||||
| 200 | 60 | 248 | 34 | 19 | 16 | 14 | 70 | 262 | 158 | 14 | |||||||||||||||||||
| 250 | 68 | 275 | 45 | 24 | 24 | 22 | 102 | 315 | 194 | 24 | |||||||||||||||||||
| 300 | 78 | 305 | 45 | 24 | 24 | 22 | 102 | 371 | 219 | 28 | |||||||||||||||||||
| *在2310 - 11地中海朗spindelhals直到机汇erisolering. DN 50-300, C*, D* ISO udførsel (for aktuator) NB! spindel drejet 45°. Mål i mm, vægt i kg. |
|||||||||||||||||||||||||||||
| Tryk og temperatur | |||
| Fig nr | DN | Arbejdstryk | Arbejdstemp |
|---|---|---|---|
| max. bar | max. °C | ||
| EVBLS-AA (AT2310) | 50-300 | 16* | 90 |
| EVBLS-BA (AT2311) | 50-300 | 16* | 110 |
| * End of line DN 50-200 max. 10 bar (e). | |||
| **End of linel DN 250-300 max. 6 bar (e). |
| KVs-værdi og drejningsmoment | |||||||||
| DN | Kvs-værdi | Drejningsmoment (Nm), Differenstryk (bar) | |||||||
|---|---|---|---|---|---|---|---|---|---|
| Rustfri klap | 2,5 | 6 | 10 | 16 | |||||
| 50 | 95 | 9 | 10 | 10 | 11 | ||||
| 65 | 231 | 13 | 13 | 14 | 15 | ||||
| 80 | 491 | 17 | 18 | 19 | 21 | ||||
| 100 | 690 | 28 | 30 | 32 | 36 | ||||
| 125 | 1450 | 39 | 42 | 46 | 52 | ||||
| 150 | 1945 | 60 | 67 | 75 | 86 | ||||
| 200 | 4095 | 120 | 130 | 140 | 160 | ||||
| 250 | 6085 | 300 | 320 | 350 | 400 | ||||
| 300 | 9570 | 420 | 450 | 490 | 560 |
| Ventil størrelse |
Åbnings vinkel ° |
|||||||
|---|---|---|---|---|---|---|---|---|
| DN | 20 | 40 | 50 | 60 | 70 | 80 | 90 | |
| 50 | 3 | 13 | 24 | 44 | 72 | 90 | 95 | |
| 65 | 7 | 22 | 44 | 79 | 136 | 212 | 231 | |
| 80 | 15 | 42 | 82 | 135 | 231 | 378 | 491 | |
| 100 | 21 | 82 | 148 | 246 | 414 | 660 | 690 | |
| 125 | 44 | 125 | 232 | 370 | 650 | 1110 | 1450 | |
| 150 | 58 | 225 | 383 | 592 | 1016 | 1691 | 1945 | |
200 |
123 | 352 | 599 | 967 | 1615 | 2878 | 4095 | |
| 250 | 183 | 626 | 1151 | 1939 | 3289 | 5154 | 6085 | |
| 300 | 287 | 984 | 1809 | 3050 | 5172 | 8105 | 9570 |
Betjening
- Håndbetjening
Ventilerne leveres som standard med 10 positioner låseskive håndtag fra DN 50-200 eller med håndhjulsgear alle DN størrelser.
Varianter
- Kædehjul for fjernbetjening
- Endestopkontakter til håndgreb og håndhjulsgear
Automatisk betjening
Ventilerne leveres med et varieret aktuatorprogram som er egnet til et kompakt direkte montage, for pneumatisk, hydraulisk eller elektrisk drift.
| DN | Flanger ifølge | DN | Max. bespænding Nm |
|---|---|---|---|
| DN 50-300 | DN 2501-PN 10/16 | 50-125 | 100 |
| 150-300 | 250 |
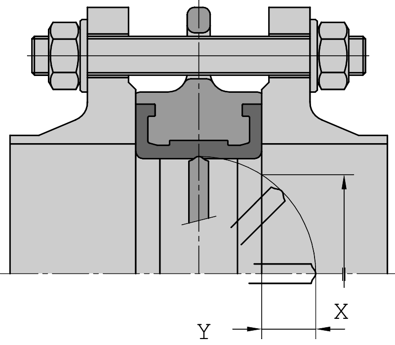
| Mål i mm ("X" modflanges indvendige minimum mål fra centerlinie, for at gå fri af klappen) | ||
| DN | X | Y |
|---|---|---|
| 50 | 26 | 3,5 |
| 65 | 46 | 9,5 |
| 80 | 66 | 17 |
| 100 | 86 | 24 |
| 125 | 112 | 34,5 |
| 150 | 140 | 47 |
| 200 | 191 | 70 |
| 250 | 241 | 92 |
| 300 | 290 | 114 |
Markedschef Industri / Manager Industrial Sales / B.SC. Mech.Engineering
Salgsingeniør Industri / Industrial Sales Engineer
Intern Salg - Teknisk Support / Intern. Sales - Tech. Support
Maskinmester / BTechMan & MarEng - Produktchef / Product Manager