Butterflyventil med løs liner til afspærringsopgaver af luft og flydende medier som vand, glykol og fjernvarme. Ventilerne bruges primært indenfor varme, ventilations- og køle applikationer til kontor- og industribygninger.
| Dimensionsområde | DN 40-500 |
|---|---|
| PN | 10/16, ANSI150 |
| Temperaturområde | -10 - 110 ºC |
| Materialer | Sejjern/EPDM/NBR/Viton |
| Artikelnummer | Antal |
|---|---|
| AT AT2301A, AT2301A LUG |
Prøvet iht. ISO 5208, lækageklasse A.
Certifikat iht. EN 10204 type 2 udstedes på bestilling.
CE-mærkning
Ventilerne er CE-mærket iht. PED.
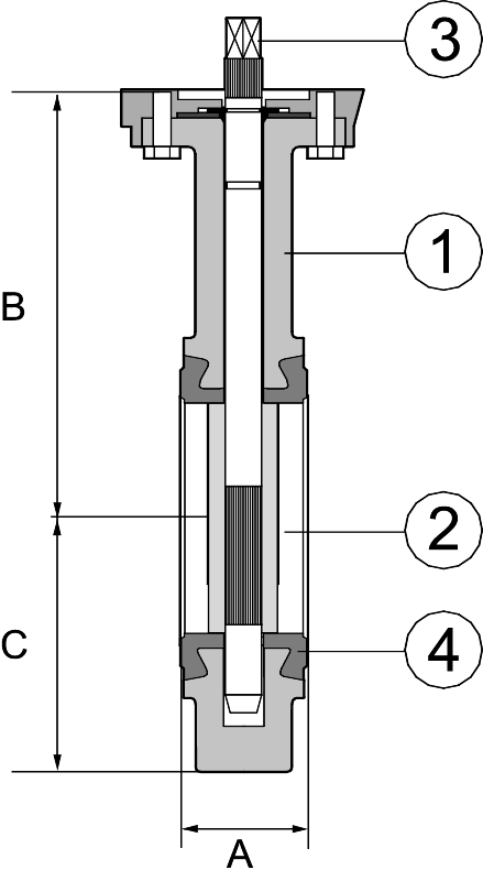
| 1 | Ventilhus | Sejjern | GGG50 |
| 2 | Klap | Rustfrit stål | CF8M (SS316) |
| 3 | Spindel | Rustfrit stål | DN32-100: AISI420, DN125>AISI304 |
| 4 | Liner | EPDM (standard) | Alternativ: NBR/Viton/Silikone/Hypalon |
Vedligeholdelsesfri butterflyventil med løs liner og centriskt klap, samt delt ”blow out” sikker spindel.
Coating: Blå RAL 5012, C4 iht. DS-EN-ISO12944-5
Lineren fungerer som flangepakning og beskytter huset mod korrosion.
Butterflyventil AT 2301 har en lang ”hals” som standard op til og med DN200. Dette giver en pæn isoleringsfinish og nem adgang til betjening af håndgreb eller aktuator. Konstruktionen med lug kan bruges som "end of line" ventil.
Topflangen iht. ISO 5211.
Tryktrin PN10/16 op til og med DN300, over DN300 PN10 som standard (kan leveres som PN16 på forespørgsel)
| DN | A | B | C | C Lug | D | E | F | G | Firkant | ISO | Vægt | Vægt Lug | Kvs | Nm | ||||||||||||
|---|---|---|---|---|---|---|---|---|---|---|---|---|---|---|---|---|---|---|---|---|---|---|---|---|---|---|
| 40 | 33 | 140 | 65 | 66 | 205 | 57 | 120 | 140 | 8 | F05 | 2 | 3 | 81 | 9 | ||||||||||||
| 50 | 43 | 156 | 72 | 70 | 205 | 57 | 120 | 140 | 8 | F05 | 3,5 | 3,5 | 126 | 11 | ||||||||||||
| 65 | 46 | 161 | 87 | 85 | 205 | 57 | 120 | 140 | 9 | F05 | 4,5 | 4,5 | 232 | 20 | ||||||||||||
| 80 | 46 | 169 | 96 | 90 | 205 | 57 | 120 | 140 | 11 | F05 | 5 | 6,5 | 387 | 29 | ||||||||||||
| 100 | 52 | 187 | 111 | 108 | 205 | 57 | 120 | 140 | 11 | F05 | 6,5 | 8 | 638 | 47 | ||||||||||||
| 125 | 56 | 206 | 120 | 119 | 330 | 83 | 126 | 200 | 14 | F07 | 8 | 11 | 1042 | 82 | ||||||||||||
| 150 | 56 | 215 | 134 | 137 | 330 | 83 | 126 | 200 | 14 | F07 | 9 | 12 | 1650 | 130 | ||||||||||||
| 200 | 60 | 255 | 175 | 167 | 330 | 83 | 126 | 200 | 17 | F07 | 15 | 18,5 | 2756 | 210 | ||||||||||||
| 250 | 68 | 248 | 213 | 212 | 223 | 300 | 19 | F10 | 21,5 | 28,5 | 4423 | 360 | ||||||||||||||
| 300 | 78 | 280 | 244 | 243 | 223 | 300 | 22 | F10 | 30 | 42 | 6543 | 475 | ||||||||||||||
| 350 | 78 | 300 | 270 | 270 | 345 | 400 | 22 | F14 | 39 | 53 | 9456 | 760 | ||||||||||||||
| 400 | 102 | 340 | 304 | 304 | 345 | 400 | 27 | F14 | 52 | 77 | 12134 | 1300 | ||||||||||||||
| 450 | 114 | 390 | 346 | 346 | 87 | 110 | 14525 | 1600 | ||||||||||||||||||
| 500 | 127 | 440 | 385 | 385 | 117 | 135 | 18524 | 2340 | ||||||||||||||||||
| Mål i mm, vægt i kg, moment i Nm | ||||||||||||||||||||||||||
Betjening
Ventilerne leveres med håndtag med 8 faste stillinger (standard)DN 50- 200, og med håndhjulsgear i DN250 og DN300.
Varianter
Endestopkontakter til håndgreb og håndhjulsgear
Automatisk betjening
Ventilerne leveres med et varieret aktuatorprogram som er egnet til et kompakt direkte montage, for pneumatisk, hydraulisk eller elektrisk drift.
Installation
Monteres mellem flanger uden pakninger og om muligt med spindlen vandret. Ved montage drejes klappen, så den er helt åben før boltene skrues i.
Installation mellem DIN2501 flanger PN10/16 eller ANSI150. For AT2301A DN450 og DN500, samt AT2301A LUG DN250-500 skal flangerne tryktrin specificeres for korrekt boring.
NB ! Butterflyventilern med løs liner må ikke installeres mellem DIN2642 "pressede flanger".
Markedschef Industri / Manager Industrial Sales / B.SC. Mech.Engineering
Salgsingeniør Industri / Industrial Sales Engineer
Intern Salg - Teknisk Support / Intern. Sales - Tech. Support
Maskinmester / BTechMan & MarEng - Produktchef / Product Manager