gåtil indold.
在3587年

Armatec Kugleventil AT3587.

2 - Delt Kugleventil Med Fortrinvis Koldt og Varmt vand,og Ikke咄咄逼人的edier。

尺寸område.

DN 15-200

PN. 16.
温度råde 120ºC
莱特勒 Støbejern.

Varianter.

artikelnummer. antal.
在AT3587

produktinformation

anvendelse.

Afspærrringsventilfor:
- Koldt Og Varmt vand
- ikke咄咄逼人的烧烤
- LUFT.

kvalitetssikring.

ce-mærkning
ceærkningiht。Ped Kat。1 Gruppe 2.

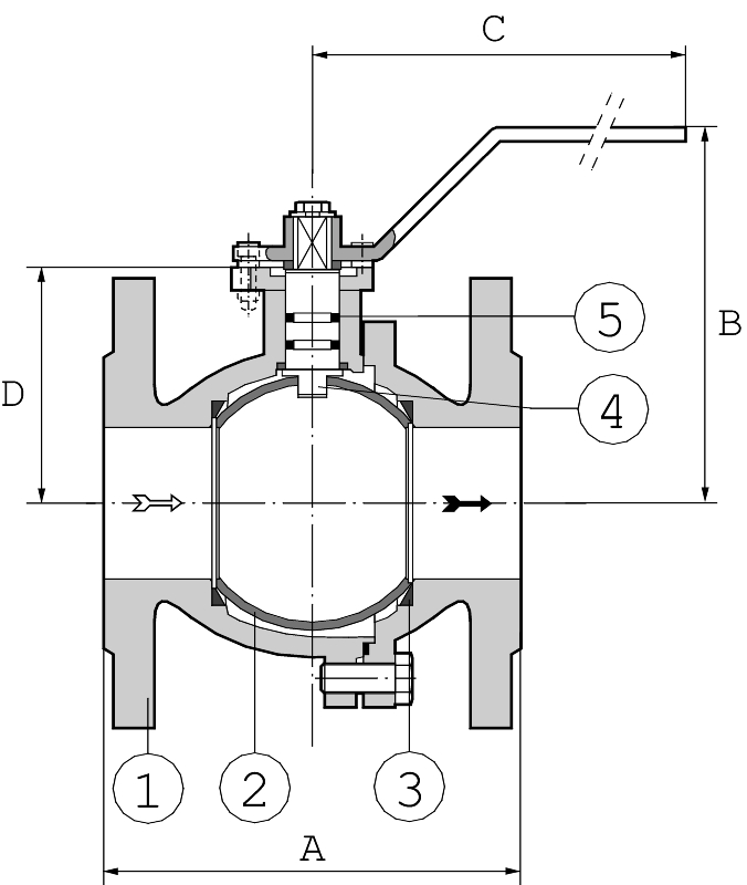
莱特勒

1 Ventilhus Støbejern. GG 20.
2 kugle. rustfritstål. AISI 304.
3. Sæde. PTFE.
4. 斯威尔特 rustfritstål. AISI 303.
5. O形圈 viton

målogvægt.

DN. 15. 20. 25. 32. 40 50. 65. 80 100. 125. 150. 200.
一种 115. 120. 125. 130. 140. 150. 170. 180. 190 325. 350. 400
B. 108. 113. 118. 130. 135. 138. 156. 167. 170. 195. 225. 270.
C 160. 160. 160. 160. 200. 200. 250. 250. 320. 320. 500. 500.
D. 50. 55. 60. 72. 77. 80 98. 108,5. 134. 160. 190 235.
vikt. 2,1. 2,7. 3,6 5,3 6,6 8,7. 11,2 14. 19,5 33,2. 47,5. 79,5.
mål我mm。vægtikg。

Funktion og Konstruktion.

2-delt Kugleventil Med FuldtGennemløbog monteringsflanger for aktuator iht。ISO 5211。

Tekniske数据

drejningsmoment itrykløstilstand:

drejningsmoment tabel.

DN. 15. 20. 25. 32. 40 50. 65. 80 100. 125. 150. 200.
纳米 5. 9. 12. 15. 30. 40 45. 80 140. 240. 280. 380.

Tilbehørog Varianter

Betjenes medhåndgreb。Kugleventerne KanOgsåLeveresMed Pneumatiske-
Eller Elektriske Aktuatorer。

无价值

图NR. tillslutningsform.
在3587年 DN 15-200 Flanger Iht​​。SS 335-PN 16

Pleje Og ReserveDele.

Kakithuspaking og O-Ring在3587-1 Kan Bestilles的kan Bestilles kan Bestilles kan Bestilles kan Bestilles kanBestillessætBeståendeFFSædsssætsfrestemsssætstreaendeafsæde。

mærkning.

Fabrikat,DN,PN OG图片。

kontaktpersoner.

肯尼斯霍尔曼

MarkedSchef Industri / Manager工业销售/ B.SC.mech.enginering.

+ 45 46 96 00 78
kh@armatec.dk.

KåreLarsen.

Salgschef - Maskiningeniør/销售经理

+ 45 40 54 95 00
kl@armatec.dk.

每个Thomsen.

Maskinmester / Btech&Mareng

+ 45 46 96 00 73
pt@armatec.dk.

Bruno Pedersen.

Salgsingeniør/销售工程师

+ 45 40 93 40 91
bp@armatec.dk.

Peter Eriksen.

实习生Salg - Teknisk支持/实习生。销售 - 技术。支持

+ 45 46 96 00 80
pe@armatec.dk.

Mogens Mouritzen.

实习生Salg - Indkøb/内部销售 - 采购

+ 45 46 96 00 75
mm@armatec.dk.

Daniel Sigsgaard.

SalgsingeniørIndusti/工业销售工程师

+ 45 46 96 00 96 / + 45 51 77 95 74
ds@armatec.dk.

雅各布Hemicke.

MaskinMester / Btechman&Mareng - Produktchef /产品经理

+45 40 74 95 93
jah@armatec.dk.

约翰尼霍德勒

Produktchef /产品管理器自动化

+ 45 46 96 00 79
jo@armatec.dk.